LEMON Manuals: Even more car manuals for everyone: 1960-2025
Home >> Lexus >> 2002 >> LS 430 >> Repair and Diagnosis >> Suspension >> Electronic Suspension >> Diagnostic Trouble Code Definitions >> DTC C1787 >> Testing Procedure
April 5, 2026: LEMON Manuals is launched! Read the announcement.

Testing Procedure

For wiring diagram, see Fig 1. For testing procedure, see Fig 2.

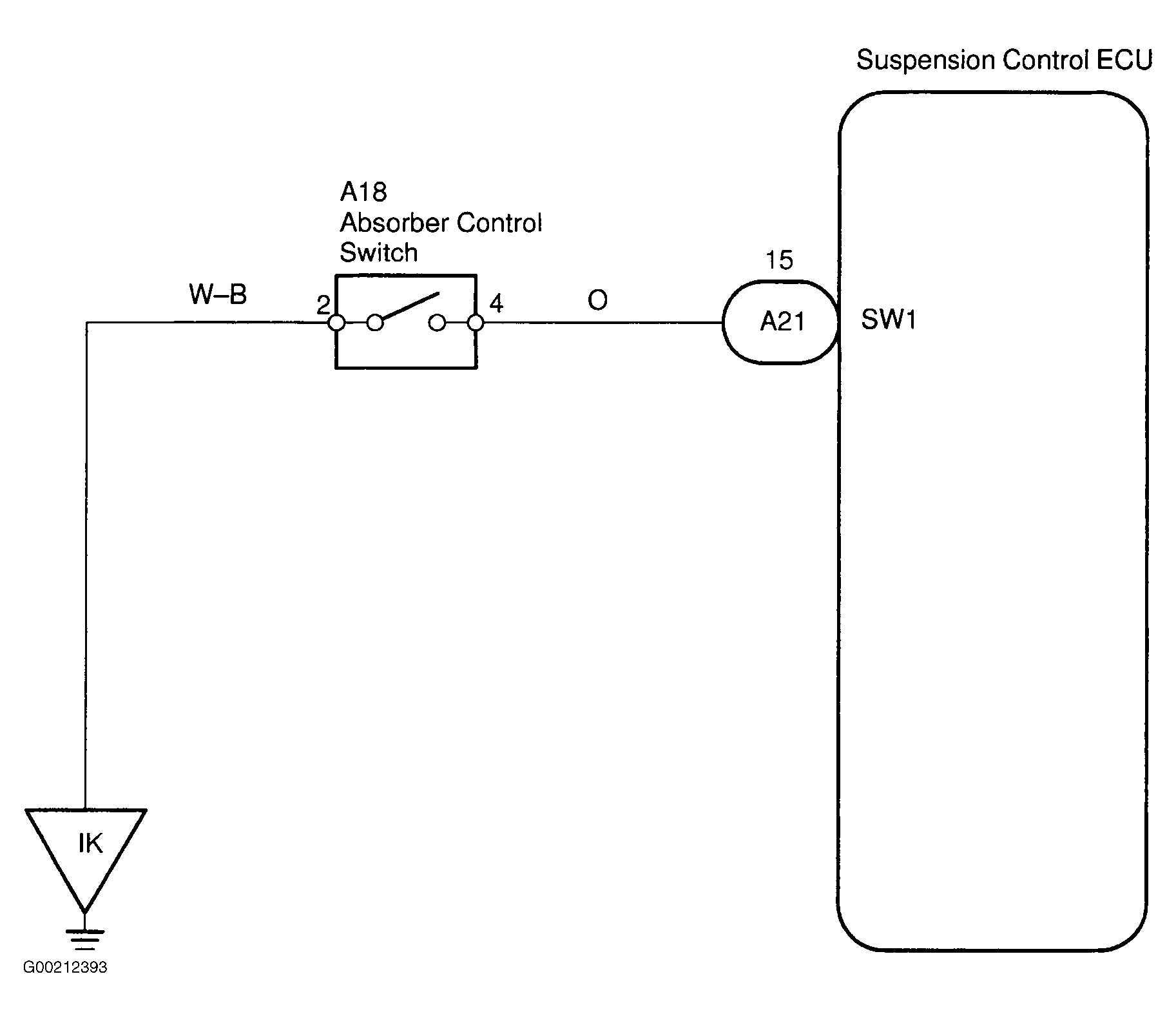
Fig 1: Wiring Diagram Absorber Control Switch Circuit
G00212393Courtesy of © TOYOTA, LICENSE AGREEMENT TMS1002
Fig 2: Testing Procedure Absorber Control Switch Circuit
G00212394Courtesy of © TOYOTA, LICENSE AGREEMENT TMS1002