LEMON Manuals: Even more car manuals for everyone: 1960-2025
Home >> Lexus >> 2002 >> LX 470 >> Repair and Diagnosis >> Transmission >> Transfer Case >> Transfer Case System >> Transfer Unit >> Removal
April 5, 2026: LEMON Manuals is launched! Read the announcement.

Transfer Unit: Removal

  1. RAISE VEHICLE 
    NOTE: Make sure that the vehicle is securely supported.
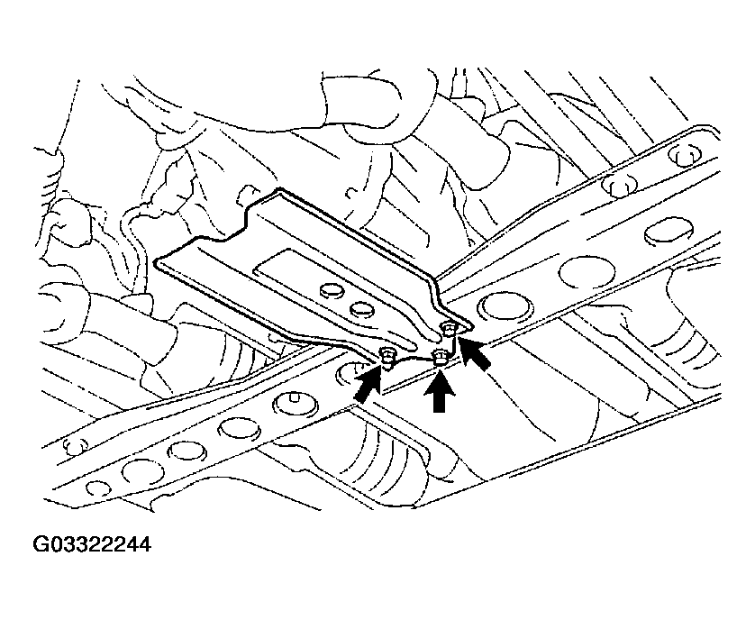
  2. REMOVE TRANSFER CASE PROTECTOR 

    Remove the 3 bolts and transfer case protector.

    Fig 1: Removing Transfer Case Protector Bolts
    G03322244Courtesy of © TOYOTA, LICENSE AGREEMENT TMS1002

    Torque: 28 N.m (290 kgf.cm, 21 ft.lbf) 

  3. DRAIN TRANSFER OIL 
    Fig 2: Identifying Oil Level And Fitter Plug
    G03322245Courtesy of © TOYOTA, LICENSE AGREEMENT TMS1002

    Oil grade: API GL-4 or GL-5 

    Viscosity: SAE 75 W-90 

    Capacity: 1.3 liters (1.4 US qts, 1.1 lmp. qts) 

    Torque: 37 N.m (380 kgf.cm, 27 ft.lbf) 

  4. REMOVE FRONT AND REAR PROPELLER SHAFTS (See  REMOVAL  ) 
  5. DISCONNECT TRANSFER SHIFT LEVER ROD ASSEMBLY 

    Remove the clip, plate washer, wave washer and bushing, and disconnect the transfer shift lever rod assembly.

    Fig 3: Disconnecting Transfer Shift Lever Rod Assembly
    G03322246Courtesy of © TOYOTA, LICENSE AGREEMENT TMS1002
  6. DISCONNECT GROUND CABLE 

    Remove the bolt and disconnect the ground cable from the transfer.

  7. REMOVE CROSSMEMBER 
    1. Support the transmission, as shown in Fig 4.
      Fig 4: Removing Crossmember Nuts And Bolts
      G03322247Courtesy of © TOYOTA, LICENSE AGREEMENT TMS1002
      NOTE: Use a wooden block so not to damage the transmission oil pan.
    2. Remove the 8 bolts, 2 nuts and crossmember.

      Torque: 

      Bolt: 50 N.m (510 kgf.cm, 37 ft.lbf) 

      Nut: 74 N.m (750 kgf.cm, 54 ft.lbf) 

  8. DISCONNECT BREATHER HOSE 
    NOTE: At the time of installation, assemble the clip to the position shown in the illustration.
  9. DISCONNECT NO. 1 VEHICLE SPEED SENSOR, 3 TRANSFER INDICATOR SWITCH AND MOTOR ACTUATOR CONNECTORS 
  10. JACK UP TRANSFER SLIGHTLY 

    Using a transmission jack, support the transfer.

    Fig 5: Disconnecting Breather Hose
    G03322248Courtesy of © TOYOTA, LICENSE AGREEMENT TMS1002
  11. REMOVE TRANSFER FROM TRANSMISSION 
    1. Disconnect the wire harness from the transfer.
      Fig 6: Removing Transfer Adaptor Rear Mounting Bolts
      G03322249Courtesy of © TOYOTA, LICENSE AGREEMENT TMS1002
    2. Remove the 6 transfer adaptor rear mounting bolts.

      Torque: 69 N.m (700 kgf.cm, 51 ft.lbf) 

    3. Pull out the transfer down and toward the rear.