LEMON Manuals: Even more car manuals for everyone: 1960-2025
Home >> Lexus >> 2002 >> SC 430 V8-4.3L (3UZ-FE) >> Repair and Diagnosis >> Powertrain Management >> Computers and Control Systems >> Engine Control Module >> Diagrams >> Diagnostic Aids >> Electronic Circuit Inspection Procedure
April 5, 2026: LEMON Manuals is launched! Read the announcement.

Electronic Circuit Inspection Procedure

ELECTRONIC CIRCUIT INSPECTION PROCEDURE

1. BASIC INSPECTION

a. RESISTANCE MEASURING CONDITION OF ELECTRONIC PARTS
1. Unless stated, all resistance is measured at an ambient temperature of 20° C (680° F). Because the resistance may be outside the specifications if measured at high temperatures immediately after the vehicle has been running, measurements should be made when the engine has cooled down.




b. HANDLING OF CONNECTOR
1. When removing the connector with a lock, press the connector toward the engagement and remove the lock by making the lock claw movable easily.
2. When removing the connector, do not hold the harness, but hold the connector.
3. Before connecting the connector, check that there are no deformation, damage and missing of the terminals.
4. Connection of the connector with a lock should be securely done until it makes a click sound.
5. In case of checking the connector with a Toyota electrical tester, perform it at the back side (harness side) of the connector using a mini test lead.

NOTE:
- Water proof connector cannot be checked from its back side, check by connecting the sub-harness.
- Do not damage the terminals by moving the inserted tester needle.

c. CONNECTOR CHECKING POINTS
1. Checking when the connector is connected:
By holding the connector, check the inserted condition and locking efficiency (engaged condition).




2. Checking when the connector is removed:
Check by pulling the wire harness lightly (missing terminal, terminal crimping condition, core wire break).
Check visually if there is any rust, metal tip, water and bend of terminal (rust, mixing of foreign object, terminal deformation).

NOTE:When testing a gold-plated female terminal, always use a gold-plated male terminal.




3. Checking of the contact pressure of the terminal:
Prepare the same terminal as a male terminal. By inserting it to a female terminal, check the engaged condition and sliding load.




d. REPAIR METHOD OF CONNECTOR TERMINAL
1. In case there is any soil at the contact point, clean the contact point using an air gun or waste cloth. At this time, never polish the contact point using a sand paper as the platings may come oft.
2. In case of abnormal contact pressure, replace the female terminal. At this time, if a male terminal is gold-plated (gold color), use gold-plated female terminals and if it is silver-plated (silver color), use silver-plated female terminals.




e. HANDLING OF WIRE HARNESS
1. In case of removing the wire harness, check the wiring and clamping condition before proceeding the work so that it is restore correctly.
2. Never twist, pull or slack off the wire harness more than necessary.
3. Never make the wire harness come into contact with a high-temperature part, rotating, moving, vibrating or acute-angled part (edge of the panel, tip of the screw, etc.).
4. When installing parts, never sandwich the wire harness between them.
5. Never cut or break the cover of the wire harness. If it is cut or broken, replace it or securely repair it with a vinyl tape.

2. CHECK OPEN CIRCUIT



a. For the open circuit in the wire harness in Fig. 1, perform "(b) Check the continuity" or "(c) Check the voltage" to locate the section.




b. Check the continuity.
1. Disconnect connectors "A" and "C" and measure the resistance between them.
Resistance: 1 Ohm or less

HINT: Measure the resistance while lightly shaking the wire harness vertically and horizontally.

In the case of Fig. 2:
Between terminal 1 of connector "A" and terminal 1 of connector "C" - No continuity (open) Between terminal 2 of connector "A" and terminal 2 of connector "C" - Continuity Therefore, it is found out that there is an open circuit between terminal 1 of connector "A" and terminal 1 of connector "C".




2. Disconnect connector "B" and measure the resistance between the connectors.
In the case of Fig. 3: Between terminal 1 of connector "A" and terminal 1 of connector "B1" Continuity Between terminal 1 of connector "B2" and terminal 1 of connector "C" No continuity (open)
Therefore, it is found out that there is an open circuit between terminal 1 of connector "B2" and terminal 1 of connector "C".




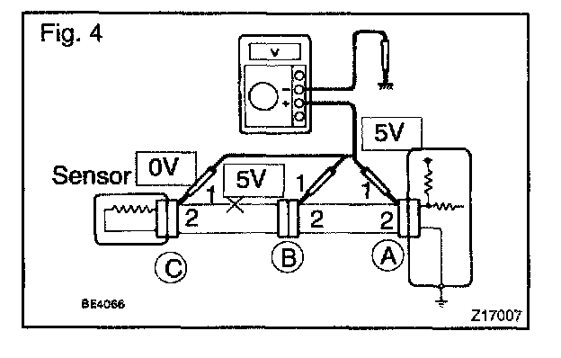
c. Check the voltage.
1. In a circuit in which voltage is applied (to the ECU connector terminal), an open circuit can be checked by conducting a voltage check.
As shown in Fig. 4, with each connector still connected, measure the voltage between the body ground and terminal 1 of connector "A" at the ECU 5 V output terminal, terminal 1 of connector "B", and terminal 1 of connector "C", in that order.

2. If the results are:
5 V: Between Terminal 1 of connector "A" and Body Ground
5 V: Between Terminal 1 of connector "B" and Body Ground
0 V: Between Terminal 1 of connector "C" and Body Ground

Then it is found out that there is an open circuit in the wire harness between terminal 1 of "B" and terminal 1 of "C".

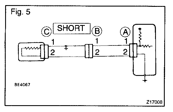
3. CHECK SHORT CIRCUIT




a. If the wire harness is ground shorted as in Fig. 5, locate the section by conducting a "continuity check with ground".




b. Check the continuity with ground.
1. Disconnect connectors "A" and "C" and measure the resistance between terminal 1 and 2 connector "A" and body ground.

Resistance: 1 MOhm or higher

HINT: Measure the resistance while lightly shaking the wire harness vertically and horizontally.

In the case of Fig. 6:
Between terminal 1 of connector "A" and body ground Continuity (short)
Between terminal 2 of connector "A" and body ground -> No continuity
Therefore, it is found out that there is a short circuit between terminal 1 of connector "A" and terminal 1 of connector "C".




2. Disconnect connector "B" and measure the resistance between terminal 1 of connector "A" and body ground, and terminal 1 of connector "B2" and body ground.

In the case of Fig. 7:
Between terminal 1 of connector "A" and body ground -> No continuity
Between terminal 1 of connector "B2" and body ground -> Continuity (short)
Therefore, it is found out that there is a short circuit between terminal 1 of connector "B2" and terminal 1 of connector "C".

4. CHECK AND REPLACE ECU

NOTE:
- Start an inspection of the connector from the backside of the connector in the wire harness side with the connector connected to the ECU.
- When a measuring condition is not specified, perform the inspection with the engine stopped and also the ignition switched ON.

a. First check the ECU ground circuit. If it is faulty, repair it. If it is normal, the ECU could be faulty, so replace the ECU with a normal functioning one and check that the symptoms appear.




1. Measure the resistance between the ECU ground terminal and the body ground.

Resistance: 1 Ohm or less




2. Disconnect the ECU connector, check the ground terminals on the ECU side and the wire harness side for bend and check the contact pressure.