LEMON Manuals: Even more car manuals for everyone: 1960-2025
Home >> Lexus >> 2002 >> SC 430 V8-4.3L (3UZ-FE) >> Repair and Diagnosis >> Powertrain Management >> Computers and Control Systems >> Relays and Modules - Computers and Control Systems >> Main Relay (Computer/Fuel System) >> Testing and Inspection
April 5, 2026: LEMON Manuals is launched! Read the announcement.

Main Relay (Computer/Fuel System): Testing and Inspection





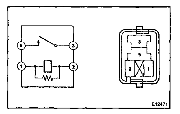
INSPECT E.F.I. CIRCUIT OPENING RELAY ASSEMBLY [85910A]
a. Using an ohmmeter, check that there is continuity between terminals 1 and 2.
b. Check that there is no continuity between terminals 3 and 5.





INSPECT E.F.I ECU RELAY [85910F]
a. Using an ohmmeter, check that there is continuity between terminals 1 and 2.
b. Check that there is no continuity between terminals 3 and 5.








INSPECT FUEL PUMP RELAY ASSEMBLY [28380]
a. Inspect the relay continuity.
1. Using an ohmmeter, check that there is continuity between the terminals.