LEMON Manuals: Even more car manuals for everyone: 1960-2025
Home >> Lexus >> 2002 >> SC 430 >> Repair and Diagnosis (Single Page) >> Brakes >> Traction Control >> Anti-Lock Brake System >> System Testing >> Test A: Abs Sensor Signal Check >> Without Hand-Held Tester
April 5, 2026: LEMON Manuals is launched! Read the announcement.

Without Hand-Held Tester

  1. Turn the ignition switch OFF. Check that the steering wheel is in the straight ahead position and the shift lever is in "P" position.
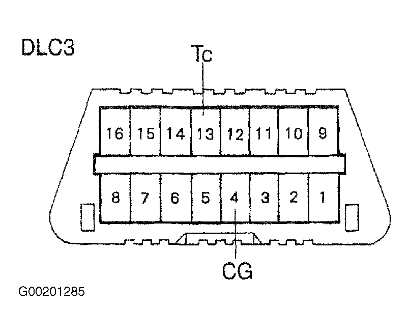
  2. Using Special Tool (09843-18040), connect terminals Ts and CG of DLC3. See Figure.
  3. Turn the ignition switch ON and check that the ABS warning light blinks. If the warning light does not blink, inspect the ABS warning light circuit or Ts terminal circuit. See TEST D: ABS WARNING LIGHT CIRCUIT (DOES NOT LIGHT UP)  and TEST I: TS TERMINAL CIRCUIT .
  4. Ensure the vehicle is in a stationary condition. Leave the brake pedal in free condition for 1 second or more then quickly depress the brake pedal hard for 1 second or more. At this time the ABS warning light goes on for 3 seconds. This step will check the master cylinder pressure sensor.
  5. Drive the vehicle straight forward with the speed faster than 28 mph (48 km/h) for several seconds and check that the ABS warning light turns off. The sensor check may not be completed if the wheels spin or the steering wheel is turned during this check. This will check the speed sensor signal.
  6. Stop the vehicle. Using Special Tool (09843-18040) connect terminals Tc and CG of DLC3. See Figure.
  7. Read the number of blinks of the ABS warning light. See DIAGNOSTIC TROUBLE CODE DEFINITIONS  under SELF-DIAGNOSTIC SYSTEM.