LEMON Manuals: Even more car manuals for everyone: 1960-2025
Home >> Lexus >> 2002 >> SC 430 >> Repair and Diagnosis >> External Pages >> Different car >> Section 184 (Lighting System - Diagnosis) >> Initial Set Control Function Operates, But Headlamp Aiming Does Not Operate (Warning Lamp Lights Up) >> Inspection Procedure
April 5, 2026: LEMON Manuals is launched! Read the announcement.

Inspection Procedure

WARNING: This page is about a different car, the 2004 Lexus ES 330. However, it is still accessible from the selected car via links, so may be relevant.
  1. CHECK HARNESS AND CONNECTOR (BETWEEN HEIGHT CONTROL SENSOR AND HEADLAMP LEVELING ECU) 
    1. Check the continuity of the vehicle side wire harness between headlamp leveling ECU and headlamp leveling motor.

      Standard: There is continuity. 

      NG: REPAIR OR REPLACE HARNESS OR CONNECTOR 

      OK: Go to Next Step 

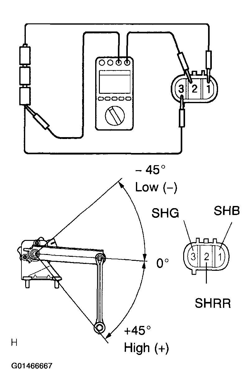
  2. INSPECT HEIGHT CONTROL SENSOR SUB-ASSY REAR RH 
    1. Connect 3 batteries (1.5V) in series.
    2. Connect the battery positive terminal to terminal SHB, and the negative one to terminal SHG to apply the voltage of 4.5 V between terminals SHB and SHG.
    3. While slowly moving the link up and down with the voltage being applied, check the voltage between terminals SHRR and SHG.
      Fig 1: Checking Voltage Between Terminals SHRR & SHG
      G01466667Courtesy of © TOYOTA, LICENSE AGREEMENT TMS1002

      Standard: 

      Fig 2: Height Control Sensor Sub-Assy Rear RH Chart
      G01466666Courtesy of © TOYOTA, LICENSE AGREEMENT TMS1002

      NG: REPLACE HEIGHT CONTROL SENSOR SUB-ASSY REAR RH 

      OK: CHECK AND REPLACE HEADLAMP LEVELING ECU ASSY