LEMON Manuals: Even more car manuals for everyone: 1960-2025
Home >> Lexus >> 2002 >> SC 430 >> Repair and Diagnosis >> External Pages >> Different car >> Section 249 (Smart Key System - Diagnosis) >> Terminals Of Ecu
April 5, 2026: LEMON Manuals is launched! Read the announcement.

Terminals Of Ecu

WARNING: This page is about a different car, the 2004 Lexus LS 430. However, it is still accessible from the selected car via links, so may be relevant.
  1. CHECK THEFT WARNING ECU 
    Fig 1: Identifying Terminals Of ECU
    G01444217Courtesy of © TOYOTA, LICENSE AGREEMENT TMS1002
    1. Disconnect the T5 ECU connector.
    2. Measure the resistance and voltage of each terminal of the wire harness side connector.

      Standard: 

      Fig 2: Voltage Specifications (1 Of 3)
      G01444218Courtesy of © TOYOTA, LICENSE AGREEMENT TMS1002

      If the result is not as specified, there may be a malfunction on the wire harness side.

    3. Reconnect the T5 ECU connector.
    4. Measure the voltage and frequency of each terminal of the connector.

      Standard: 

      Fig 3: Voltage Specifications (2 Of 3)
      G01444219Courtesy of © TOYOTA, LICENSE AGREEMENT TMS1002
    Fig 4: Voltage Specifications (3 Of 3)
    G01444220Courtesy of © TOYOTA, LICENSE AGREEMENT TMS1002

    If the result is not as specified, the theft warning ECU may have a malfunction.

  2. CHECK STEERING LOCK ECU 
    Fig 5: Identifying Steering Lock ECU Terminals
    G01444221Courtesy of © TOYOTA, LICENSE AGREEMENT TMS1002
    1. Disconnect the S46 ECU connector.
    2. Measure the resistance and voltage of each terminal of the wire harness side connector.

      Standard: 

      Fig 6: Resistance Specifications
      G01444222Courtesy of © TOYOTA, LICENSE AGREEMENT TMS1002

      If the result is not as specified, there may be a malfunction on the wire harness side.

    3. Reconnect the S46 ECU connector.
    4. Check the resistance and voltage of each terminal of the connector.

      Standard: 

      Fig 7: Voltage Specifications
      G01444223Courtesy of © TOYOTA, LICENSE AGREEMENT TMS1002

    If the result is not as specified, the steering lock ECU may have a malfunction.

    1. Inspect using an oscilloscope.
      Fig 8: Waveform 1 Reference Table
      G01444224Courtesy of © TOYOTA, LICENSE AGREEMENT TMS1002
      Fig 9: Oscilloscope Waveform
      G01444225Courtesy of © TOYOTA, LICENSE AGREEMENT TMS1002
    2. Inspect using an oscilloscope.
      Fig 10: Waveform 2 Reference Table
      G01444226Courtesy of © TOYOTA, LICENSE AGREEMENT TMS1002
      Fig 11: Oscilloscope Waveform
      G01444227Courtesy of © TOYOTA, LICENSE AGREEMENT TMS1002
    3. Inspect using an oscilloscope.
      Fig 12: Waveform 3 Reference Table
      G01444228Courtesy of © TOYOTA, LICENSE AGREEMENT TMS1002
      Fig 13: Oscilloscope Waveform
      G01444229Courtesy of © TOYOTA, LICENSE AGREEMENT TMS1002
    4. Inspect using an oscilloscope.
      Fig 14: Waveform 4 Reference Table
      G01444230Courtesy of © TOYOTA, LICENSE AGREEMENT TMS1002
      Fig 15: Oscilloscope Waveform
      G01444231Courtesy of © TOYOTA, LICENSE AGREEMENT TMS1002
    5. Inspect using an oscilloscope.
      Fig 16: Waveform 5 Reference Table
      G01444232Courtesy of © TOYOTA, LICENSE AGREEMENT TMS1002
      Fig 17: Oscilloscope Waveform Table
      G01444233Courtesy of © TOYOTA, LICENSE AGREEMENT TMS1002
  3. CHECK DRIVER DOOR ECU 
    Fig 18: Identifying Driver Door ECU Terminal
    G01444234Courtesy of © TOYOTA, LICENSE AGREEMENT TMS1002
    1. Disconnect the D25 ECU connector.
    2. Measure the resistance and voltage of each terminal of the wire harness side connector.

      Standard: 

      Fig 19: Voltage Specifications (1 Of 2)
      G01444235Courtesy of © TOYOTA, LICENSE AGREEMENT TMS1002

      If the result is not as specified, there may be a malfunction on the wire harness side.

    3. Reconnect the D25 ECU connector.
    4. Measure the frequency and voltage of each terminal of the connector.

      Standard: 

      Fig 20: Voltage Specifications (2 Of 2)
      G01444236Courtesy of © TOYOTA, LICENSE AGREEMENT TMS1002

      If the result is not as specified, the driver door ECU may have a malfunction.

  4. CHECK PASSENGER DOOR ECU 
    Fig 21: Identifying Passenger Door ECU Terminals
    G01444237Courtesy of © TOYOTA, LICENSE AGREEMENT TMS1002
    1. Disconnect the F17 ECU connector.
    2. Measure the resistance and voltage of each terminal of the wire harness side connector.

      Standard: 

      Fig 22: Voltage Specifications (1 Of 2)
      G01444238Courtesy of © TOYOTA, LICENSE AGREEMENT TMS1002

      The result is not as specified, there may be a malfunction on the wire harness side.

    3. Reconnect the F17 ECU connector.
    4. Measure the frequency and voltage of each terminal of the connector.

      Standard: 

      Fig 23: Voltage Specifications (2 Of 2)
      G01444239Courtesy of © TOYOTA, LICENSE AGREEMENT TMS1002

      If the result is not as specified, the passenger door ECU may have a malfunction.

  5. CHECK REAR DOOR LH ECU 
    Fig 24: Identifying Rear Door LH ECU Terminals
    G01444240Courtesy of © TOYOTA, LICENSE AGREEMENT TMS1002
    1. Disconnect the R12 and R13 ECU connectors.
    2. Measure the resistance and voltage of each terminal of the wire harness side connectors.

      Standard: 

      Fig 25: Voltage Specifications (1 Of 2)
      G01444241Courtesy of © TOYOTA, LICENSE AGREEMENT TMS1002

      If the result is not as specified, there may be a malfunction on the wire harness side.

    3. Reconnect the R23 and RB ECU connectors.
    4. Measure the frequency and voltage of each terminal of the connectors.

      Standard: 

      Fig 26: Voltage Specifications (2 Of 2)
      G01444242Courtesy of © TOYOTA, LICENSE AGREEMENT TMS1002

      If the result is not as specified, the rear door LH ECU may have a malfunction.

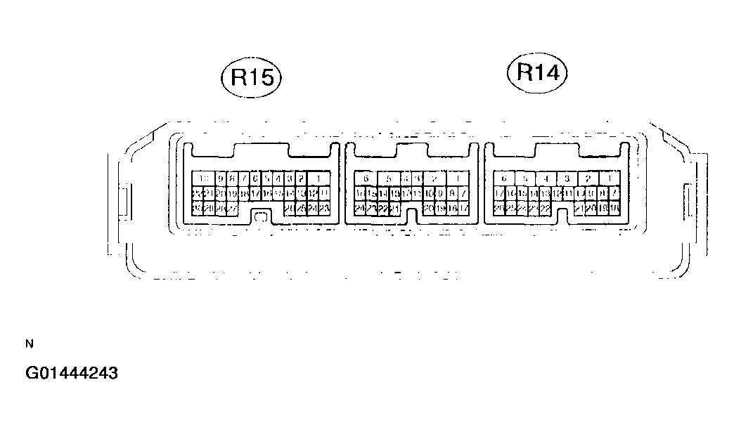
  6. CHECK REAR DOOR RH ECU 
    Fig 27: Identifying Rear Door RH ECU Terminals
    G01444243Courtesy of © TOYOTA, LICENSE AGREEMENT TMS1002
    1. Disconnect the R14 and R15 ECU connectors.
    2. Measure the resistance and voltage of each terminal of the wire harness side connectors.

      Standard: 

      Fig 28: Voltage Specifications (1 Of 2)
      G01444244Courtesy of © TOYOTA, LICENSE AGREEMENT TMS1002

      The result is not as specified, there may be a malfunction on the wire harness side.

    3. Reconnect the R14 and R15 ECU connectors.
    4. Measure the frequency and voltage of each terminal of the connectors

      Standard: 

      Fig 29: Voltage Specifications (2 Of 2)
      G01444245Courtesy of © TOYOTA, LICENSE AGREEMENT TMS1002

      If the result is not as specified, the rear door RH ECU may have a malfunction.

    5. CHECK LUGGAGE ROOM J/B ASSY (LUGGAGE ROOM J/B ECU) 
      Fig 30: Identifying Luggage Room J/B Assy (Luggage Room J/B ECU) Terminals
      G01444246Courtesy of © TOYOTA, LICENSE AGREEMENT TMS1002
      1. Disconnect the LA, LL, L12 and L14 ECU connectors.
      2. Measure the resistance and voltage of each terminal of the wire harness side connectors.

        Standard: 

        Fig 31: Voltage Specifications (1 Of 2)
        G01444247Courtesy of © TOYOTA, LICENSE AGREEMENT TMS1002

        If the result is not as specified, there may be a malfunction on the wire harness side.

    6. Reconnect the LA, LL, L12 and L14 connectors.
    7. Measure the resistance of each terminal of the connector

      Standard: 

      Fig 32: Voltage Specifications (2 Of 2)
      G01444248Courtesy of © TOYOTA, LICENSE AGREEMENT TMS1002

      If the result is not as specified, the luggage room J/B ECU may have a malfunction.