LEMON Manuals: Even more car manuals for everyone: 1960-2025
Home >> Lexus >> 2004 >> ES 330 >> Repair and Diagnosis >> Engine Performance >> Fuel Delivery >> Fuel System >> Fuel System (3MZ-FE) >> Inspection
April 5, 2026: LEMON Manuals is launched! Read the announcement.

Fuel System (3MZ-FE): Inspection

  1. INSPECT FUEL INJECTOR ASSY 
    1. Inspect the resistance.
      1. Using an ohmmeter, measure the resistance between the terminals.

        Standard: 

        Fig 1: Tester Connection Specified Condition Table
        G00906866Courtesy of © TOYOTA, LICENSE AGREEMENT TMS1002

        If the resistance is not as specified, replace the fuel injector.

    2. Check the operation.
      CAUTION:
      • This test involves high-pressure fuel and electricity. Keep the injector free of sparks during the test.
      • Take every precaution regarding safe handling of both the fuel and electricity.
      • Perform this test in a safe area, and avoid any sparks or flame.
      • Do not smoke.
      1. Pull out the fuel tube connector from a new fuel tube.

        HINT:

        Part No. 23801 - 20190

      2. Fig 2: Identifying Fuel Tube Connector
        G00906867Courtesy of © TOYOTA, LICENSE AGREEMENT TMS1002
    3. Connect SST and the fuel tube connector to the fuel pipe.

      SST 09268-41047 (95336-08070)

      CAUTION: After taking the precautions, connect the quick connector.
      Fig 3: Connecting SST And Fuel Tube Connector To Fuel Pipe
      G00906868Courtesy of © TOYOTA, LICENSE AGREEMENT TMS1002
    4. Install the grommet and O-ring to the fuel injector.
    5. Connect SST (a union and hose) to the fuel injector, then hold the fuel injector and union with SST (a clamp).

      SST 09268-41047 (09268-41110, 09268-41300, 95336-08070)

    6. Put the fuel injector into a graduated cylinder.

      HINT:

      Install a suitable vinyl tube to the fuel injector to contain the gasoline spray.

      Fig 4: Connecting SST (Union And Hose) To Fuel Injector
      G00906869Courtesy of © TOYOTA, LICENSE AGREEMENT TMS1002
    7. Operate the fuel pump (see ON-VEHICLE INSPECTION  ).
    8. Connect SST (a wire) to the fuel injector and battery for 15 seconds, then measure the injection volume with the graduated cylinder. Test each fuel injector 2 or 3 times.

      SST 09842-30070

      Fig 5: Measuring Injection Volume (1 Of 2)
      G00906870Courtesy of © TOYOTA, LICENSE AGREEMENT TMS1002

      Standard: 

      Fig 6: Measuring Injection Volume (2 Of 2)
      G00906871Courtesy of © TOYOTA, LICENSE AGREEMENT TMS1002
      NOTE: Always do switching at battery side.

      If injection volume is not as specified, replace fuel injector.

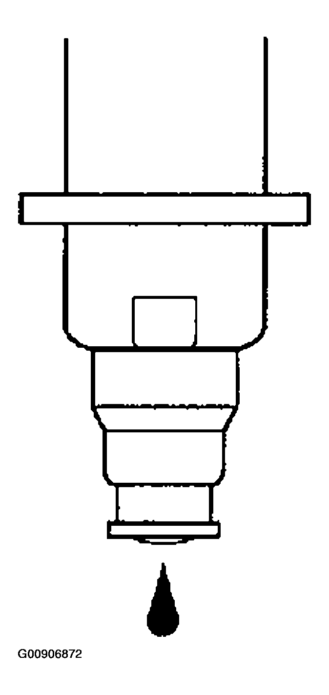
  2. Inspect the leakage.
    1. In the condition of step (7), disconnect the test probes of SST (a wire) from the battery, then check the fuel leakage from the fuel injector.
      Fig 7: Inspecting Leakage
      G00906872Courtesy of © TOYOTA, LICENSE AGREEMENT TMS1002

      Fuel drop: 1 drop or less per 12 minutes 

      If the fuel drop is not as specified, replace the fuel injector.

  3. INSPECT FUEL PUMP 
    1. Inspect the resistance.
        Fig 8: Inspecting Fuel Pump (1 Of 2)
        G00906873Courtesy of © TOYOTA, LICENSE AGREEMENT TMS1002
      1. Using an ohmmeter, measure the resistance between the terminals.

        Standard: 

        Fig 9: Inspecting Fuel Pump (2 Of 2)
        G00906874Courtesy of © TOYOTA, LICENSE AGREEMENT TMS1002

        If the resistance is not as specified, replace the fuel pump.

    2. Check the operation.
      1. Apply battery positive voltage across the terminals.
      2. Check that the fuel pump operates.
      NOTE:
      • These tests must be performed quickly (within 10 seconds) to prevent burnout of the coil.
      • Keep the fuel pump as far away from the battery as possible.
      • Always do the switching at the battery side.

      If the operation is not as specified, replace the fuel pump.

      Fig 10: Checking Fuel Pump Operations
      G00906875Courtesy of © TOYOTA, LICENSE AGREEMENT TMS1002