LEMON Manuals: Even more car manuals for everyone: 1960-2025
Home >> Lexus >> 2004 >> ES 330 >> Repair and Diagnosis >> External Pages >> Different car >> Section 174 (Skid Control Sensor (Fwd)) >> Replacement
April 5, 2026: LEMON Manuals is launched! Read the announcement.

Section 174 (Skid Control Sensor (Fwd)): Replacement

WARNING: This page is about a different car, the 2004 Toyota Sienna. However, it is still accessible from the selected car via links, so may be relevant.
NOTE: Replace the RH side by the same procedure as the LH side.
  1. REMOVE REAR WHEEL 
  2. SEPARATE SKID CONTROL SENSOR WIRE 
    1. Disconnect the connector from the skid control sensor.
    Fig 1: Disconnecting Connector From Skid Control Sensor
    G03062815Courtesy of © TOYOTA, LICENSE AGREEMENT TMS1002
  3. REMOVE REAR BRAKE DRUM SUB-ASSY (DRUM REAR BRAKE TYPE) 
    1. Place matchmarks on the rear brake drum sub-assy and the axle hub.
    2. Remove the rear brake drum sub-assy.
  4. REMOVE REAR DISC BRAKE CALIPER ASSY LH (DISC REAR BRAKE TYPE) 
    1. Remove the 2 bolts and rear brake caliper assy LH.
  5. REMOVE REAR DISC (DISC REAR BRAKE TYPE) 
    1. Place matchmarks on the rear disc and the axle hub.
    2. Remove the rear disc.
  6. REMOVE REAR AXLE HUB & BEARING ASSY LH (See  WHEEL HUB & BEARING ASSEMBLY (2WD MODELS)  ) 
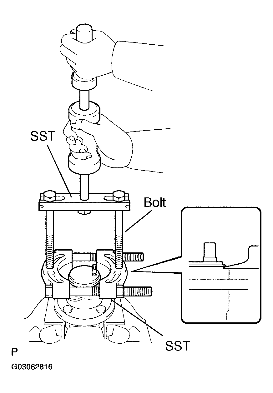
  7. REMOVE SKID CONTROL SENSOR 
    1. Mount the rear axle hub in a soft jaw vise.
      NOTE: Replace the axle hub assembly if it is dropped or a strong shock is given to it.
    2. Using a pin punch and hammer, drive out the 2 pins and remove the 2 attachments from SST.
    3. Using SST and 2 bolts (Diameter: 12 mm, pitch: 1.5 mm), remove the skid control sensor from the rear axle hub.

      SST 09520-00031 (09520-00040), 09521-00020, 09950-00020

      NOTE:
      • If a damage is inflicted to the sensor rotor is damaged, replace the axle hub assembly.
      • Do not scratch the contacting surface of the axle hub and speed sensor.
      Fig 2: Removing Skid Control Sensor From Rear Axle Hub
      G03062816Courtesy of © TOYOTA, LICENSE AGREEMENT TMS1002
  8. INSTALL SKID CONTROL SENSOR 
    1. Clean the contacting surface of the axle hub and a new skid control sensor.
      NOTE: Keep the sensor rotor clean.
    2. Place the speed sensor on the axle hub so that the connector is positioned as shown in the illustration.
      Fig 3: Identifying Speed Sensor Position On Axle Hub
      G03062817Courtesy of © TOYOTA, LICENSE AGREEMENT TMS1002
    3. Using SST and a press, install the skid control sensor to the axle hub.

      SST 09214-7601 1

      NOTE:
      • Do not tap the skid control sensor with a hammer directly.
      • Check that there is no foreign matter on the skid control sensor detection portion.
      • Press in the skid control sensor straight and slowly.
      Fig 4: Installing Skid Control Sensor To Axle Hub
      G03062818Courtesy of © TOYOTA, LICENSE AGREEMENT TMS1002
  9. INSTALL REAR AXLE HUB & BEARING ASSY LH (See  WHEEL HUB & BEARING ASSEMBLY (2WD MODELS)  ) 
  10. INSTALL REAR BRAKE DRUM SUB-ASSY (DRUM REAR BRAKE TYPE) 
    1. Aligning the matchmarks, install the rear brake drum sub-assy.
  11. INSTALL REAR DISC (DISC REAR BRAKE TYPE) 
    1. Aligning the matchmarks, install the rear disc.
  12. INSTALL REAR DISC BRAKE CALIPER ASSY LH (DISC REAR BRAKE TYPE) 
    1. Install the rear disc brake caliper assy LH with the 2 bolts.

      Torque: 88 N.m (900 kgf.cm, 65 ft.lbf) 

  13. CONNECT SKID CONTROL SENSOR WIRE 
    1. Connect the connector to the skid control sensor connector.
    Fig 5: Connecting Connector To Skid Control Sensor Connector
    G03062819Courtesy of © TOYOTA, LICENSE AGREEMENT TMS1002
  14. INSTALL REAR WHEEL 

    Torque: 103 N.m (1,050 kgf.cm, 76 ft.lbf) 

  15. INSPECT AND ADJUST REAR WHEEL ALIGNMENT (See  INSPECTION  ) 
  16. CHECK ABS SPEED SENSOR SIGNAL (See  PRE-CHECK  )