LEMON Manuals: Even more car manuals for everyone: 1960-2025
Home >> Lexus >> 2004 >> ES 330 >> Repair and Diagnosis >> External Pages >> Different car >> Section 309 (Lighting System - Diagnostics) >> Lighting System >> Ignition Switch Circuit >> Inspection Procedure
April 5, 2026: LEMON Manuals is launched! Read the announcement.

Inspection Procedure

WARNING: This page is about a different car, the 2005 Toyota Sienna. However, it is still accessible from the selected car via links, so may be relevant.

HINT: 

Start the inspection from step  1 in the case of using the hand-held tester, and start from step  2 in the case of not using the hand-held tester.

  1. READ VALUE OF HAND-HELD TESTER 
    1. Connect the hand-held tester to DLC3.
    2. Turn the ignition switch ON and push the hand-held tester, main switch ON.
    3. Select the items below in the DATA LIST, and read the displays on the hand-held tester,

    BODY NO.1: 

    DIAGNOSIS PROCEDURE (BODY NO. 1)

    Item Measurement Item/ Display (Range) Normal Condition Diagnostic Note
    ACC SW ACC SW signal/ON or OFF ON: Ignition key is in ACC, ON or START position
    OFF: Ignition key is in OFF position
    -
    IG SW IG SW signal/ ON or OFF ON: Ignition key is in ON or START position
    OFF: Ignition key is in OFF or ACC position
    -
    1. OK: PROCEED TO NEXT CIRCUIT INSPECTION SHOWN IN  PROBLEM SYMPTOMS TABLE  
    2. NG: GO TO NEXT STEP 
  2. INSPECT FUSE 
    1. Inspect the ECU ACC fuse, ECU-IG fuse and AM1 fuse in instrument panel junction block assy.
    1. NG: REPLACE FUSE 
    2. OK: GO TO NEXT STEP 
  3. INSPECT RELAY 
    1. Inspect ACC relay continuity.

      Standard: 

      ACC RELAY

      Condition Tester connection Specified condition
      Always 1-2 Continuity
      Always 3-5 No continuity
      Apply B+ between the terminal 1 and 2 3-5 Continuity
      Fig 1: Inspecting ACC Relay Circuit
      G02630052Courtesy of © TOYOTA, LICENSE AGREEMENT TMS1002
    2. Inspect IG1 relay continuity.

      Standard: 

      IG1 RELAY

      Condition Tester connection Specified condition
      Always 1-2 Continuity
      Always 3-5 No continuity
      Apply B+ between the terminal 1 and 2 3-5 Continuity
    Fig 2: Inspecting IG1 Relay Circuit
    G02630053Courtesy of © TOYOTA, LICENSE AGREEMENT TMS1002
    1. NG: REPLACE RELAY 
    2. OK: GO TO NEXT STEP 
  4. INSPECT INSTRUMENT PANEL JUNCTION BLOCK ASSY (ACC, IG) 
    1. Measure the voltage between the terminals as shown in Fig 3 .

      Standard: 

      Fig 3: Instrument Panel Junction Block Table (ACC, IG)
      G02630054Courtesy of © TOYOTA, LICENSE AGREEMENT TMS1002
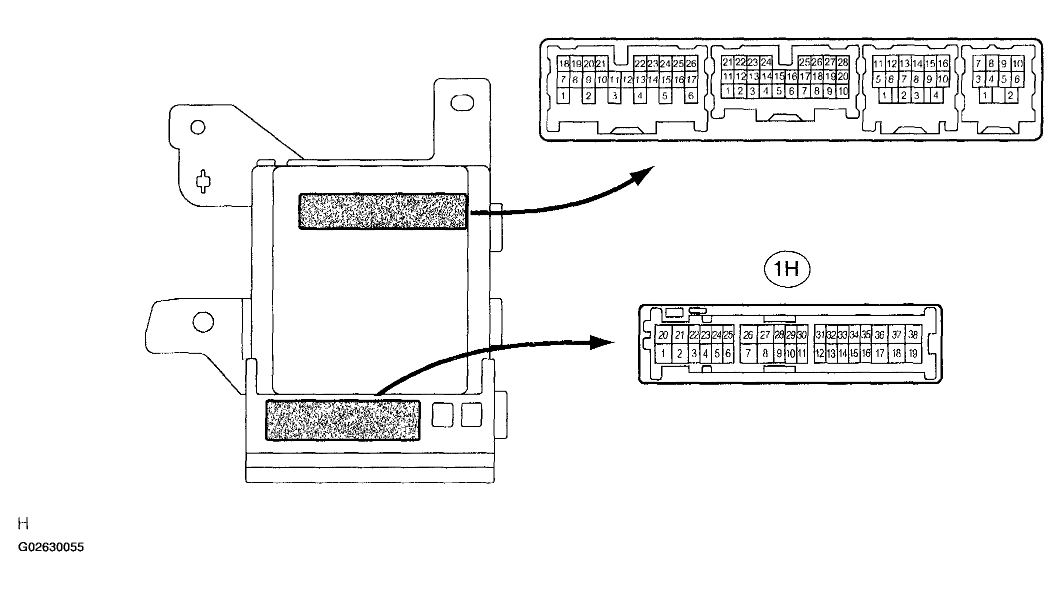
    Fig 4: Identifying Instrument Panel Junction Block Assy (ACC, IG)
    G02630055Courtesy of © TOYOTA, LICENSE AGREEMENT TMS1002
    1. OK: PROCEED TO NEXT CIRCUIT INSPECTION SHOWN IN  PROBLEM SYMPTOMS TABLE  
    2. NG: GO TO NEXT STEP 
  5. INSPECT INSTRUMENT PANEL JUNCTION BLOCK ASSY (+B) 
    1. Measure voltage between the terminal 1A-1 of the instrument panel junction block assy and body ground.

      Standard: 

      INSTRUMENT PANEL JUNCTION BLOCK ASSY AND BODY GROUND (1 OF 2)

      Tester connection Specified voltage
      1A-1 - Body ground 10 to 14 V
    Fig 5: Identifying Instrument Panel Junction Block Assy (+B)
    G02630056Courtesy of © TOYOTA, LICENSE AGREEMENT TMS1002
    1. NG: REPAIR OR REPLACE HARNESS OR CONNECTOR 
    2. OK: GO TO NEXT STEP 
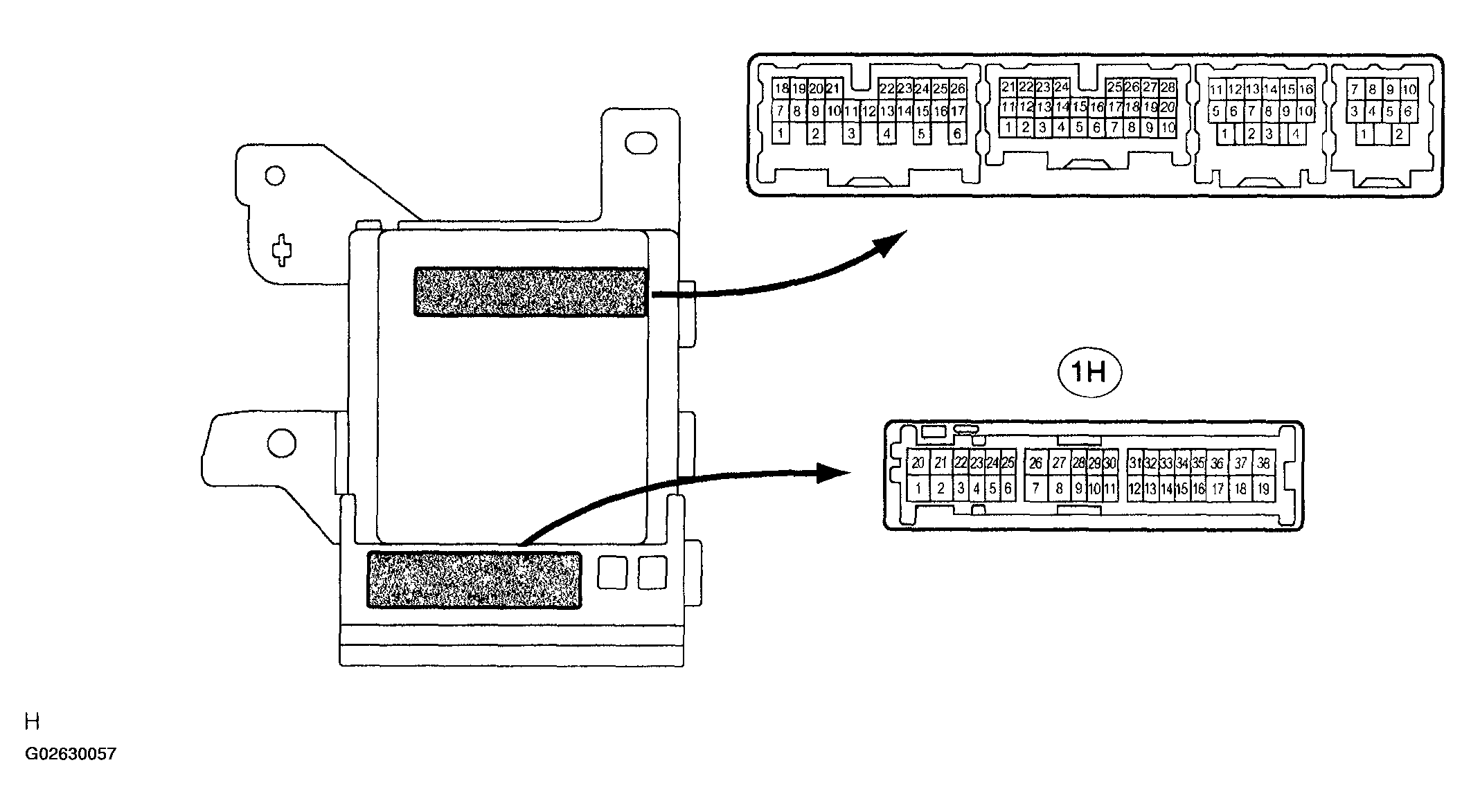
  6. INSPECT INSTRUMENT PANEL JUNCTION BLOCK ASSY 
    1. Measure voltage between the terminal 1H-10 of the instrument panel junction block assy and body ground.

      Standard: 

      INSTRUMENT PANEL JUNCTION BLOCK ASSY AND BODY GROUND (2 OF 2)

      Tester connection Condition Specified voltage
      1H-10 - Body ground Always 10 to 14 V
    Fig 6: Identifying Instrument Panel Junction Block Assy
    G02630057Courtesy of © TOYOTA, LICENSE AGREEMENT TMS1002
    1. NG: REPLACE INSTRUMENT PANEL JUNCTION BLOCK ASSY 
    2. OK: REPAIR OR REPLACE HARNESS OR CONNECTOR