LEMON Manuals: Even more car manuals for everyone: 1960-2025
Home >> Lexus >> 2004 >> GS 300 >> Repair and Diagnosis >> Body & Frame >> Mirrors >> Power Mirror Control System >> Inspection
April 5, 2026: LEMON Manuals is launched! Read the announcement.

Power Mirror Control System: Inspection

  1. USA/CANADA models: INSPECT MIRROR SWITCH CONTINUITY 
    TESTER CONNECTION SPECIFICATION

    Switch position Tester connection Resistance (Ω)
    LEFT 8-9 100
    RIGHT 8-9 0
    illumination 5-6 Continuity

    Measure resistance between terminals 7 and 9.

    RESISTANCE SPECIFICATION

    Switch position Resistance (Ω)
    UP Approx. 100
    RIGHT 250
    DOWN 470
    LEFT 800

    If continuity is not as specified, replace the switch.

    Fig 1: Inspecting Mirror Switch Continuity (USA/CANADA Models)
    G03471296Courtesy of © TOYOTA, LICENSE AGREEMENT TMS1002
  2. USA/CANADA models: INSPECT MIRROR SWITCH CIRCUIT (See  MIRROR SWITCH CIRCUIT  ) 
  3. TAIWAN model: INSPECT MIRROR SWITCH CONTINUITY 
    TESTER CONNECTION SPECIFICATION

    Switch position Tester connection Resistance (Ω)
    LEFT 8-9 100
    RIGHT 8-9 0
    Illumination 5-6 Continuity

    Measure resistance between terminals 7 and 9.

    RESISTANCE SPECIFICATION

    Switch position Resistance (Ω)
    UP Approx. 100
    RIGHT 250
    DOWN 470
    LEFT 800

    If continuity is not as specified, replace the switch.

  4. TAIWAN model: INSPECT RETRACT SWITCH CONTINUITY 
    TESTER CONNECTION SPECIFICATION

    Switch position Tester connection Specified condition
    OFF - No continuity
    ON 1 -2 Continuity

    If continuity is not as specified, replace the switch.

  5. TAIWAN model: INSPECT MIRROR SWITCH CIRCUIT (See  MIRROR SWITCH CIRCUIT  ) 
    Fig 2: Inspecting Mirror Switch Circuit (Taiwan Model)
    G03471297Courtesy of © TOYOTA, LICENSE AGREEMENT TMS1002
  6. w/o Driving position memory: INSPECT MIRROR MOTOR OPERATION 
    1. Connect the positive (+) lead from the battery to terminal. 4 and the negative (-) lead to terminal 5, and check that the mirror turns to the left side.
      Fig 3: Checking Mirror Turns To Left Side (W/O Driving Position Memory)
      G03471298Courtesy of © TOYOTA, LICENSE AGREEMENT TMS1002
    2. Reverse the polarity, and check that the mirror turns to the right side.
      Fig 4: Checking Mirror Turns To Right Side (W/O Driving Position Memory)
      G03471299Courtesy of © TOYOTA, LICENSE AGREEMENT TMS1002
    3. Connect the positive (+) lead from the battery to terminal 6 and the negative (-) lead to terminal 5, and check that the mirror turns upward.
      Fig 5: Checking Mirror Turns Upward (W/O Driving Position Memory)
      G03471300Courtesy of © TOYOTA, LICENSE AGREEMENT TMS1002
    4. Reverse the polarity, and check that the mirror turns downward.

    If operation is not as specified, replace the mirror assembly.

  7. w/o Driving position memory: INSPECT MIRROR MOTOR CIRCUIT 

    Left side: (See  MIRROR MOTOR CIRCUIT  ) 

    Right side: (See  MIRROR MOTOR CIRCUIT  ) 

    Fig 6: Checking Mirror Turns Downward (W/O Driving Position Memory)
    G03471301Courtesy of © TOYOTA, LICENSE AGREEMENT TMS1002
  8. w/ Driving position memory: INSPECT MIRROR MOTOR OPERATION 
    1. Connect the positive (+) lead from the battery to terminal 1 and the negative (-) lead to terminal 2, and check that the mirror turns to the left side.
      Fig 7: Checking Mirror Turns To Left Side (W/ Driving Position Memory)
      G03471302Courtesy of © TOYOTA, LICENSE AGREEMENT TMS1002
    2. Reverse the polarity, and check that the mirror turns to the right side.
      Fig 8: Checking Mirror Turns To Right Side (W/ Driving Position Memory)
      G03471303Courtesy of © TOYOTA, LICENSE AGREEMENT TMS1002
    3. Connect the positive (+) lead from the battery to terminal 6 and the negative (-) lead to terminal 2, and check that the mirror turns upward.
      Fig 9: Checking Mirror Turns Upward (W/ Driving Position Memory)
      G03471304Courtesy of © TOYOTA, LICENSE AGREEMENT TMS1002
    4. Reverse the polarity, and check that the mirror turns downward.

    If operation is not as specified, replace the mirror assembly.

  9. w/ Driving position memory: INSPECT MIRROR MOTOR CIRCUIT 

    Left side: (See  MIRROR MOTOR CIRCUIT  ) 

    Right side: (See  MIRROR MOTOR CIRCUIT  ) 

    Fig 10: Checking Mirror Turns Downward (W/ Driving Position Memory)
    G03471305Courtesy of © TOYOTA, LICENSE AGREEMENT TMS1002
  10. w/ Driving position memory only: INSPECT MIRROR POSITION SENSORS OPERATION 

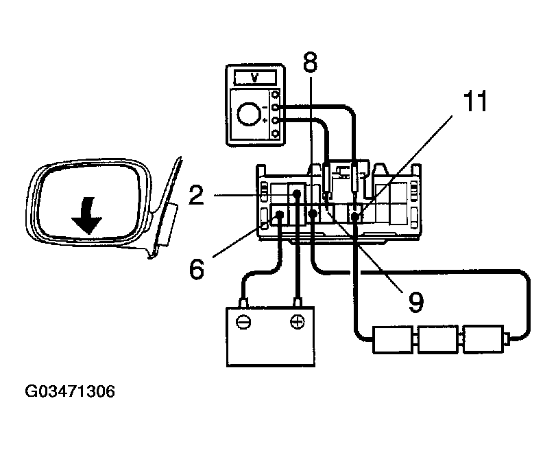
    HINT:

    Strip off the vinyl tape of the connector and remove terminals 1, 2, 6, 8, 9, 10 and 11 from the connector housing.

    1. Connect a series of three 1.5 V dry cell batteries.
      Fig 11: Inspecting Mirror Position Sensors Operation (1 Of 4)
      G03471306Courtesy of © TOYOTA, LICENSE AGREEMENT TMS1002
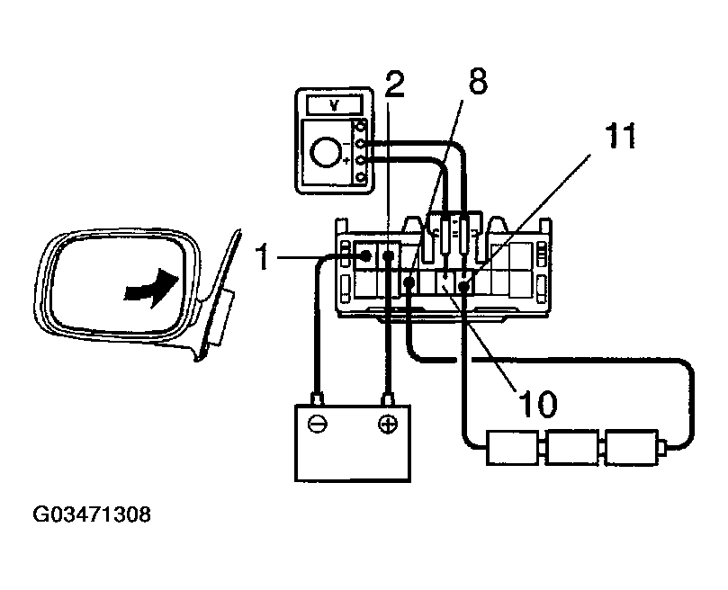
    2. Connect the positive (+) lead from the dry cell batteries to terminal 8 and the negative (-) lead to terminal 11.
    3. Connect the positive (+) lead from the voltmeter to terminal 9 and the negative (-) lead to terminal 11.
    4. Apply battery positive voltage to terminals 2 and 6, then check that the voltage gradually changes according to the table below while the mirror moves between the uppermost position and lowermost position.
      MIRROR POSITION

      Mirror position Lowermost Mirror position Uppermost
      Voltage 2.8-5.0 Changes gradually 0-1.8

      If voltage value is not as specified, replace the motor assembly.

      Fig 12: Inspecting Mirror Position Sensors Operation (2 Of 4)
      G03471307Courtesy of © TOYOTA, LICENSE AGREEMENT TMS1002
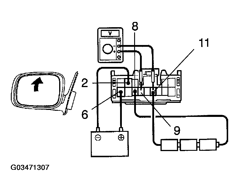
    5. Disconnect the 4 leads of the battery and voltmeter.
    6. Connect the positive (+) lead from the voltmeter to terminal 10 and negative (-) lead to terminal 11.
    7. Apply battery positive voltage to terminals 1 and 2, then inspect that the voltage gradually changes according to the table below while the mirror moves between the left-most position and right-most position.
    Fig 13: Inspecting Mirror Position Sensors Operation (3 Of 4)
    G03471308Courtesy of © TOYOTA, LICENSE AGREEMENT TMS1002
    MIRROR POSITION

    Mirror position Left-most Mirror position Right-most
    Voltage LEFT 2.8-5.0 Changes gradually 0-1.8
    Voltage RIGHT 0-1.8 Changes gradually 2.8-5.0

    If voltage value is not as specified, replace the motor assembly.

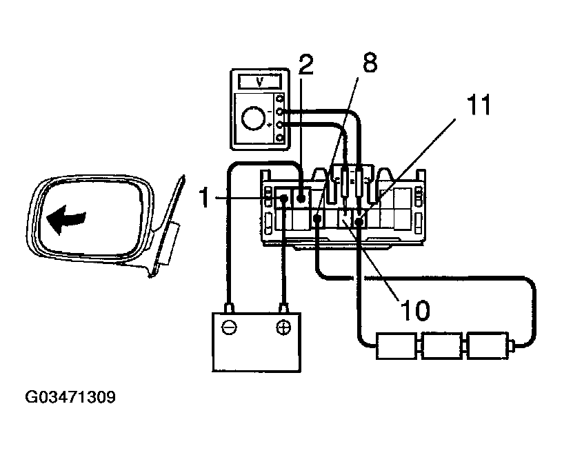
  11. w/ Driving position memory only: INSPECT MIRROR POSITION SENSORS CIRCUIT Left side: (See  MIRROR POSITION SENSOR CIRCUIT (W/ MEMORY)  ) Right side (See  MIRROR POSITION SENSOR CIRCUIT (W/ MEMORY)  ) 
    Fig 14: Inspecting Mirror Position Sensors Operation (4 Of 4)
    G03471309Courtesy of © TOYOTA, LICENSE AGREEMENT TMS1002
  12. INSPECT DRIVING POSITION MEMORY AND RETURN SWITCH CONTINUITY 
    TESTER CONNECTION SPECIFICATION

    Switch position Tester connection Specified condition
    SET switch ON 1-7 Continuity
    Return SW1 ON 1-3 Continuity
    Return SW2 ON 1-5 Continuity
    Fig 15: Inspecting Driving Position Memory And Return Switch Continuity
    G03471310Courtesy of © TOYOTA, LICENSE AGREEMENT TMS1002

    If continuity is not as specified, replace the switch.

  13. INSPECT DRIVING POSITION MEMORY AND RETURN SWITCH CIRCUIT (See  MEMORY SWITCH CIRCUIT (W/MEMORY)  ) 
  14. TAIWAN models: INSPECT ELECTRICAL RETRACT MOTOR OPERATION 
    1. When folded front position:
      1. Connect the positive (+) lead from the battery to terminal 1 and negative (-) lead to terminal 2, check that the mirror operates at retract position.
      2. Reverse the polarity, check that the mirror does not operate.

      If operation is not as specified, replace the mirror assembly.

    2. Between folded front position and driving position:
      1. Connect the positive (+) lead from the battery to terminal 1 and negative (-) lead to terminal 2, check that the mirror operates at retract position.
      2. Reverse the polarity, check that the mirror operate at folded front position.
      Fig 16: Inspecting Electrical Retract Motor Operation
      G03471311Courtesy of © TOYOTA, LICENSE AGREEMENT TMS1002

      If operation is not as specified, replace the mirror assembly.

    3. When driving position:
      1. Connect the positive (+) lead from the battery to terminal 1 and negative (-) lead to terminal 2, check that the mirror operates at retract position.
      2. Reverse the polarity, check that the mirror does not operate.

      If operation is not as specified, replace the mirror assembly.

    4. Between driving position and retract position:
      1. Connect the positive (+) lead from the battery to terminal 1 and negative (-) lead to terminal 2, check that the mirror operates at retract position.
      2. Reverse the polarity, check that the mirror operate at return position (Stopping at driving position).

      If operation is not as specified, replace the mirror assembly.

    5. When retract position:
      1. Connect the positive (+) lead from the battery to terminal 1 and negative (-) lead to terminal 2, check that the mirror does not operates.
      2. Reverse the polarity, check that the mirror operate at return position (Stopping at driving position).

      If operation is not as specified, replace the mirror assembly.