LEMON Manuals: Even more car manuals for everyone: 1960-2025
Home >> Lexus >> 2004 >> GS 430 >> Repair and Diagnosis >> Electrical >> Gauges >> Combination Meter >> Inspection
April 5, 2026: LEMON Manuals is launched! Read the announcement.

Combination Meter: Inspection

  1. Connector disconnected: INSPECT COMBINATION METER CIRCUIT 

    Disconnect connector "A" and "B" from the combination meter and inspect the connectors on the wire harness side as shown in the table.

    Fig 1: Disconnecting Connector "A" And "B" From Combination Meter
    G03471125Courtesy of © TOYOTA, LICENSE AGREEMENT TMS1002
    TESTER CONNECTION SPECIFICATION

    Tester connection Condition Specified condition
    A1 - Ground Ignition switch ON Battery positive voltage
    A3 - A4 Constant Continuity
    A7 - Ground Light control switch HEAD and headlight dimmer switch HI Continuity
    A8 - Ground B22 - Ground Constant Continuity
    A10 - Ground Window washer level warning switch Float down Continuity
    B1 - Ground Ignition switch ON Battery positive voltage
    B4 - B6 Constant Approx. 10 kΩ
    B5 - B6 Turn light control rheostat to bright position Approx. 0 kΩ
    B5 - B6 Turn light control rheostat to dark position Approx. 10 kΩ
    B13 - Ground Constant Battery positive voltage
    B14 - Ground Constant Battery positive voltage
    B15 - Ground Light control switch in HEAD Battery positive voltage

    If circuit is not as specified, wiring diagram and inspect the circuits connected to other parts.

  2. Warning light circuit plate: INSPECT COMBINATION METER CIRCUIT PLATE 
    1. Remove meter cover.
    2. Disconnect connectors "C", "D", "E", "F" and "G" from the meter circuit plate and inspect the connectors on the wire harness side as shown in the table.
      Fig 2: Disconnect Connectors C, D, E, F And G From Meter Circuit Plate
      G03471126Courtesy of © TOYOTA, LICENSE AGREEMENT TMS1002
    TESTER CONNECTION SPECIFICATION

    Tester connection Check indicator light Specified condition
    D10 (+) - D12 (-) Fuel level warning light Continuity
    D6 (+) - D8 (-) Headlight indicator light (USA) Taillight indicator light (CANADA) Continuity
    D2 (+) - D4 (-) Hi-beam indicator light Continuity
    C3 (+) - C7 (-) Engine oil level warning light Continuity
    C3 (+) - C5 (-) Malfunction indicator light Continuity
    E19 (-) - E20 (+) Slip warning light Continuity
    E18 (-) - E20 (+) TRAC OFF indicator light Continuity
    E17 (-) - E20 (+) Window washer level warning light Continuity
    E16 (-) - E20 (+) ABS warning light Continuity
    E15 (-) - E20 (+) VSC OFF indicator light Continuity
    E14 (-) - E20 (+) Brake warning light Continuity
    E13 (-) - E20 (+) ECT SNOW indicator light Continuity
    E12 (-) - E20 (+) Low oil pressure warning light Continuity
    E11 (-) - E20 (+) ECT.PWR indicator light Continuity
    E10 (-) - E20 (+) Discharge warning light Continuity
    E9 (-) - E20 (+) CRUISE MAIN indicator light Continuity
    E8 (-) - E20 (+) Seat belt warning light Continuity
    E7 (-) - E20 (+) Rear Lights warning light Continuity
    E6 (-) - E20 (+) Headlight leveling indicator Continuity
    E4 (+) - E5 (-) SRS warning light Continuity
    E3 (-) - E4 (+) Open door warning light Continuity
    F4 (-) - F12 (+) A/T shift indicator light (L) Continuity
    F11 (-) - F12 (+) A/T shift indicator light (2) Continuity
    F10 (-) - F12 (+) A/T shift indicator light (3) Continuity
    F8 (-) - F12 (+) A/T shift indicator light (P) Continuity
    F5 (-) - F12 (+) A/T shift indicator light (R) Continuity
    F2 (-) -F12 (+) A/T shift indicator light (N) Continuity
    F1 (-) - F12 (+) A/T shift indicator light (D) Continuity
    G1 (+) - G5 (-) Left turn signal indicator light Continuity
    G6 (+) - G5 (-) Right turn signal indicator light Continuity

    If circuit is not as specified, replace the bulb or circuit plate.

  3. From combination meter ECU to gauges: INSPECT COMBINATION METER CIRCUIT PLATE 
    Fig 3: Inspecting Combination Meter Circuit Plate
    G03471127Courtesy of © TOYOTA, LICENSE AGREEMENT TMS1002
    TERMINAL RESISTANCE

    Terminal Resistance (Ω)
    01 - 03
    (Engine coolant temperature receiver gauge)
    Approx. 164.2
    02 - 04
    (Engine coolant temperature receiver gauge)
    Approx. 151.8
    P1 - P4 (Tachometer) Approx. 164.2
    P2 - P3 (Tachometer) Approx. 151.8
    Q1 - Q4 (Speedometer) Approx. 164.2
    Q2 - Q3 (Speedometer) Approx. 151.8
    R1 - R4 (Fuel receiver gauge) Approx. 164.2
    R2 - R3 (Fuel receiver gauge) Approx. 151.8

    If circuit is not as specified, inspect the gauge or meter.

    Then recheck system.

    If circuit is not as specified, replace the circuit plate.

  4. From combination meter ECU to telltale light assembly: INSPECT COMBINATION METER CIRCUIT PLATE 

    Disconnect connector "G" and "U" from the meter circuit plate and inspect the connectors on the wire harness side as follows.

    Fig 4: Disconnecting Connector "G" And "U" From Meter Circuit Plate
    G03471128Courtesy of © TOYOTA, LICENSE AGREEMENT TMS1002
    TESTER CONNECTION SPECIFICATION

    Tester connection Specified condition
    G1 - U9 Continuity
    G3 - U1 Continuity
    G5 - U10 Continuity
    G6 - U4 Continuity
    G7 - U3 Continuity
    G8 - U8 Continuity

    If circuit is not as specified, replace the circuit plate.

  5. INSPECT TELLTALE LIGHT ASSEMBLY CONTINUITY 
    TESTER CONNECTION SPECIFICATION

    Switch position Tester connection Condition
    ODO/TRIP switch Free 3 - 10 No continuity
    ODO/TRIP switch Pushed in 3 - 10 Continuity
    RESET switch Free 8 - 10 No continuity
    RESET switch Pushed in 8 - 10 Continuity
    Turn signal switch RIGHT 4 - 10 Continuity
    Turn signal switch LEFT 9 - 10 Continuity

    If continuity is not as specified, replace the telltale light assembly.

    Fig 5: Inspecting Telltale Light Assembly Continuity
    G03471129Courtesy of © TOYOTA, LICENSE AGREEMENT TMS1002
  6. INSPECT SPEEDOMETER ON-VEHICLE 

    Using a speedometer tester, inspect the speedometer for allowable indication error and check the operation of the odometer

    HINT:

    Tire wear and tire over or under inflation will increase the indication error.

    SPEEDOMETER TESTER SPECIFICATION

    USA (mph) CANADA (km/h)
    Standard indication Allowable range Standard indication Allowable range
    20 18 - 24 20 17 - 24
    40 38 - 44 40 38 - 46
    60 56 - 66 60 57.5 - 67
    80 78 - 88 80 77 - 88
    100 98 - 110 100 96 - 109
    120 118 - 132 120 115 - 130
    140 134 - 151.5
    160 153 - 173

    If error is excessive, replace the speedometer.

  7. INSPECT SPEEDOMETER RESISTANCE 

    Measure the resistance between terminals with fixing pointer to the stopper.

    TESTER CONNECTION SPECIFICATION

    Tester connection Resistance (Ω)
    A - B 140 - 185
    C - D 130 - 175

    If resistance value is not as the specified, replace the meter.

    Fig 6: Locating Speedometer Tester Connection
    G03471130Courtesy of © TOYOTA, LICENSE AGREEMENT TMS1002
  8. INSPECT TACHOMETER/ON-VEHICLE 
    1. Connect a tune-up test tachometer, and start the engine.
      NOTE:
      • Reversing the connection of the tachometer will damage the transistors and diodes inside.
      • When removing or installing the tachometer, be careful not to drop or subject it to heavy shocks.
    2. Compare the tester and tachometer indications.

    DC 13.5 V 25 °C at (77°F) 

    STANDARD INDICATION

    Standard indication Allowable range
    700 630 - 770
    1,000 900 - 1,100
    2,000 1,850 - 2,150
    3,000 2,800 - 3,200
    4,000 3,800 - 4,200
    5,000 4,800 - 5,200
    6,000 5,750 - 6,250
    7.000 6,700 - 7,300
  9. INSPECT TACHOMETER RESISTANCE 

    Measure the resistance between terminals with fixing pointer to the stopper.

    TESTER CONNECTION SPECIFICATION

    Tester connection Resistance (Ω)
    A - B 140 - 185
    C - D 130 - 175

    If resistance value is not as specified, replace the meter.

    Fig 7: Locating Tachometer Tester Connection
    G03471131Courtesy of © TOYOTA, LICENSE AGREEMENT TMS1002
  10. INSPECT FUEL RECEIVER GAUGE OPERATION (See  FUEL GAUGE  ) 
    1. Disconnect the connector from the main sender gauge.
    2. Turn the ignition switch ON, check that the receiver gauge needle indicates EMPTY.
      Fig 8: Disconnecting Connector From Main Sender Gauge
      G03471132Courtesy of © TOYOTA, LICENSE AGREEMENT TMS1002
    3. Connect the main sender gauge.
    4. Disconnect the connector from the sub sender gauge.
    5. Turn the ignition switch ON, check that the receiver gauge needle indicates EMPTY.

    HINT:

    Because of the silicon oil in the gauge, it will take a short time for needle to stabilize.

    If operation is not as specified, inspect the receiver gauge resistance.

    Fig 9: Connecting Main Sender Gauge
    G03471133Courtesy of © TOYOTA, LICENSE AGREEMENT TMS1002
  11. INSPECT FUEL RECEIVER GAUGE RESISTANCE 

    Measure the resistance between terminals with fixing pointer to the stopper.

    TESTER CONNECTION SPECIFICATION

    Tester connection Resistance (Ω)
    A - B 140 - 185
    C - D 130 - 175

    If resistance value is not as specified, replace the receiver gauge.

    Fig 10: Locating Fuel Receiver Gauge Tester Connection
    G03471134Courtesy of © TOYOTA, LICENSE AGREEMENT TMS1002
  12. INSPECT FUEL MAIN SENDER GAUGE RESISTANCE 

    Measure the resistance between terminals 1 and 2 for each float position.

    FLOAT POSITION RESISTANCE

    Float position mm (in.) Resistance (Ω)
    F: Approx. 34.6 (1.36) +/- 3 (0.12) Approx. 2.0 +/- 1.0
    1/2: Approx. 52.4 (2.06) +/- 3 (0.12) Approx. 26.1 +/- 3.0
    E: Approx. 134.9 (5.31) +/- 3 (0.12) Approx. 48.7 +/- 1.0

    If resistance value is not as specified, replace the main sender gauge.

    Fig 11: Measuring Resistance Between Terminals 1 And 2 For Float Position
    G03471135Courtesy of © TOYOTA, LICENSE AGREEMENT TMS1002
  13. INSPECT FUEL SUB SENDER GAUGE RESISTANCE 

    Measure the resistance between terminals 1 and 2 for each float position.

    FLOAT POSITION RESISTANCE

    Float position mm (in.) Resistance (Ω)
    F: Approx. 9.5 (0.37) +/- 3 (0.12) Approx. 2.0 +/- 1.0
    1/2: Approx. 110.5 (4.35) +/- 3 (0.12) Approx. 33.0 +/- 3.0
    E: Approx. 206.5 (8.13) +/- 3 (0.12) Approx. 61.3 +/- 1.0

    If resistance value is not as specified, replace the sub sender gauge.

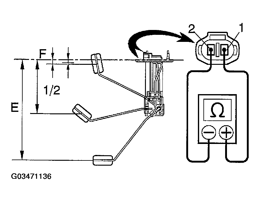
  14. INSPECT ENGINE COOLANT TEMPERATURE RECEIVER GAUGE OPERATION (See  ENGINE COOLANT TEMPERATURE GAUGE  ) 
    Fig 12: Inspecting Engine Coolant Temperature Receiver Gauge Operation (See Page Di-1273)
    G03471136Courtesy of © TOYOTA, LICENSE AGREEMENT TMS1002
  15. INSPECT ENGINE COOLANT TEMPERATURE RECEIVER GAUGE RESISTANCE 

    Measure the resistance between terminals with fixing pointer to the stopper.

    TESTER CONNECTION SPECIFICATION

    Tester connection Resistance (Ω)
    A - B 140 - 185
    C - D 130 - 175

    If resistance value is not as specified, replace the receiver gauge.

    HINT:

    This circuit includes the diode.

    If resistance value is not as specified, replace the receiver gauge.

    Fig 13: Identifying Fixing Pointer Stopper
    G03471137Courtesy of © TOYOTA, LICENSE AGREEMENT TMS1002
  16. INSPECT LOW OIL PRESSURE WARNING LIGHT 
    1. Disconnect the connector from the warning switch and ground terminal on the wire harness side connector.
    2. Turn the ignition switch ON and check that the warning light lights up.

    If the warning light does not light up, test the bulb.

    Fig 14: Inspecting Low Oil Pressure Warning Light
    G03471138Courtesy of © TOYOTA, LICENSE AGREEMENT TMS1002
  17. INSPECT LOW OIL PRESSURE SWITCH CONTINUITY 
    1. Disconnect the connector from the switch.
    2. Check that continuity exists between terminal and ground with the engine stopped.
    3. Check that no continuity exists between terminal and ground with the engine running.

    HINT:

    Oil pressure should be over 24.5 kPa (0.25 kgf/cm2 , 3.55 psi).

    If operation is not as specified, replace the switch.

    Fig 15: Inspecting Low Oil Pressure Switch Continuity
    G03471139Courtesy of © TOYOTA, LICENSE AGREEMENT TMS1002
  18. INSPECT BRAKE WARNING LIGHT 
    1. Disconnect the connector from the brake fluid warning switch.
    2. Release the parking brake pedal.
    3. Connect the terminals on the wire harness side of the level warning switch connector.
    4. Start the engine, check that the warning light lights up.

    If the warning light does not light up, test the bulb or wire harness.

    Fig 16: Inspecting Brake Warning Light
    G03471140Courtesy of © TOYOTA, LICENSE AGREEMENT TMS1002
  19. INSPECT BRAKE FLUID LEVEL WARNING SWITCH CONTINUITY 
    1. Remove the reservoir tank cap and strainer.
    2. Disconnect the connector.
    3. Check that no continuity exists between the terminals with the switch OFF (float up).
      Fig 17: Inspecting Brake Fluid Level Warning Switch Continuity
      G03471141Courtesy of © TOYOTA, LICENSE AGREEMENT TMS1002
    4. Use siphon, etc. to take fluid out of the reservoir tank.
    5. Check that continuity exists between the terminals with the switch ON (float down)
    6. Pour the fluid back in the reservoir tank.

    If operation is not as specified, replace the switch.

  20. INSPECT BRAKE FLUID LEVEL WARNING SWITCH CIRCUIT (See  BRAKE FLUID LEVEL WARNING SWITCH CIRCUIT  ) 
  21. INSPECT PARKING BRAKE SWITCH CONTINUITY 
    1. Check that continuity exists between the terminal and switch body with the switch ON (switch pin released).
    2. Check that no continuity exists between the terminal and switch body with the switch OFF (switch pin pushed in).
    Fig 18: Inspecting Parking Brake Switch Continuity
    G03471142Courtesy of © TOYOTA, LICENSE AGREEMENT TMS1002

    If operation is not as specified, replace the switch or inspect ground point.

  22. INSPECT PARKING BRAKE SWITCH CIRCUIT (See  PARKING BRAKE SWITCH CIRCUIT  ) 
  23. INSPECT REAR LIGHTS WARNING LIGHT (See  LAMP FAILURE SENSOR CIRCUIT  ) 
    1. Disconnect the connector from the light failure sensor and ground terminal 3 on the wire harness side connector.
    2. Start the engine, check that the warning light lights up.

    If the warning light does not light up, inspect the bulb or wire harness.

    Fig 19: Inspecting Rear Lights Warning Light
    G03471143Courtesy of © TOYOTA, LICENSE AGREEMENT TMS1002
  24. INSPECT LIGHT FAILURE SENSOR CIRCUIT 

    Disconnect connector from the light failure sensor and inspect the connectors on the wire harness side as follows.

    Fig 20: Disconnecting Connector From Light Failure Sensor
    G03471144Courtesy of © TOYOTA, LICENSE AGREEMENT TMS1002
    TESTER CONNECTION SPECIFICATION

    Tester connection Condition Specified condition
    1 - Ground Constant Continuity (1)
    2 - Ground Constant Continuity(1)
    6 - Ground Constant Continuity(1)
    7 - Ground Constant Continuity(1)
    11 - Ground Constant Continuity
    12 - Ground Constant Continuity(1)
    5 - Ground Light control switch OFF No voltage
    5 - Ground Light control switch in TAIL or HEAD Battery positive voltage
    8 - Ground Ignition switch in LOCK or ACC No voltage
    8 - Ground Ignition switch ON Battery positive voltage
    9, 10 - Ground Stop light switch OFF No voltage
    9, 10 - Ground Stop light switch ON Battery positive voltage
    (1) There is resistance because this circuit is grounded through the bulb.

    If circuit is as specified, replace the relay.

    If circuit is not as specified, wiring diagram and inspect the circuits connected to other parts.

  25. INSPECT ENGINE OIL LEVEL WARNING LIGHT 
    1. Disconnect the connector from the switch.
    2. Run the engine.
    3. Turn the ignition switch ON, check that the warning light lights up approximately 40 seconds later.

    If the warning light does not light up, inspect bulb or wire harness.

    Fig 21: Inspecting Engine Oil Level Warning Light
    G03471145Courtesy of © TOYOTA, LICENSE AGREEMENT TMS1002
  26. INSPECT ENGINE OIL LEVEL WARNING SENSOR 
    1. Check that continuity exists between terminals with the switch to below 40 °C (104 °F). (Warning switch ON)
    2. Heat the switch to above 60 °C (140 °F) in an oil bath.
      Fig 22: Inspecting Engine Oil Level Warning Sensor
      G03471146Courtesy of © TOYOTA, LICENSE AGREEMENT TMS1002
    3. Check that there is continuity between terminals with the switch ON (float up).
    4. Check that there is no continuity between terminals with the switch OFF (float down).

    If operation is not as specified, replace the switch.

    Fig 23: Checking Continuity Between Terminals With Switch On (Float Up)
    G03471147Courtesy of © TOYOTA, LICENSE AGREEMENT TMS1002
  27. INSPECT ENGINE OIL LEVEL WARNING SENSOR CIRCUIT 

    Disconnect the switch connector and inspect the connector on wire harness side, as shown.

    Fig 24: Inspecting Connector On Wire Harness Side
    G03471148Courtesy of © TOYOTA, LICENSE AGREEMENT TMS1002
    TESTER CONNECTION SPECIFICATION

    Tester connection Condition Specified condition
    2 - Ground Constant Continuity

    If continuity is not as specified, inspect the wire harness or ground point.

  28. INSPECT OPEN DOOR WARNING LIGHT 

    Disconnect the connector from the door courtesy switch and ground terminal 1 on the wire harness side, and check that the warning light lights up.

    If the warning light does not light up, inspect the bulb or wire harness.

  29. INSPECT DOOR COURTESY SWITCH CONTINUITY AND CIRCUIT (See  INSPECTION  ) 
    Fig 25: Inspecting Open Door Warning Light
    G03471149Courtesy of © TOYOTA, LICENSE AGREEMENT TMS1002
  30. INSPECT LIGHT CONTROL RHEOSTAT OPERATION 

    Gradually, turn the rheostat knob from the bright side to dark side and check that the resistance decreases from 10 kΩ to 0 Ω between terminal 4 and 5. (Rheostat knob turned to clockwise)

    If operation is not as specified, replace the rheostat light control.

    Fig 26: Checking Resistance Decreases From 10 KΩ To 0 Ω Between Terminal 4 And 5
    G03471150Courtesy of © TOYOTA, LICENSE AGREEMENT TMS1002
  31. INSPECT WINDOW WASHER LEVEL WARNING LIGHT 
    1. Disconnect the connector from the warning switch and ground terminal on the wire harness side connector.
    2. Engine running and check that the warning light lights up.

    If the warning light does not light up, inspect the bulb or wire harness.

    Fig 27: Disconnecting Connector From Warning Switch And Ground Terminal On Wire Harness Side Connector
    G03471151Courtesy of © TOYOTA, LICENSE AGREEMENT TMS1002
  32. INSPECT WINDOW WASHER LEVEL WARNING SWITCH CONTINUITY 
    1. Check that no continuity exists between the terminals with the switch OFF (float up).
    2. Check that continuity exists between the terminals with the switch ON (float down).

    If operation is not as specified, replace the switch or inspect ground point.

    Fig 28: Inspecting Window Washer Level Warning Switch Continuity
    G03471152Courtesy of © TOYOTA, LICENSE AGREEMENT TMS1002
  33. INSPECT SEAT BELT WARNING LIGHT 
    1. Disconnect the connector from the retractor switch and ground terminal on the wire harness side connector.
    2. Turn the ignition switch ON and check that the warning light lights up.

    If the warning light does not light up, inspect the bulb or wire harness.

    Fig 29: Disconnecting Connector From Retractor Switch And Ground Terminal On Wire Harness Side Connector
    G03471153Courtesy of © TOYOTA, LICENSE AGREEMENT TMS1002
  34. INSPECT SEAT BELT BUCKLE SWITCH CONTINUITY 
    1. Check that continuity exists between the terminals 1 and 4 on the switch side connector with the switch ON (belt fastened).
    2. Check that continuity exists between the terminals 2 and 4 on the switch side connector with the switch OFF (belt unfastened).

    If operation is not as specified, replace the switch.

    Fig 30: Inspecting Seat Belt Buckle Switch Continuity
    G03471154Courtesy of © TOYOTA, LICENSE AGREEMENT TMS1002
  35. INSPECT SEAT BELT BUCKLE SWITCH CIRCUIT 

    Disconnect the switch connector and inspect the connector on wire harness side, as shown.

    Fig 31: Inspecting Connector On Wire Harness Side
    G03471155Courtesy of © TOYOTA, LICENSE AGREEMENT TMS1002
    TESTER CONNECTION SPECIFICATION

    Tester connection Condition Specified condition
    4 - Ground Constant Continuity

    If continuity is not as specified, inspect the circuits connected to other parts.