LEMON Manuals: Even more car manuals for everyone: 1960-2025
Home >> Lexus >> 2004 >> GS 430 >> Repair and Diagnosis >> External Pages >> Different car >> Section 274 (Front Wheel Alignment) >> Front Wheel Alignment >> Adjustment
April 5, 2026: LEMON Manuals is launched! Read the announcement.

Front Wheel Alignment: Adjustment

WARNING: This page is about a different car, the 2004 Lexus GX 470. However, it is still accessible from the selected car via links, so may be relevant.
  1. INSPECT TIRE (See  INSPECTION  ) 
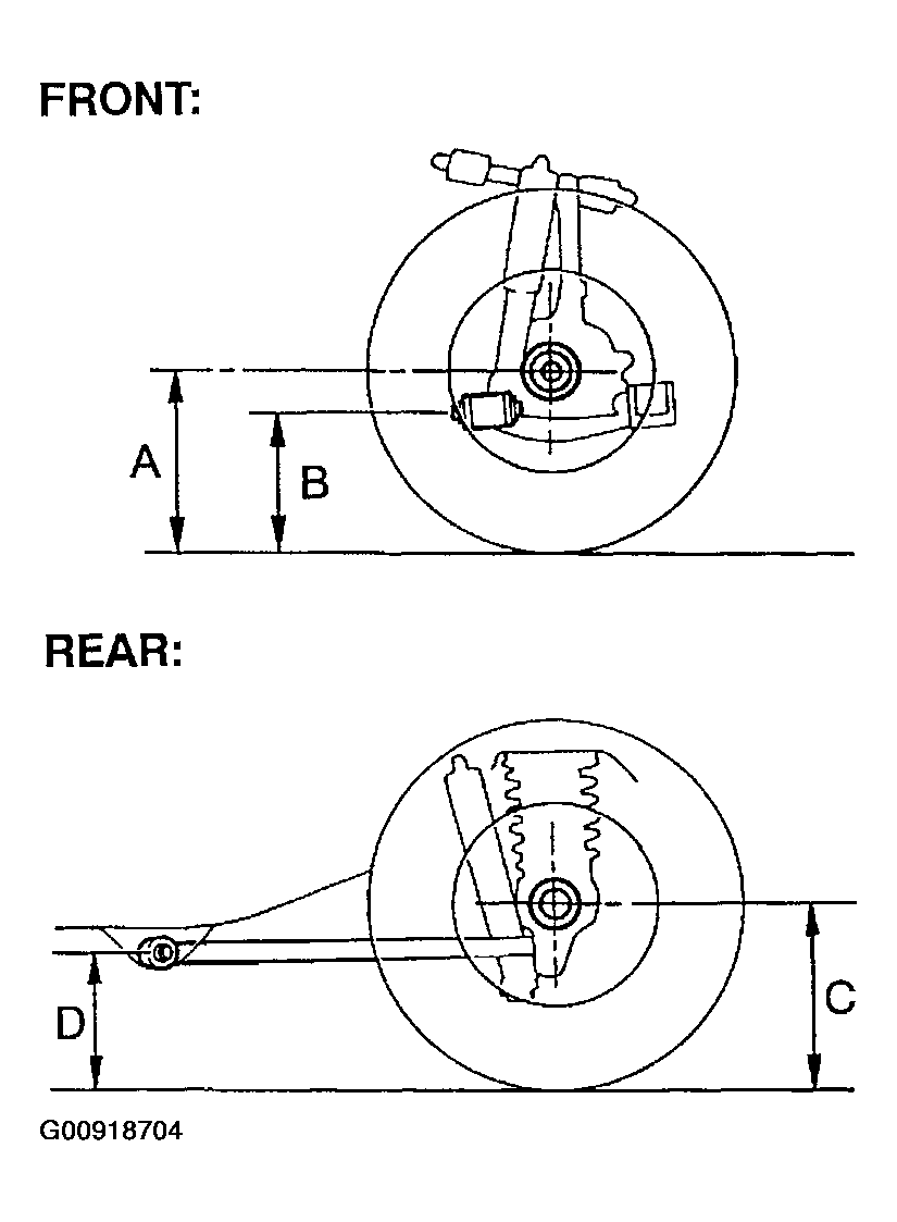
  2. MEASURE VEHICLE HEIGHT 

    Vehicle height: 

    Fig 1: Identifying Vehicle Height Specification Chart
    G00918704Courtesy of © TOYOTA, LICENSE AGREEMENT TMS1002

    Measuring points: 

    1. A: Ground clearance of front wheel center 
    2. B: Ground clearance of lower suspension arm No.2 set bolt center 
    3. C: Ground clearance of rear wheel center 
    4. D: Ground clearance of strut rod set bolt center 
    NOTE: Before inspecting the wheel alignment, adjust the vehicle height to the specified value.
    If the vehicle height is not the specified value, try to adjust it by pushing down on or lifting the body.
    Fig 2: Measuring Ground Clearance
    G00918705Courtesy of © TOYOTA, LICENSE AGREEMENT TMS1002
  3. INSPECT TOE-IN 

    Toe-in: 

    Fig 3: Identifying Toe-In Specification
    G00918706Courtesy of © TOYOTA, LICENSE AGREEMENT TMS1002

    If the toe-in is not within the specified value, adjust it at the rack ends.

    Fig 4: Inspecting Toe-In
    G00918707Courtesy of © TOYOTA, LICENSE AGREEMENT TMS1002
  4. ADJUST TOE-IN 
    1. Remove the rack boot set clips.
    2. Loosen the tie rod end lock nuts.
    3. Turn the right and left rack ends by an equal amount to adjust the toe-in.

      HINT:

      Try to adjust the toe-in to the center of the specified value.

      Fig 5: Identifying Rack
      G00918708Courtesy of © TOYOTA, LICENSE AGREEMENT TMS1002
    4. Make sure that the lengths of the right and left rack ends are the same.
    5. Torque the tie rod end lock nuts.
      1. Torque: 88 N.m (897 kgf.cm, 65 ft.lbf) 
    6. Place the boots on the seats and install the clips.

      HINT:

      Make sure that the boots are not twisted.

  5. INSPECT WHEEL ANGLE 
    1. Turn the steering wheel fully, and measure the turning angle.

      Wheel angle: 

      Fig 6: Identifying Wheel Angle Specification Table
      G00918709Courtesy of © TOYOTA, LICENSE AGREEMENT TMS1002

      If the wheel angles differ from the standard of the specification, inspect the toe-in.

    Fig 7: Inspecting Wheel Angle
    G00918710Courtesy of © TOYOTA, LICENSE AGREEMENT TMS1002
  6. INSPECT CAMBER, CASTER AND STEERING AXIS INCLINATION 
    1. Install the camber-caster-kingpin gauge or position vehicle on a wheel alignment tester.
    2. Inspect the camber, the caster and the steering axis inclination.

      Camber, caster and steering axis inclination: 

      Fig 8: Identifying Camber, Caster And Steering Axis Inclination Specification
      G00918711Courtesy of © TOYOTA, LICENSE AGREEMENT TMS1002

    If the steering axis inclination is not as specified after adjusting the camber and the caster have been correctly adjusted, recheck the steering knuckle and the front wheel for distortion or looseness.

    Fig 9: Identifying Alignment Tester
    G00918712Courtesy of © TOYOTA, LICENSE AGREEMENT TMS1002
  7. ADJUST CAMBER AND CASTER 
    NOTE: After adjusting the camber, inspect the toe-in.
    1. Loosen the nut and the bolt.
    2. Turn the camber adjust cam No.2 and the toe adjust plate No.2 in the circumference direction, and adjust the camber and the caster.

      HINT:

      Try to adjust the camber and caster to the center value.

      Fig 10: Adjusting Camber And Caster To Center Value
      G00918713Courtesy of © TOYOTA, LICENSE AGREEMENT TMS1002
    3. How to read adjustment chart (using examples).
      1. Measure the alignment.
        1. Camber: 0°15' (0.25°) 
        2. Caster: 2°45' (2.75°) 
      2. Make the difference between the standard value (A) and the measured value (B) on the adjustment chart.

        Standard value: 

        1. Camber: 0°35' (0.58°) 
        2. Caster: 2°55' (2.92°) 
        3. Formula: B - A = C 
        4. Camber: 0°15' - (0°35') = - 0°20' 
        5. Caster: 2°45' - (2°55') = - 0°10' 
      3. As shown in the chart, read the distance from the marked point to 0 point, and adjust the front and/or rear adjusting cams accordingly.
        1. Toe adjust cam: - (Shorter) 2.8 
        2. Camber adjust cam: - (Shorter) 1.8 
      Fig 11: Identifying Distance Chart (1 Of 2)
      G00918714Courtesy of © TOYOTA, LICENSE AGREEMENT TMS1002
    Fig 12: Identifying Distance Chart (2 Of 2)
    G00918715Courtesy of © TOYOTA, LICENSE AGREEMENT TMS1002