LEMON Manuals: Even more car manuals for everyone: 1960-2025
Home >> Lexus >> 2004 >> GS 430 >> Repair and Diagnosis >> External Pages >> Different car >> Section 391 (Audio & Visual System) >> Disc Player Controller Replacement
April 5, 2026: LEMON Manuals is launched! Read the announcement.

Disc Player Controller Replacement

WARNING: This page is about a different car, the 2004 Lexus GX 470. However, it is still accessible from the selected car via links, so may be relevant.

HINT:

COMPONENTS: See LOCATION .

  1. REMOVE CONSOLE UPPER PANEL GARNISH NO.2 (SEE  REPLACEMENT  ) 
  2. REMOVE CONSOLE UPPER PANEL GARNISH NO.1 (SEE  REPLACEMENT  ) 
  3. REMOVE CONSOLE REAR END PANEL SUB-ASSY (SEE  REPLACEMENT  ) 
  4. REMOVE RR CONSOLE BOX ASSY (SEE  REPLACEMENT  ) 
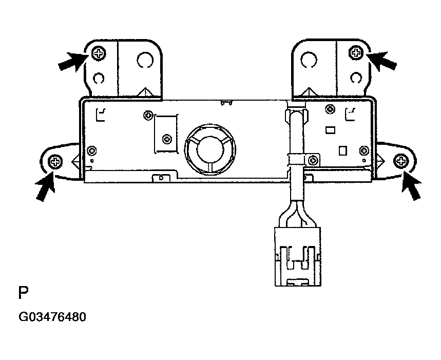
  5. REMOVE DISC PLAYER CONTROLLER W/BRACKET 
    1. Remove the 4 screws and disc player controller w/ bracket.
    Fig 1: Removing Screws And Disc Player Controller W/ Bracket
    G03476480Courtesy of © TOYOTA, LICENSE AGREEMENT TMS1002
  6. REMOVE DISC PLAYER BRACKET 
    1. Remove the 2 screws and disc player bracket.
    Fig 2: Removing Disc Player Bracket
    G03476481Courtesy of © TOYOTA, LICENSE AGREEMENT TMS1002
  7. REMOVE BRACKET 
    1. Remove the 2 screws and bracket.
    Fig 3: Removing Bracket
    G03476482Courtesy of © TOYOTA, LICENSE AGREEMENT TMS1002