LEMON Manuals: Even more car manuals for everyone: 1960-2025
Home >> Lexus >> 2004 >> GS 430 >> Repair and Diagnosis >> External Pages >> Different car >> Section 432 (Cruise Control System - Diagnostics) >> Circuit Inspection >> Control Switch Circuit (Cruise Control Switch) >> Inspection Procedure
April 5, 2026: LEMON Manuals is launched! Read the announcement.

Inspection Procedure

WARNING: This page is about a different car, the 2005 Lexus GS 430 and 2005 Lexus GS 300. However, it is still accessible from the selected car via links, so may be relevant.
  1. Check voltage between terminals CCS of ECM connector and body ground. 

    PREPARATION: 

    1. Remove the ECM with connector still connected.
    2. Turn the ignition switch to ON.

    CHECK: 

    Measure voltage between terminals CCS of ECM connector and body ground, when each of the SET/COAST, RESUME/ ACCEL and CANCEL is turned ON.

    CCS AND BODY GROUND

    Switch position Voltage (V)
    Neutral 10 - 16V
    RES/ACC 2.3 - 4.5 V
    SET/COAST 4.5 - 8.1 V
    CANCEL 6.6 - 11.4V
    Fig 1: Checking Voltage Between Terminal CCS Of ECM Connector And Body Ground
    G02941067Courtesy of © TOYOTA, LICENSE AGREEMENT TMS1002
    1. NG: Proceed to next circuit inspection shown in problem symptoms table (See  PROBLEM SYMPTOMS TABLE   ). 
    2. OK: Go to next step. 
  2. Check control switch continuity. 

    PREPARATION: 

    1. Remove the steering wheel pad (See REMOVAL ).
    2. Disconnect the control switch connector.

    Measure the resistance between terminals 4 and 5 of control switch connector when control switch is operated.

    CONTROL SWITCH CONTINUITY

    Switch position Resistance (Ω.)
    Neutral infin (No continuity)
    RES/ACC 220 - 260
    SET/COAST 600 - 660
    CANCEL 1,500 - 1,600
    Fig 2: Checking Control Switch Continuity
    G02941068Courtesy of © TOYOTA, LICENSE AGREEMENT TMS1002
    1. NG: Replace control switch. 
    2. OK: Go to next step. 
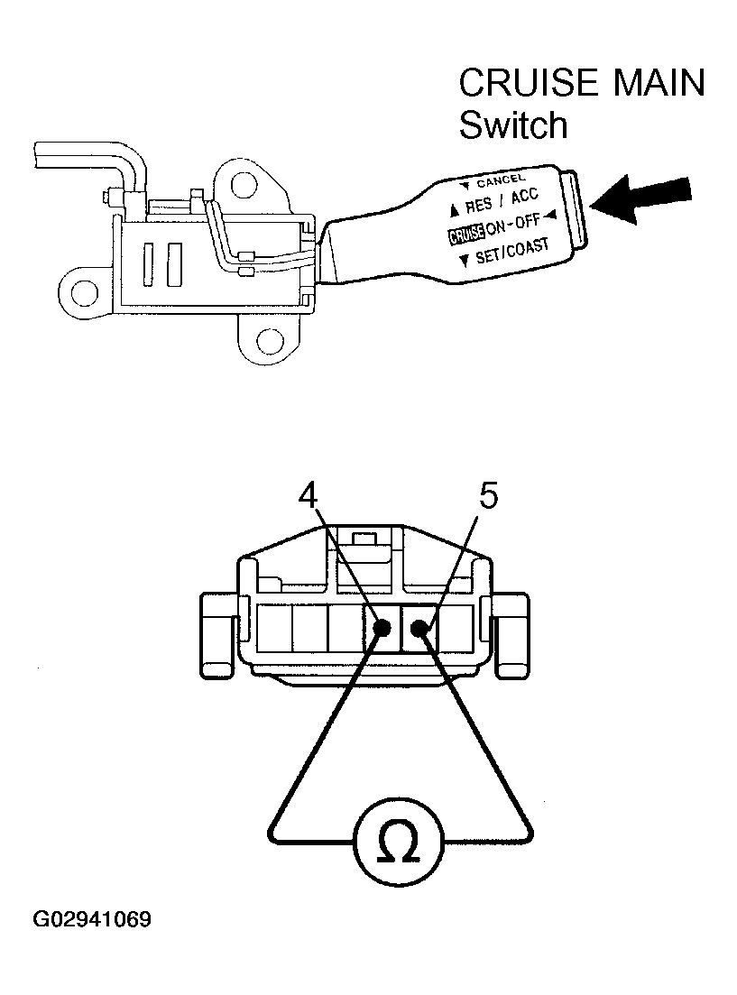
  3. Check main switch continuity. 

    PREPARATION: 

    1. Remove the steering wheel pad (See REMOVAL ).
    2. Disconnect the control switch connector.

    CHECK: 

    Check the continuity between terminals 4 and 5 of control switch connector when main switch is held ON and OFF.

    OK: 

    MAIN SWITCH CONTINUITY

    Switch position Tester connection Specified condition
    OFF - No continuity
    Hold ON 4 - 5 Continuity
    Fig 3: Checking Main Switch Continuity
    G02941069Courtesy of © TOYOTA, LICENSE AGREEMENT TMS1002
    1. NG: Replace control switch. 
    2. OK: Go to next step. 
  4. Check harness and connector between ECM and cruise control switch, cruise control switch and body ground (See  HOW TO USE THE DIAGNOSTIC CHART AND INSPECTION PROCEDURE  ). 
    1. NG: Repair or replace harness or connector. 
    2. OK: Go to next step. 
  5. Check cruise control indicator light (See  COMBINATION METER  ). 
    1. NG: Replace combination meter. 
    2. OK: Check and replace ECM (See  HOW TO USE THE DIAGNOSTIC CHART AND INSPECTION PROCEDURE  ).