LEMON Manuals: Even more car manuals for everyone: 1960-2025
Home >> Lexus >> 2004 >> GS 430 >> Repair and Diagnosis >> External Pages >> Different car >> Section 432 (Cruise Control System - Diagnostics) >> Circuit Inspection >> Control Switch Circuit (Cruise Control Switch) >> Wiring Diagram
April 5, 2026: LEMON Manuals is launched! Read the announcement.

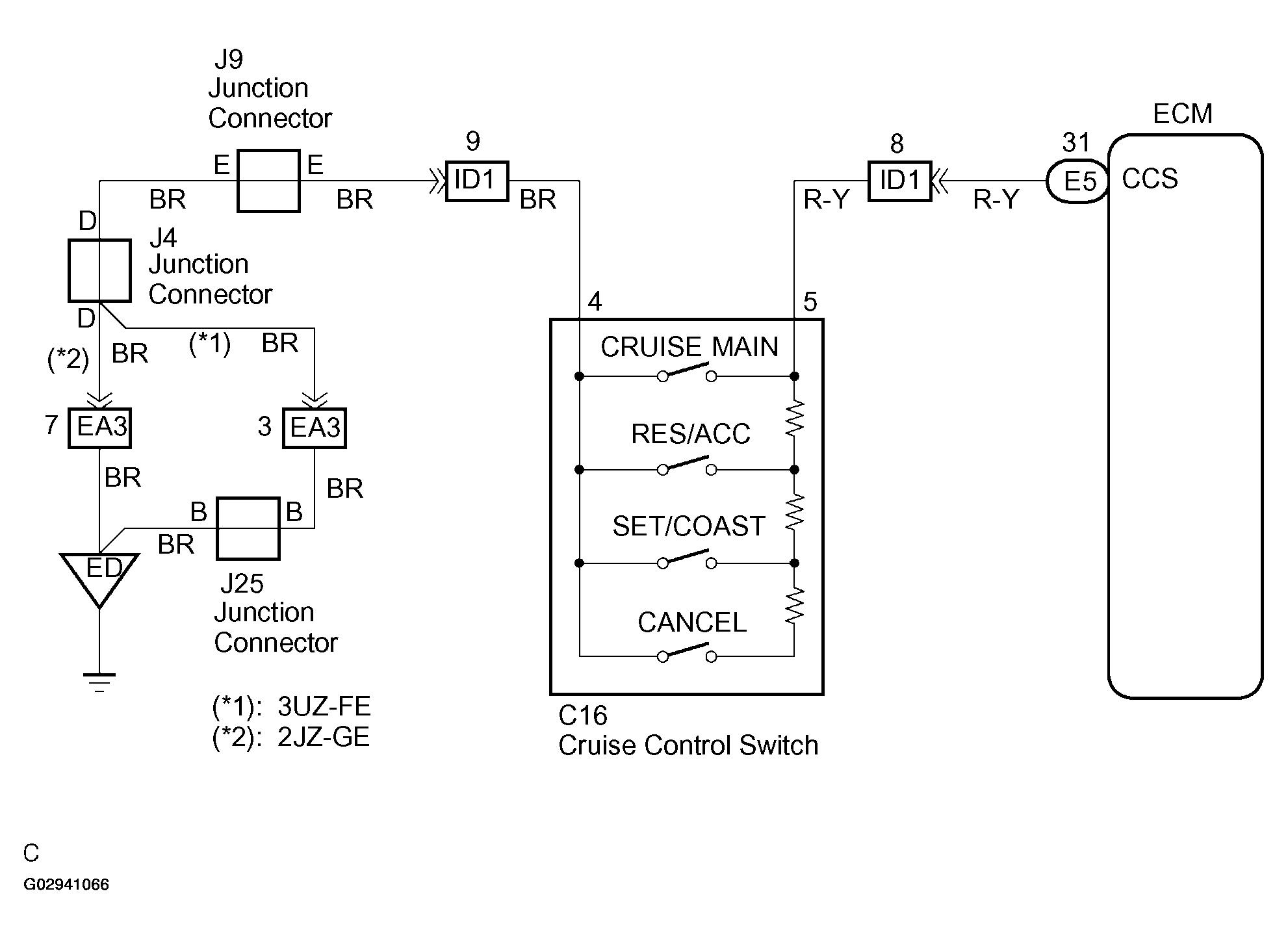
Control Switch Circuit (Cruise Control Switch): Wiring Diagram

WARNING: This page is about a different car, the 2005 Lexus GS 430 and 2005 Lexus GS 300. However, it is still accessible from the selected car via links, so may be relevant.
Fig 1: Wiring Diagram - Control Switch Circuit (Cruise Control Switch)
G02941066Courtesy of © TOYOTA, LICENSE AGREEMENT TMS1002