LEMON Manuals: Even more car manuals for everyone: 1960-2025
Home >> Lexus >> 2004 >> GS 430 >> Repair and Diagnosis >> Transmission >> Automatic Trans >> Automatic Transmission (On-Vehicle Service) >> Floor Shift Assembly >> Reassembly
April 5, 2026: LEMON Manuals is launched! Read the announcement.

Floor Shift Assembly: Reassembly

HINT:

Before reassembly, apply MP grease to the parts indicated by arrows (See FLOOR SHIFT ASSEMBLY ).

  1. INSTALL CLIP, CONNECTING ROD SWIVEL, LOWER CONTROL SHAFT BUSHING, LOWER CONTROL SHAFT PIECE, PLATE WASHER AND SHIFT LEVER BOOT TO CONTROL LEVER 
    1. Install the shift lever boot, 2 plate washers, lower control shaft piece, lower control shaft bushing and connecting rod swivel to the control lever.
    2. Using pliers, install the clip.
      Fig 1: Installing Connecting Rod Swivel
      G01343103Courtesy of © TOYOTA, LICENSE AGREEMENT TMS1002
  2. INSTALL CONTROL LEVER, SPACER AND CONTROL SHAFT 
    1. Connect the shift lever boot to the shift lever plate.
      Fig 2: Installing Shift Lever Boot To The Shift Lever Plate
      G01343104Courtesy of © TOYOTA, LICENSE AGREEMENT TMS1002

      HINT:

      Pull out the 3 lips of the shift lever boot securely, as shown in Fig 3 .

    2. Using a wire brush, remove the adhesive adhered to the threads of control shaft.
    3. Install the control shaft and 2 spacers.
    4. Install the washer and torque a new nut.

      Torque: 19 N.m (194 kgf.cm, 14 ft.lbf) 

      Fig 3: Installing Control Shaft
      G01343105Courtesy of © TOYOTA, LICENSE AGREEMENT TMS1002
  3. INSTALL SHIFT LEVER SUB-ASSEMBLY 
    1. Install a new shift lever nut to the shift lever sub-assembly.
      Fig 4: Installing Shift Lever Nut To Shift Lever Sub-Assembly
      G01343106Courtesy of © TOYOTA, LICENSE AGREEMENT TMS1002

      HINT:

      Insert the shift lever nut securely until it fits and check there is no looseness.

    2. Install the shift lever sub-assembly.
    3. Using a pin punch and hammer, driver in the pin.
      Fig 5: Installing Shift Lever Sub-Assembly
      G01343107Courtesy of © TOYOTA, LICENSE AGREEMENT TMS1002
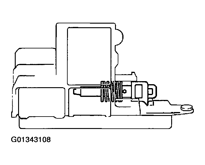
  4. INSTALL SHIFT LOCK CONTROL UNIT ASSEMBLY 
    Fig 6: Installing Shift Lock Control Unit Assembly
    G01343108Courtesy of © TOYOTA, LICENSE AGREEMENT TMS1002
    1. Connect the shift lock solenoid ink and install a new slotted spring pin.
    2. Install the compression spring to the shift lock solenoid link.
    3. Push and install the shift lock solenoid ink with the compression spring to the lock control unit assembly.
    4. Install the shift lock control unit assembly.

    HINT:

    Do not torque the shift lock control unit assembly set screws.

  5. INSTALL SHIFT LOCK PLATE STOPPER 
    Fig 7: Installing Shift Lock Plate Stopper
    G01343109Courtesy of © TOYOTA, LICENSE AGREEMENT TMS1002
    1. Install the shift lever anti-rattle cushion and shift lock plate stopper cap to the shift lock plate stopper.
    2. Install the shift lock release spring to the shift lock plate stopper.
    3. Install the stopper to the shift lever plate.

      HINT:

      • Check that the claw of the shift lock plate stopper firmly fits in and slides smoothly.
      • Insert and connect the projection of the shift lock plate stopper into the square hole of the shift lock control unit assembly.
  6. INSTALL NO. 1 SHIFT LOCK SWITCH PLATE 
    1. Install the shift lever anti-rattle cushion to the roller.
    2. Install the roller and shift lever anti-rattle cushion to the plate.
      Fig 8: Installing Shift Lever Anti-Rattle Cushion To Roller
      G01343110Courtesy of © TOYOTA, LICENSE AGREEMENT TMS1002
    3. Install the No. 1 shift lock switch plate in the direction shown in the illustration and lower to the direction shown by an arrow.

      HINT:

      Connect the groove of the No. 1 shift lock switch plate to the projection of the shift lock control unit assembly.

      Fig 9: Connecting Groove Of Shift Lock Switch Plate
      G01343111Courtesy of © TOYOTA, LICENSE AGREEMENT TMS1002
  7. INSTALL AND TORQUE 2 SHIFT LOCK CONTROL UNIT ASSEMBLY SET SCREWS 

    Torque: 2.0 N.m (20 kgf.cm, 17 in.lbf) 

    Fig 10: Identifying Set Screws
    G01343112Courtesy of © TOYOTA, LICENSE AGREEMENT TMS1002
  8. INSTALL SPRING HOLDER AND SHIFT LEVER TORSION SPRING 
    1. Install the shift lever torsion spring.
      Fig 11: Installing Shift Lever Torsion Spring
      G01343113Courtesy of © TOYOTA, LICENSE AGREEMENT TMS1002
    2. Install the spring holder.
      Fig 12: Installing Spring Holder
      G01343114Courtesy of © TOYOTA, LICENSE AGREEMENT TMS1002
  9. INSTALL SHIFT LEVER DETENT PIN, SHIFT LEVER SPRING DAMPER AND COMPRESSION SPRING TO SHIFT LEVER SUB-ASSEMBLY 
    Fig 13: Installing Shift Lever Detent Pin, Shift Lever Spring Damper & Compression Spring
    G01343115Courtesy of © TOYOTA, LICENSE AGREEMENT TMS1002
  10. ASSEMBLY INDICATOR LAMP SUB-ASSEMBLY 
    1. Install the terminals of the indicator lamp wire sub-assembly to the connector.
    2. Install the bulb to the indicator lamp wire sub-assembly.
  11. INSTALL SHIFT LEVER GUIDE HOUSING AND INDICATOR LAMP SUB-ASSEMBLY 
    1. Install the indicator lamp sub-assembly to the shift lever guide housing.
    2. Install the shift lever housing with the indicator lamp sub-assembly to the shift lever plate.
      Fig 14: Installing Shift Lever Guide Housing & Indicator Lamp Sub-Assembly
      G01343116Courtesy of © TOYOTA, LICENSE AGREEMENT TMS1002
    3. Connect the indicator lamp wire sub-assembly to the shift lever plate.

    HINT:

    Hook the indicator lamp wire sub-assembly securely on the retainer of the shift lock plate.

    Fig 15: Connecting Indicator Lamp Wire Sub-Assembly To Shift Lever Plate
    G01343117Courtesy of © TOYOTA, LICENSE AGREEMENT TMS1002
  12. INSTALL SHIFT LOCK RELEASE LINK AND SPRING 
    1. Install the shift lock release spring to the shift look release link.
      Fig 16: Installing Shift Lock Release Spring
      G01343118Courtesy of © TOYOTA, LICENSE AGREEMENT TMS1002
    2. Install the 2 shift lever housing set bolts, nuts, shift lock release link and spring.
    3. Torque the 2 nuts.

    Torque: 3.9 N.m (40 kgf.cm, 35 in.lbf) 

  13. INSTALL SLIDE COVER 
  14. INSTALL POSITION INDICATOR LENS TO POSITION INDICATOR HOUSING 

    HINT:

    Fit the 4 claws of the position indicator lens in the grooves of the position indicator housing securely.

    Fig 17: Installing Position Indicator Lens To Position Indicator Housing
    G01343119Courtesy of © TOYOTA, LICENSE AGREEMENT TMS1002
  15. INSTALL POSITION INDICATOR HOUSING 
    1. Install the shift lever cap to the position indicator housing.
    2. Install the position indicator housing to the shift lever plate.
      Fig 18: Installing Shift Lever Cap To Position Indicator Housing
      G01343120Courtesy of © TOYOTA, LICENSE AGREEMENT TMS1002

      HINT:

      Fit the 4 clips of the position indicator housing in the shift lever plate securely.

  16. INSTALL WIRE PROTECTOR TO SHIFT LEVER PLATE 
  17. INSTALL SHIFT LEVER KNOB AND SHIFT LEVER KNOB COVER 
    Fig 19: Installing Shift Lever Knob & Shift Lever Knob Cover
    G01343121Courtesy of © TOYOTA, LICENSE AGREEMENT TMS1002