LEMON Manuals: Even more car manuals for everyone: 1960-2025
Home >> Lexus >> 2004 >> IS 300 Base, Automatic >> Repair and Diagnosis >> Transmission >> Automatic Trans >> Automatic Transmission >> Valve Body Assembly >> On-Vehicle Repair
April 5, 2026: LEMON Manuals is launched! Read the announcement.

On-Vehicle Repair

CAUTION: When working with FIPG material, you must observe the following items: 
  • Using a razor blade and gasket scraper, remove all the old FIPG material from the gasket surfaces. 
  • Thoroughly clean all components to remove all the loose material. 
  • Clean both sealing surfaces with a non-residue solvent. 
  • Apply FIPG in an approx. 1 mm (0.04 in.) wide bead along the sealing surface. 
  • Parts must be assembled within 10 minutes of application. Otherwise, the FIPG material must be removed and reapplied. 
  1. REMOVE NO. 1 AND NO. 2 ENGINE UNDER COVERS 
  2. REMOVE LH FRONT FLOOR CENTER COVER 
  3. REMOVE NO. 1 REAR FLOOR BOARD 
  4. REMOVE DRAIN PLUG WITH GASKET AND DRAIN ATF 
  5. REMOVE OIL PAN (See  ATF TEMPERATURE SENSOR  ) 
  6. EXAMINE PARTICLES IN PAN (See  ATF TEMPERATURE SENSOR  ) 
  7. REMOVE OIL STRAINER (See  ATF TEMPERATURE SENSOR  ) 
  8. REMOVE SOLENOID WIRING WITH ATF TEMPERATURE SENSOR (See  ATF TEMPERATURE SENSOR  ) 
  9. REMOVE VALVE BODY 

    Remove the 20 bolts and valve body.

    Fig 1: Removing Valve Body
    G00894488Courtesy of © TOYOTA, LICENSE AGREEMENT TMS1002
  10. REMOVE CHECK BALL BODY AND SPRING 
    NOTE: Do not drop the check ball body and spring. 
  11. Fig 2: Removing Check Ball Body & Spring
    G00894489Courtesy of © TOYOTA, LICENSE AGREEMENT TMS1002
  12. REMOVE SOLENOID VALVE 
    1. Remove the 3 bolts and shift solenoid valve No. 1, No. 2 and No. 3.
    2. Remove the 2 bolts, oil guide plate, lock plate, shift solenoid valve SLN and No. 4.
    3. Remove the 6 O-rings from each shift solenoid valve.
    4. Remove the bolt, lock plate and shift solenoid valve SLU and SLT.
    5. Fig 3: Removing Solenoid Valves
      G00894490Courtesy of © TOYOTA, LICENSE AGREEMENT TMS1002
  13. INSTALL SOLENOID VALVE 
    1. Install the shift solenoid valve SLU and SLT and the lock plate with the bolt.
      1. Torque: 6.4 N.m (65 kgf.cm, 56 in.lbf) 
    2. Coat 6 new O-rings with ATF.
    3. Install the 6 O-rings to the each solenoid valve.
    4. Install the shift solenoid valve SLN, No. 4, lock plate and oil guide plate with the 2 bolts.
      1. Torque: 10 N.m (100 kgf.cm, 7 ft.lbf) 
    5. Install the shift solenoid valve No. 1, No. 2 and No. 3 with the 3 bolts.
      1. Torque: 
      2. Shift solenoid valve No. 1 and No. 3: 6.4 N.m (65 kgf.cm, 56 in.lbf) 
      3. Shift solenoid valve No. 2: 10 N.m (100 kgf.cm, 7 ft.lbf) 
  14. INSTALL CHECK BALL BODY AND SPRING 
    Fig 4: Installing Check Ball Body & Spring
    G00894491Courtesy of © TOYOTA, LICENSE AGREEMENT TMS1002
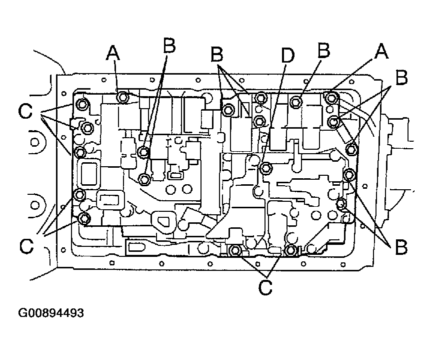
  15. INSTALL VALVE BODY 
    1. Align the groove of the manual valve to pin of the lever.
      Fig 5: Aligning Groove Of Manual Valve To Pin Of Lever
      G00894492Courtesy of © TOYOTA, LICENSE AGREEMENT TMS1002
    2. Install the 20 bolts.
      1. Torque: 10 N.m (100 kgf.cm, 7 ft.lbf) 
      2. Bolt length: 
      3. Bolt A: 23 mm (0.91 in.) 
      4. Bolt B: 28 mm (1.10 in.) 
      5. Bolt C: 36 mm (1.42 in.) 
      6. Bolt D: 55 mm (2.17 in.) 
    3. Fig 6: Installing Valve Body Bolts
      G00894493Courtesy of © TOYOTA, LICENSE AGREEMENT TMS1002
  16. INSTALL SOLENOID WIRING WITH ATF TEMPERATURE SENSOR (See  ATF TEMPERATURE SENSOR  ) 
  17. INSTALL OIL STRAINER (See  ATF TEMPERATURE SENSOR  ) 
  18. INSTALL OIL PAN (See  ATF TEMPERATURE SENSOR  ) 
  19. INSTALL DRAIN PLUG WITH NEW GASKET 
    1. Torque: 20 N.m (205 kgf.cm, 15 ft.lbf) 
  20. FILL FLUID AND CHECK FLUID (See  PRE-CHECK  ) 
  21. INSTALL NO. 1 REAR FLOOR BOARD 
  22. INSTALL LH FRONT FLOOR CENTER COVER 
  23. INSTALL NO. 1 AND NO. 2 ENGINE UNDER COVERS