LEMON Manuals: Even more car manuals for everyone: 1960-2025
Home >> Lexus >> 2004 >> IS 300 Base, Standard >> Repair and Diagnosis >> External Pages >> Different car >> Section 256 (Interior Light System) >> Removal
April 5, 2026: LEMON Manuals is launched! Read the announcement.

Section 256 (Interior Light System): Removal

WARNING: This page is about a different car, the 2003 Lexus IS 300. However, it is still accessible from the selected car via links, so may be relevant.
  1. Sedan: REMOVE LICENSE PLATE LIGHT 

    HINT:

    • Installation is in the reverse order of removal. Only if there is a specified procedure for installation it is shown.
    • Follow the same procedure for RH as for LH.
    1. Remove the Internal Trunk Release Handle.
    2. Remove a part of luggage compartment door trim.
      Fig 1: Removing A Part Of Luggage Compartment Door Trim (Sedan)
      G03379894Courtesy of © TOYOTA, LICENSE AGREEMENT TMS1002
    3. Remove the 4 nuts.
    4. Remove luggage compartment door outer garnish.
    5. Disconnect the connector.
    6. Pull the claw towards the inside of the vehicle as shown in the illustration, disconnect the engagement of 2 claws, and remove the license plate light assembly.
      Fig 2: Pulling The Claw Towards The Inside Of The Vehicle (Sedan)
      G03379895Courtesy of © TOYOTA, LICENSE AGREEMENT TMS1002
  2. Wagon: REMOVE LICENSE PLATE LIGHT 

    HINT:

    • Installation is in the reverse order of removal. Only if there is a specified procedure for installation it is shown.
    • Follow the same procedure for RH as for LH.
    1. Remove the back door trim.
    2. Remove the 4 nuts.
      Fig 3: Removing The Back Door Trim (Wagon)
      G03379896Courtesy of © TOYOTA, LICENSE AGREEMENT TMS1002
    3. Remove back door outer garnish.
    4. Disconnect the connector.
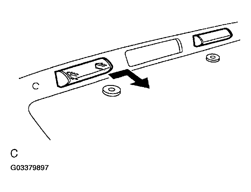
    5. Pull the claw towards the inside of the vehicle as shown in the illustration, disconnect the engagement of 2 claws, and remove the license plate light assembly.
      Fig 4: Pulling The Claw Towards The Inside Of The Vehicle (Wagon)
      G03379897Courtesy of © TOYOTA, LICENSE AGREEMENT TMS1002
  3. Sedan: REMOVE LICENSE PLATE BULB 

    HINT:

    Installation is in the reverse order of removal. Only if there is a specified procedure for installation it is shown.

    1. Remove a part of luggage compartment door trim.
    2. Disconnect the bulb sockets and remove the bulbs.
      Fig 5: Disconnecting The Bulb Sockets (Sedan)
      G03379898Courtesy of © TOYOTA, LICENSE AGREEMENT TMS1002
  4. Wagon: REMOVE LICENSE PLATE BULB 

    HINT:

    Installation is in the reverse order of removal. Only if there is a specified procedure for installation it is shown.

    1. Remove the back door trim.
    2. Disconnect the bulb sockets and remove the bulbs.
      Fig 6: Disconnecting The Bulb Sockets (Wagon)
      G03379899Courtesy of © TOYOTA, LICENSE AGREEMENT TMS1002