LEMON Manuals: Even more car manuals for everyone: 1960-2025
Home >> Lexus >> 2004 >> LS 430 >> Repair and Diagnosis >> Body & Frame >> Ignition Switch/Steering Lock >> Steering Lock System - Diagnosis >> System Diagram
April 5, 2026: LEMON Manuals is launched! Read the announcement.

System Diagram

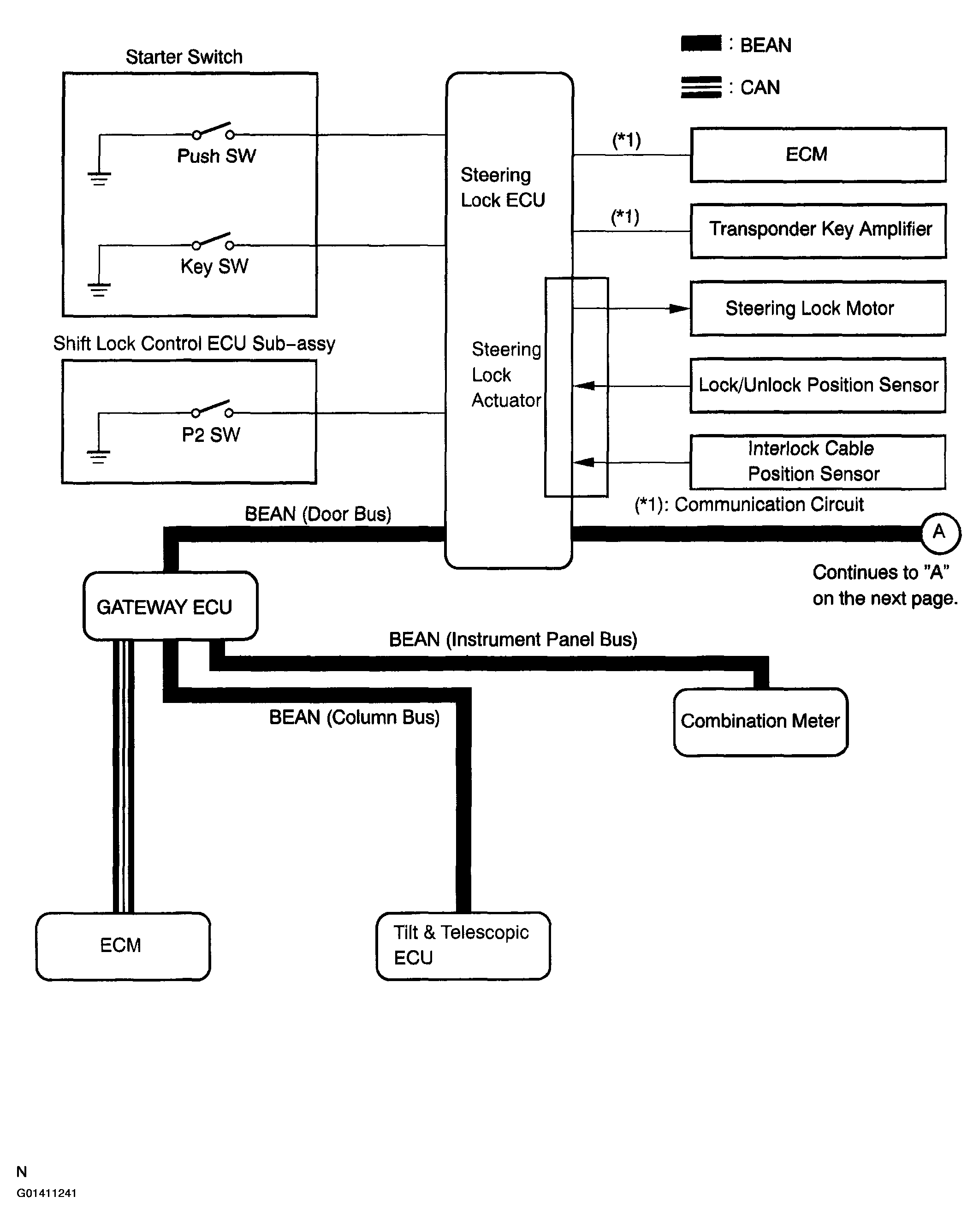
Fig 1: Steering Lock System Wiring Diagram
G01411241Courtesy of © TOYOTA, LICENSE AGREEMENT TMS1002
Fig 2: Steering Lock System Wiring Diagram
G01411242Courtesy of © TOYOTA, LICENSE AGREEMENT TMS1002

Input and output signals of each ECU. 

Fig 3: Input And Output Signals ECU Table
G01411243Courtesy of © TOYOTA, LICENSE AGREEMENT TMS1002