LEMON Manuals: Even more car manuals for everyone: 1960-2025
Home >> Lexus >> 2004 >> LS 430 >> Repair and Diagnosis >> Body & Frame >> Mirrors >> Back Window Glass >> Replacement
April 5, 2026: LEMON Manuals is launched! Read the announcement.

Back Window Glass: Replacement

HINT:

  1. REMOVE REAR SEAT CUSHION ASSY (see  OVERHAUL  ) 
  2. REMOVE REAR SEATBACK ASSY (see  OVERHAUL  ) 
  3. REMOVE ROOF HEADLINING ASSY 
    1. Remove the rear door scuff plate LH and RH.
    2. Remove the rear door opening trim weatherstrip LH and RH.
    3. Remove the rear seat side cover LH and RH.
    4. Remove the roof side garnish inner LH and RH.
    5. Remove the assist grip.
    6. Remove the rear room lamp LH and RH.
    7. Remove the vanity lamp LH and RH.
    8. Partially remove the roof headlining.

      HINT:

      Do not remove the roof headlining completely. Slightly lower the rear section of the roof headlining so that the back window glass can be removed later in step  7.

  4. REMOVE PACKAGE TRAY TRIM PANEL ASSY 
    1. Remove the rear speaker grille.
    2. Remove the center stop lamp.
    3. Remove the package tray trim panel.
  5. w/ Rear sunshade: 

    REMOVE PACKAGE TRAY TRIM PANEL ASSY NO. 2 

    1. Remove the rear speaker grille.
    2. Remove the package tray trim panel.
    3. Remove the center stop lamp.
    4. Remove the package tray trim panel No. 2.
  6. REMOVE BACK WINDOW MOULDING OUTSIDE UPPER 
    1. Using a knife, cut off the moulding, as shown in the illustration.
      NOTE: Be careful not to damage the vehicle body with the knife.
    2. Remove the remaining moulding.

      HINT:

      Make a partial cut in the moulding. Then pull and remove it by hand.

      Fig 1: Cutting Off Moulding Using A Knife
      G03514110Courtesy of © TOYOTA, LICENSE AGREEMENT TMS1002
  7. REMOVE BACK WINDOW GLASS 
    1. Disconnect the connector.
    2. From the interior, insert piano wire between the vehicle body and glass, as shown in the illustration.
    3. Tie object that can serve as handles (for example, wooden blocks) to all wire ends.
      Fig 2: Inserting Piano Wire Between Vehicle Body And Glass
      G03514111Courtesy of © TOYOTA, LICENSE AGREEMENT TMS1002

      HINT:

      Apply protective tape to the outer surface of the vehicle body to prevent its surface from being scratched.

      NOTE: When separating the glass from the vehicle, be careful not to damage the vehicle's paint or interior / exterior ornaments.
    4. Cut through the adhesive by pulling the piano wire around the glass.
    5. Disengage the stoppers.
    6. Using a suction cup, remove the glass.
      NOTE: Leave as much adhesive on the vehicle body as possible when removing the glass.
      Fig 3: Removing Glass Using Suction Cup
      G03514112Courtesy of © TOYOTA, LICENSE AGREEMENT TMS1002
  8. CLEAN BACK WINDOW GLASS 
    1. Using a scraper, remove the damaged stoppers and adhesive sticking to the glass.
    2. Clean the outer circumference of the glass with white gasoline.
      NOTE:
      • Do not touch the glass surface after cleaning it.
      • Even if using new glass, clean the glass with white gasoline.
        Fig 4: Cleaning Outer Circumference Of Glass With White Gasoline
        G03514113Courtesy of © TOYOTA, LICENSE AGREEMENT TMS1002
  9. CLEAN VEHICLE BODY 
    1. Clean and shape the contact surface of the vehicle body.
      1. Using a knife, cut away any rough adhesive on the contact surface of the vehicle body to ensure the appropriate surface shape.

        HINT:

        Leave as much adhesive on the vehicle body as possible.

        NOTE: Be careful not to damage the vehicle body.
      2. Clean the contact surface of the vehicle body with a piece of shop rag saturated with cleaner.

        HINT:

        Even if all the adhesive has been removed, clean the vehicle body.

        Fig 5: Cutting Away Any Rough Adhesive On Contact Surface Of Vehicle Body
        G03514114Courtesy of © TOYOTA, LICENSE AGREEMENT TMS1002
  10. INSTALL WINDSHIELD GLASS STOPPER NO. 2 
    1. Coat the installation part of the stoppers with Primer G.
      NOTE:
      • Allow the primer coating to dry for 3 minutes or more.
      • Throw away any leftover Primer G.
      • Do not apply too much Primer G.
    2. Install 2 new stoppers onto the glass, as shown in the illustration.

      Specification: 

      Fig 6: Installing Stoppers Onto Glass
      G03514115Courtesy of © TOYOTA, LICENSE AGREEMENT TMS1002
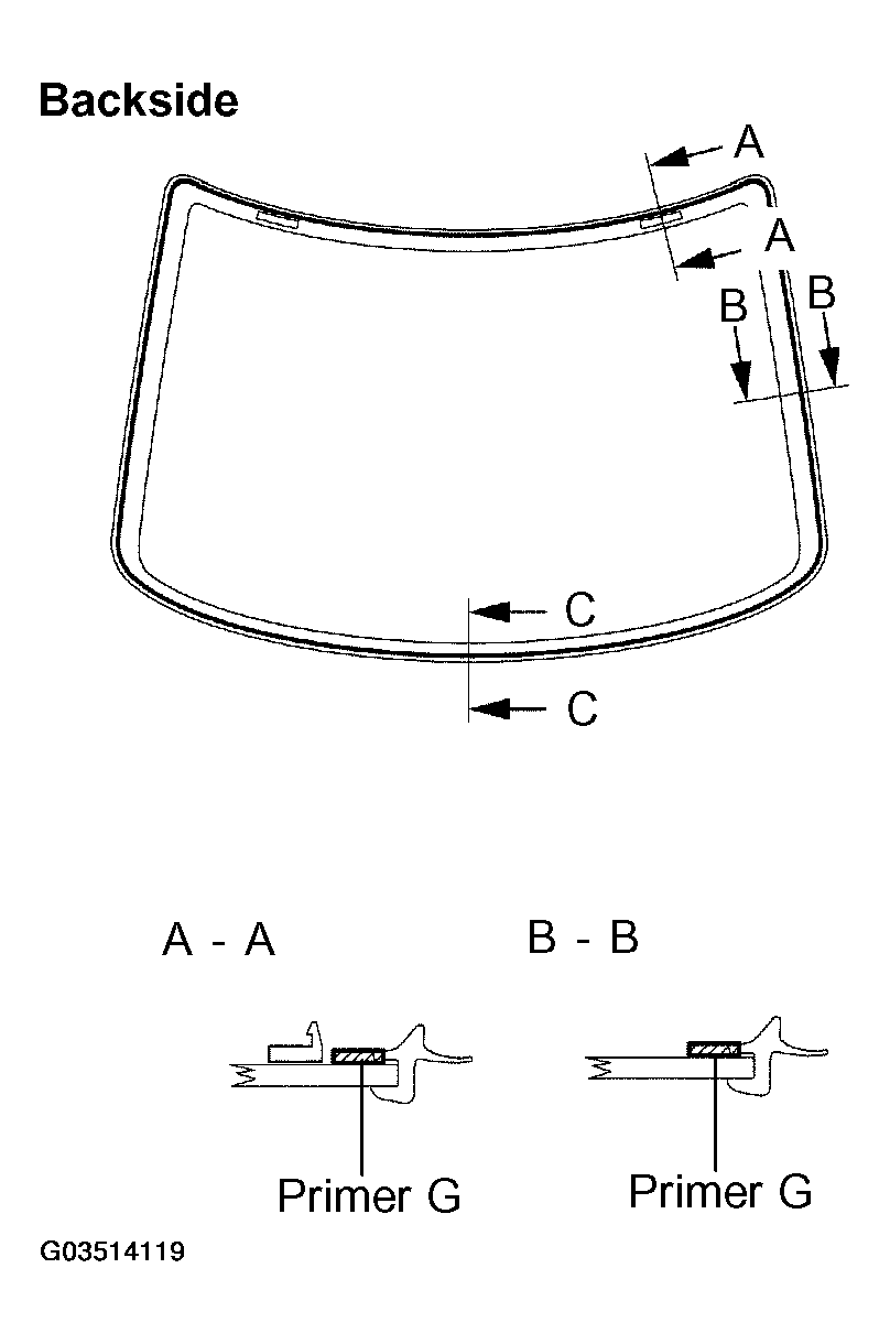
      AREA MEASUREMENT SPECIFICATIONS

      Area Measurement
      A 12.4 mm (0.488 in.)
      B 40.0 mm (1.574 in.)
      C 12.5 mm (0.492 in.)
  11. INSTALL WINDSHIELD GLASS STOPPER NO. 1 
    1. Install 2 new stoppers to the vehicle body, as shown in the illustration.
      Fig 7: Installing Stoppers To Vehicle Body
      G03514116Courtesy of © TOYOTA, LICENSE AGREEMENT TMS1002
  12. INSTALL BACK WINDOW MOULDING OUTSIDE UPPER 
    1. Using a brush or sponge, coat the edge of the glass and the contact surface with Primer G.
      NOTE:
      • Allow the primer coating to dry for 3 minutes or more.
      • Throw away any leftover Primer G.
      • Do not apply too much Primer G.
    2. Install the moulding.
  13. INSTALL BACK WINDOW GLASS 
    1. Position the glass.
      1. Using a suction cup, place the glass in the correct position.
      2. Check that the whole contact surface of the glass rim is perfectly even.
      3. Place reference marks between the glass and vehicle body.

        HINT:

        When reusing the glass, check and correct the reference mark positions.

        NOTE: Check that the stoppers are attached to the vehicle body correctly.
      4. Remove the glass.
        Fig 8: Placing Glass In Correct Position Using Suction Cup
        G03514117Courtesy of © TOYOTA, LICENSE AGREEMENT TMS1002
    2. Using a brush, coat the exposed part of the vehicle body with Primer M.
      NOTE:
      • Allow the primer coating to dry for 3 minutes or more.
      • Do not coat the adhesive with Primer M.
      • Throw away any leftover Primer M.
      • Do not apply too much Primer M.
        Fig 9: Coating Exposed Part Of Vehicle Body With Primer M Using Brush
        G03514118Courtesy of © TOYOTA, LICENSE AGREEMENT TMS1002
    3. Using a brush or sponge, coat the edge of the glass and the contact surface with Primer G.

      HINT:

      If an area other than that specified is coated by accident, wipe off the primer with a clean shop rag before it dries.

      NOTE:
      • Allow the primer coating to dry for 3 minutes or more.
      • Throw away any leftover Primer G.
      • Do not apply too much Primer G.
        Fig 10: Coating Edge Of Glass And Contact Surface With Primer G
        G03514119Courtesy of © TOYOTA, LICENSE AGREEMENT TMS1002
    4. Apply adhesive.

      Adhesive: Part No. 08850-00801 or equivalent 

      Fig 11: Cutting Off Tip Of Cartridge Nozzle
      G03514120Courtesy of © TOYOTA, LICENSE AGREEMENT TMS1002
      1. Cut off the tip of the cartridge nozzle, as shown in the illustration.

        HINT:

        After cutting off the tip, use all adhesive within the time described in the table below.

        Usage timeframe: 

        USAGE TIMEFRAME

        Temperature Usage Timeframe
        35°C (95°F) 15 minutes
        20°C (68°F) 1 hour 40 minutes
        5°C (41°F) 8 hours
      2. Load the sealer gun with the cartridge.
      3. Coat the glass with adhesive, as shown in the illustration.

        Specification: 

        AREA MEASUREMENT SPECIFICATION

        Area Measurement
        a 12.5 mm (0.492 in.)
        b 8.0 mm (0.315 in.)
        c 6.5 mm (0.256 in.)
    5. Install the glass.
      1. Using a suction cup, position the glass so that the reference marks are aligned. Press it in gently along the rim.
        NOTE:
        • Allow the primer coating to dry for 3 minutes or more.
        • Check that the stoppers are attached to the vehicle body correctly.
        • Check that the vehicle body and glass have a small gap between them.
      2. Lightly press the front surface of the glass to ensure that the glass is securely fit to the vehicle body.
        Fig 12: Positioning Glass So Reference Marks Are Aligned Using Suction Cup
        G03514121Courtesy of © TOYOTA, LICENSE AGREEMENT TMS1002
      3. Using a scraper, remove any excess or protruding adhesive.

        HINT:

        Apply adhesive onto the glass rim.

        NOTE: Do not drive the vehicle for the amount of time described in the table below.

        Minimum time: 

        MINIMUM TIME PRIOR TO DRIVING VEHICLE

        Temperature Minimum time prior to driving vehicle
        35°C (95°F) 1 hour 30 minutes
        20°C (68°F) 5 hours
        5°C (41°F) 24 hours
        Fig 13: Removing Any Excess Or Protruding Adhesive Using Scraper
        G03514122Courtesy of © TOYOTA, LICENSE AGREEMENT TMS1002
  14. CHECK FOR LEAKS AND REPAIR 
    1. Conduct a leak test after the adhesive has completely hardened.
    2. Seal any leaks with auto glass sealer.