LEMON Manuals: Even more car manuals for everyone: 1960-2025
Home >> Lexus >> 2004 >> LS 430 >> Repair and Diagnosis >> Electrical >> Starter >> Starting >> Starting System >> Inspection
April 5, 2026: LEMON Manuals is launched! Read the announcement.

Starting System: Inspection

  1. INSPECT STARTER ASSY 
    NOTE: These tests must be performed within 3 to 5 seconds to prevent the coil from burning out.
    1. Perform pull-in/ holding test
      1. Disconnect the field coil lead wire from terminal C.
      2. Connect the battery to the magnetic switch as shown. Then check that the clutch pinion gear moves outward.
        Fig 1: Connecting Battery To Magnetic Switch
        G01032082Courtesy of © TOYOTA, LICENSE AGREEMENT TMS1002
      3. Disconnect the battery negative lead from terminal C. Then check that the pinion gear remains out.
        Fig 2: Disconnecting Battery Negative Lead From Terminal
        G01032083Courtesy of © TOYOTA, LICENSE AGREEMENT TMS1002
      4. Disconnect the battery negative lead from the switch body. Then check that the clutch pinion gear returns inward.
        Fig 3: Disconnecting Battery Negative Lead From Switch Body
        G01032084Courtesy of © TOYOTA, LICENSE AGREEMENT TMS1002
    2. Perform operation test without load
      1. Connect the battery and ammeter to the starter as shown.
      2. Check that the starter rotates smoothly and steadily while the pinion gear is moving out. Then measure the current.

      Specified current: 100 A or less at 11.5 V 

      Fig 4: Connecting Battery And Ammeter To Starter
      G01032085Courtesy of © TOYOTA, LICENSE AGREEMENT TMS1002
  2. INSPECT IGNITION OR STARTER SWITCH ASSY 
    1. Measure the resistance of the switch.

      Standard: 

      Fig 5: Measuring Resistance Of Switch
      G01032086Courtesy of © TOYOTA, LICENSE AGREEMENT TMS1002

      If the result is not as specified, replace the switch assy.

      Fig 6: Resistance Table
      G01032087Courtesy of © TOYOTA, LICENSE AGREEMENT TMS1002
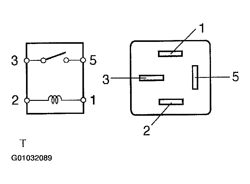
  3. INSPECT RELAY (Marking: STARTER) 
    1. Remove the STARTER relay from the FL block.
    2. Measure the resistance of the STARTER relay.

    Standard: 

    Fig 7: Measuring Resistance Of Starter Relay
    G01032088Courtesy of © TOYOTA, LICENSE AGREEMENT TMS1002
    Fig 8: Specified Condition Table
    G01032089Courtesy of © TOYOTA, LICENSE AGREEMENT TMS1002

    If the result is not as specified, replace the relay.