LEMON Manuals: Even more car manuals for everyone: 1960-2025
Home >> Lexus >> 2004 >> LS 430 >> Repair and Diagnosis >> Engine Performance >> System >> SFI System - Diagnosis >> ECM Power Source Circuit >> Inspection Procedure
April 5, 2026: LEMON Manuals is launched! Read the announcement.

Inspection Procedure

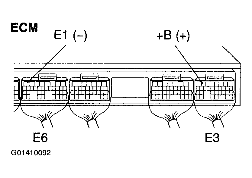
  1. INSPECT ECM (+B VOLTAGE) 
    1. Turn the ignition switch ON.
    2. Measure the voltage of the ECM.
      Fig 1: Identifying Connector Terminals ECM
      G01410092Courtesy of © TOYOTA, LICENSE AGREEMENT TMS1002

      Standard: 

      Fig 2: Terminal Voltage Chart
      G01410091Courtesy of © TOYOTA, LICENSE AGREEMENT TMS1002
    1. OK: PROCEED TO NEXT CIRCUIT INSPECTION SHOWN ON PROBLEM SYMPTOMS TABLE (See  PROBLEM SYMPTOMS TABLE   ) 
    2. NG: Go to next step. 
  2. CHECK WIRE HARNESS (ECM - BODY GROUND) 
    1. Disconnect the E6 ECM connector.
      Fig 3: Disconnecting E6 ECM Connector
      G01410094Courtesy of © TOYOTA, LICENSE AGREEMENT TMS1002
    2. Measure the resistance of the wire harness side connectors.

      Standard: 

      Fig 4: Resistance Specification Chart
      G01410093Courtesy of © TOYOTA, LICENSE AGREEMENT TMS1002
    3. Reconnect the ECM connector.
    1. NG: REPAIR OR REPLACE HARNESS AND CONNECTOR 
    2. OK: Go to next step. 
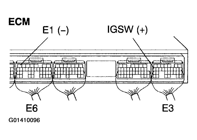
  3. INSPECT ECM (IGSW VOLTAGE) 
    1. Turn the ignition switch ON.
    2. Measure the voltage of the ECM connectors.
      Fig 5: Identifying Connector Terminals ECM
      G01410096Courtesy of © TOYOTA, LICENSE AGREEMENT TMS1002

      Standard: 

      Fig 6: Terminal Voltage Chart
      G01410095Courtesy of © TOYOTA, LICENSE AGREEMENT TMS1002
    1. OK: Go to step   6 
    2. NG: Go to next step. 
  4. INSPECT FUSE (IGN) 
    1. Remove the IGN fuse from the engine room Relay Block (R/B).
      Fig 7: Removing IGN Fuse From Engine Room Relay Block (R/B)
      G01410097Courtesy of © TOYOTA, LICENSE AGREEMENT TMS1002
    2. Measure the resistance.

      Standard: Below 1 Ω 

    3. Reinstall the IGN fuse.
    1. NG: CHECK FOR SHORT IN ALL HARNESSES AND COMPONENTS CONNECTED FUSE 
    2. OK: Go to next step. 
  5. INSPECT IGNITION SWITCH 

    Measure the resistance of the ignition switch.

    Fig 8: Identifying Connector Terminals Ignition Switch
    G01410099Courtesy of © TOYOTA, LICENSE AGREEMENT TMS1002

    Standard: 

    Fig 9: Resistance Condition Chart
    G01410098Courtesy of © TOYOTA, LICENSE AGREEMENT TMS1002
    1. NG: REPAIR OR REPLACE IGNITION SWITCH 
    2. OK: Go to next step. 

      CHECK AND REPAIR HARNESS AND CONNECTOR (BATTERY - IGNITION SWITCH, IGNITION SWITCH - ECM) 

  6. INSPECT ECM (MREL VOLTAGE) 
    1. Turn the ignition switch ON.
    2. Measure the voltage of the ECM.
      Fig 10: Identifying Connector Terminals ECM
      G01410101Courtesy of © TOYOTA, LICENSE AGREEMENT TMS1002

      Standard: 

      Fig 11: Terminal Voltage Chart
      G01410100Courtesy of © TOYOTA, LICENSE AGREEMENT TMS1002
    1. NG: REPLACE ECM (SEE  REPLACEMENT  ) 
    2. OK: Go to next step. 
  7. CHECK FUSE (EFI NO. 1) 
    1. Remove the EFI NO. 1 fuse from the engine room R/B.
      Fig 12: Removing EFI No. 1 Fuse From Engine Room R/B
      G01410102Courtesy of © TOYOTA, LICENSE AGREEMENT TMS1002
    2. Measure the resistance.

      Standard: Below 1 Ω 

    1. NG: REPLACE FUSE (EFI NO. 1) 
    2. OK: Go to next step. 
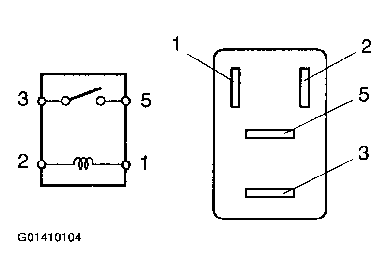
  8. INSPECT EFI MAIN RELAY 
    1. Remove the EFI MAIN relay from the engine room R/B.
    2. Measure the resistance.
      Fig 13: Identifying Connector Terminals EFI
      G01410104Courtesy of © TOYOTA, LICENSE AGREEMENT TMS1002

      Standard: 

      Fig 14: Resistance Specification Chart
      G01410103Courtesy of © TOYOTA, LICENSE AGREEMENT TMS1002
    1. NG: REPLACE EFI MAIN RELAY 
    2. OK: Go to next step. 
  9. CHECK WIRE HARNESS (EFI MAIN RELAY - ECM, EFI MAIN RELAY - BODY GROUND) 
    1. Check the wire harness between the EFI MAIN relay ECM.
      1. Remove the EFI MAIN relay from the engine room R/B.
        Fig 15: Removing EFI Main Relay
        G01410107Courtesy of © TOYOTA, LICENSE AGREEMENT TMS1002
      2. Disconnect the E3 ECM connector.
        Fig 16: Disconnecting E3 ECM Connector
        G01410108Courtesy of © TOYOTA, LICENSE AGREEMENT TMS1002
      3. Measure the resistance of the wire harness side connectors.

        Standard: 

        Fig 17: Resistance Specification Chart
        G01410105Courtesy of © TOYOTA, LICENSE AGREEMENT TMS1002
    2. Check the wire harness between the EFI MAIN relay and the body ground.
      1. Remove the EFI MAIN relay from the engine room R/B.
      2. Measure the resistance of the wire harness side connector.

        Standard: 

        Fig 18: Resistance Condition Chart
        G01410106Courtesy of © TOYOTA, LICENSE AGREEMENT TMS1002
    1. NG: CHECK AND REPAIR HARNESS A CONNECTOR (TERMINAL +B OF ECM -BATTERY POSITIVE TERMINAL) 
    2. OK: Go to next step. 

      REPAIR OR REPLACE HARNESS AND CONNECTOR