LEMON Manuals: Even more car manuals for everyone: 1960-2025
Home >> Lexus >> 2004 >> LS 430 >> Repair and Diagnosis >> Restraints >> Restraints Control Systems >> Seat Belt System >> Power Shoulder Belt Anchorage System >> System Diagram
April 5, 2026: LEMON Manuals is launched! Read the announcement.

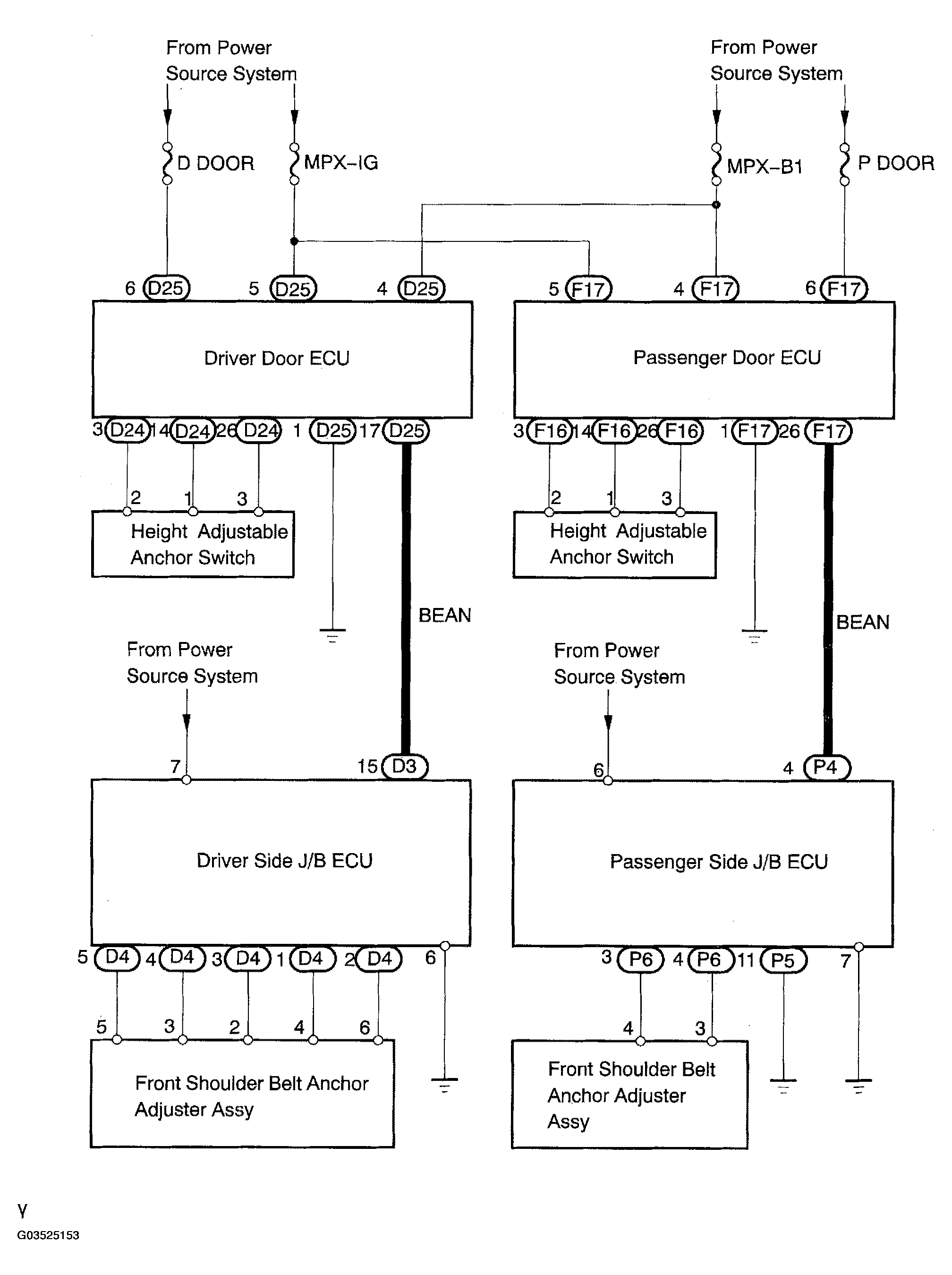
System Diagram

Fig 1: Power Shoulder Belt Anchorage System Circuit Diagram
G03525153Courtesy of © TOYOTA, LICENSE AGREEMENT TMS1002