LEMON Manuals: Even more car manuals for everyone: 1960-2025
Home >> Lexus >> 2004 >> LS 430 >> Repair and Diagnosis >> Steering >> Steering Control Systems >> Steering Column >> Steering Column ASSY >> Overhaul
April 5, 2026: LEMON Manuals is launched! Read the announcement.

Steering Column ASSY: Overhaul

NOTE:
  • If the airbag connector is disconnected with the ignition switch in the ON position, DTCs will be recorded.
  • When using a vise, do not overtighten it.
  • Coat parts indicated by arrows with molybdenum disulfide lithium base grease (see COMPONENTS ).

HINT:

  1. PRECAUTION (SEE  AIR BAG SAFETY PRECAUTIONS  ) 
  2. DISCONNECT BATTERY NEGATIVE TERMINAL (SEE  AIR BAG SAFETY PRECAUTIONS  ) 
  3. PLACE FRONT WHEELS FACING STRAIGHT AHEAD 
  4. REMOVE SWITCH & VOLUME CASE 
  5. REMOVE STEERING WHEEL COVER LOWER NO.2 
  6. REMOVE HORN BUTTON ASSY 
    1. Using a Torx socket wrench (T30), loosen the 2 Torx screws until the groove along the screw circumference is caught on the screw case.
      Fig 1: Removing Horn Button Assy
      G01052209Courtesy of © TOYOTA, LICENSE AGREEMENT TMS1002
    2. Pull out the horn button assy from the steering wheel and disconnect the airbag connectors.
    3. Disconnect the terminal.
      NOTE: When removing the horn button assy, take care not to pull the airbag wire harness.
      CAUTION:
      • When placing the horn button assy down, keep the upper surface of the horn button assy facing upward.
      • Never disassemble the horn button assy.
      Fig 2: Precaution For Pulling Airbag Wire Harness
      G01052210Courtesy of © TOYOTA, LICENSE AGREEMENT TMS1002
  7. REMOVE STEERING WHEEL ASSY 
    1. Remove the steering wheel assy set nut.
    2. Put matchmarks on the steering wheel assy and main shaft assy.
    3. Using SST, remove the steering wheel assy.

      SST 09950-50013 (09951-05010, 09952-05010, 09953-05020, 09954-05021)

      Fig 3: Putting Matchmarks On Steering Wheel Assy And Main Shaft Assy
      G01052211Courtesy of © TOYOTA, LICENSE AGREEMENT TMS1002
  8. REMOVE STEERING COLUMN COVER 
    1. Remove the 3 screws and the steering column cover.
      Fig 4: Removing Screws And Steering Column Cover
      G01052212Courtesy of © TOYOTA, LICENSE AGREEMENT TMS1002
  9. REMOVE SPIRAL CABLE SUB-ASSY (SEE  SPIRAL CABLE  ) 
  10. REMOVE TURN SIGNAL SWITCH ASSY (SEE  REPLACEMENT  ) 
  11. REMOVE INSTRUMENT CLUSTER FINISH PANEL CENTER LOWER (SEE  REPLACEMENT  ) 
  12. REMOVE INSTRUMENT CLUSTER FINISH PANEL END (SEE  REPLACEMENT  ) 
  13. REMOVE INSTRUMENT PANEL UNDER COVER SUB-ASSY NO.1 (SEE  REPLACEMENT  ) 
  14. REMOVE COIN BOX ASSY (SEE  REPLACEMENT  ) 
  15. REMOVE OUTER MIRROR SWITCH ASSY (SEE  REPLACEMENT  ) 
  16. REMOVE INSTRUMENT PANEL SAFETY PAD SUB-ASSY NO.1 (SEE  REPLACEMENT  ) 
  17. REMOVE INSTRUMENT PANEL AIR BAG ASSY LOWER NO. 1 (SEE  REPLACEMENT  ) 
  18. REMOVE AIR DUCT NO.1 
    1. Remove the screw.
    2. Remove the air duct No.1
  19. REMOVE AIR SEALED PLATE LH 
    1. Remove the 2 clips and the air sealed plate LH.
    2. Put matchmarks on the steering sliding w/ shaft yoke sub-assy and control valve shaft.
    3. Loosen bolt A and remove bolt B.
    4. Slide the steering sliding w/ shaft yoke sub-assy in the direction shown by the arrow in the illustration and remove it.
      Fig 5: Putting Matchmarks On Steering Sliding W/ Shaft Yoke Sub-Assy And Control Valve Shaft
      G01052213Courtesy of © TOYOTA, LICENSE AGREEMENT TMS1002
  20. REMOVE STEERING COLUMN ASSY 
    1. Disconnect the connectors.
    2. Using SST, remove the return spring.

      SST 09921-00010

    3. w/ Smart key system:

      Remove the bolt, 2 screws and the ignition switch assy.

    4. Loosen the steering column hole cover sub-assy No.1 clamp.
    5. Remove the bolt and 2 nuts to the steering column hole cover sub-assy No.1.
      Fig 6: Removing Bolt And 2 Nuts To Steering Column Hole Cover Sub-Assy No.1
      G01052214Courtesy of © TOYOTA, LICENSE AGREEMENT TMS1002
    6. Remove the 4 nuts and steering column assy.
      Fig 7: Removing Nuts And Steering Column Assy
      G01052215Courtesy of © TOYOTA, LICENSE AGREEMENT TMS1002
  21. REMOVE STEERING INTERMEDIATE SHAFT ASSY NO.2 
    1. Put matchmarks on the intermediate shaft assy No.2 and steering main shaft assy.
    2. Remove the bolt and steering intermediate shaft assy No.2
      Fig 8: Putting Matchmarks On Intermediate Shaft Assy No.2 And Steering Main Shaft Assy
      G01052216Courtesy of © TOYOTA, LICENSE AGREEMENT TMS1002
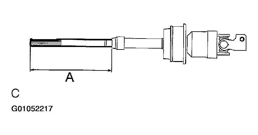
  22. INSPECT STEERING INTERMEDIATE SHAFT ASSY NO.2 
    1. Measure dimension A of the steering intermediate shaft assy No.2 as shown in the illustration.

      If dimension A is not within the specified range, replace the steering intermediate shaft assy No.2 with a new one.

      Standard Value: 172 to 178 mm (6.77 to 7.01 in.) 

      Fig 9: Measuring Dimension Of Steering Intermediate Shaft Assy No.2
      G01052217Courtesy of © TOYOTA, LICENSE AGREEMENT TMS1002
  23. REMOVE STEERING COLUMN HOLE COVER SUB-ASSY NO.1 
    1. Remove the steering column hole cover sub-assy No.1.
  24. INSPECT STEERING COLUMN ASSY 
    1. Check that the steering energy absorbing pin sub-assy, steering column energy absorbing plate guide are not damaged.

      If the steering energy absorbing pin sub-assy, steering column energy absorbing plate and/or steering energy absorbing plate guide are damaged, replace them with new ones.

      Fig 10: Inspecting Steering Column Assy
      G01052218Courtesy of © TOYOTA, LICENSE AGREEMENT TMS1002
    2. Check that the claws of the steering column ring No.1 are completely engaged in the groove of the main shaft.
      Fig 11: Identifying Claws Of Steering Column Ring Position
      G01052219Courtesy of © TOYOTA, LICENSE AGREEMENT TMS1002
  25. REMOVE WIRE HARNESS BRACKET 
    1. Using a screwdriver, remove the connector.

      HINT:

      Tape up the screwdriver tip before use.

    2. Remove the screw and the wire harness bracket.
  26. REMOVE TURN SIGNAL BRACKET 
    1. Remove the 3 screws and the turn signal bracket.
  27. REMOVE POWER TILT MOTOR 
    1. Using a hexagon wrench (4 mm), remove the tilt steering support stopper bolt.
    2. Using a magnet handle, remove the tilt steering stopper No.1 and the tilt steering support compression spring.
    3. Using a screwdriver, remove the tilt motor shaft lower E-ring and tilt motor shaft upper E-ring.
    4. Using a hexagon wrench (6 mm), remove the 2 tilt steering support stopper bolts No.1 and power tilt motor.
    5. Remove the 2 tilt steering support stopper bolt bushings from the power tilt motor.
      Fig 12: Removing Tilt Steering Support Stopper Bolt Bushings From Power Tilt Motor
      G01052220Courtesy of © TOYOTA, LICENSE AGREEMENT TMS1002
  28. REMOVE POWER TELESCOPIC MOTOR 
    1. Remove the 2 bolts and the power telescopic motor.
      Fig 13: Removing Bolts And Power Telescopic Motor
      G01052221Courtesy of © TOYOTA, LICENSE AGREEMENT TMS1002
  29. REMOVE TELESCOPIC STEERING COLUMN CABLE 
    1. Remove the telescopic steering column cable.
  30. REMOVE STEERING LOWER TUBE BRACKET NO.1 
    1. Remove the screw and steering lower tube bracket No.1
  31. REMOVE STEERING COLUMN TUBE SUPPORT 
    1. Remove the bolt and the steering column tube support together with the steering column tube attachment lower.
    2. Remove the steering column tube attachment lower from the steering column tube support.
  32. REMOVE STEERING ENERGY ABSORBING PIN SUB-ASSY 
    1. Using a screwdriver, remove the 2 steering energy absorbing pin sub-assys.

      HINT:

      Tape up the screwdriver tip before use.

      Fig 14: Removing Steering Energy Absorbing Pin Sub-Assys
      G01052222Courtesy of © TOYOTA, LICENSE AGREEMENT TMS1002
  33. REMOVE STEERING COLUMN ENERGY ABSORBING PLATE 
  34. REMOVE STEERING ENERGY ABSORBING PLATE GUIDE 
  35. REMOVE TELESCOPIC STEERING SLIDER SUPPORT 
    1. Remove the 2 bolts and the telescopic steering slider support.
  36. REMOVE TELESCOPIC STEERING SCREW 
    1. Using 2 wrenches, remove the nut, 4 steering main shaft bushing stoppers, 2 thrust ball bearings and the telescopic steering screw.
    2. Remove the telescopic steering bushing and steering column bracket spacer from the telescopic steering slider.
    3. Remove the telescopic steering slider from the telescopic steering screw.
      Fig 15: Removing Nut, Steering Main Shaft Bushing Stoppers, 2 Thrust Ball Bearings
      G01052223Courtesy of © TOYOTA, LICENSE AGREEMENT TMS1002
  37. REMOVE TELESCOPIC LEVER LOCK BOLT 
    1. Using a hexagon wrench (6 mm), remove the 2 telescope lever lock bolts.
    2. Remove the 2 telescopic steering wedge lock springs.
  38. REMOVE TILT STEERING SUPPORT BOND CABLE 
    1. Remove the 2 screws and the tilt steering support bond cable.
  39. REMOVE STEERING LOCK ACTUATOR & SWITCH SET (W/ SMART KEY) 
    1. Using a centering punch, mark the center of the 2 steering lock set bolts.
    2. Using a 3 to 4 mm (0.12 to 0.16 in.) drill, drill a hole in the 2 steering lock set bolt heads.
    3. Remove the steering column tube stopper bolt, steering lock actuator & switch set and the steering column clamp upper.
      Fig 16: Removing Steering Lock Actuator & Switch Set (W/ Smart Key)
      G01052224Courtesy of © TOYOTA, LICENSE AGREEMENT TMS1002
  40. REMOVE STEERING COLUMN UPPER W/SWITCH BRACKET ASSY (W/O SMART KEY) 
    1. Use the same manner as for the steering lock actuator & switch set.
  41. REMOVE LOCK WEDGE 
    1. Remove the 2 lock wedges and the 2 telescopic steering guides from the steering column clamp upper.
  42. REMOVE BREAK AWAY W/CAPSULE BRACKET SUB-ASSY 
    1. Using a screwdriver, remove the steering column ring No.1.
    2. Remove the break away w/ capsule bracket sub-assy.
      Fig 17: Removing Steering Column Ring No.1
      G01052225Courtesy of © TOYOTA, LICENSE AGREEMENT TMS1002
  43. REMOVE TELESCOPIC STEERING GUIDE 
    1. Remove the telescopic steering guide from the break away w/ capsule bracket sub-assy.
      Fig 18: Removing Telescopic Steering Guide From Break Away W/ Capsule Bracket Sub-Assy
      G01052226Courtesy of © TOYOTA, LICENSE AGREEMENT TMS1002
  44. REMOVE STEERING COLUMN TUBE ASSY 
    1. Using a hexagon wrench (6 mm), remove the 2 tilt steering bolts No.1 and the steering column tube assy together with the steering main shaft assy.
    2. Remove the steering column tube assy from the steering main shaft assy.
    3. Remove the 2 steering support stopper bolt bushings from the steering column tube assy.
      Fig 19: Removing Steering Support Stopper Bolt Bushings From Steering Column Tube Assy
      G01052227Courtesy of © TOYOTA, LICENSE AGREEMENT TMS1002
  45. REMOVE TILT STEERING ADJUSTING NUT NO.1 
    1. Set SST, a plate washer (36 mm outer diameter) and bolt (6 mm diameter, 1.0 mm pitch, 50 mm length), as shown in the illustration.

      SST 09910-00015 (09911-00011, 09912-00010)

      Reference:

      Plate washer 90201-10201

      Bolt 91111-51050

    2. Remove the 2 tilt steering shafts No.2 by using SST (sliding hammer) from the tilt steering adjusting nut No.1.
    3. Remove the 2 tilt steering support stopper bolt bushings from the tilt steering adjusting nut No.1.
      Fig 20: Setting SST, Plate Washer And Bolt
      G01052228Courtesy of © TOYOTA, LICENSE AGREEMENT TMS1002
  46. REMOVE STEERING MAIN SHAFT ASSY 
    1. Using SST and a nut, compress the steering main shaft compression spring.

      SST 09950-40011 (09958-04011)

      Reference:

      Nut 90179-06307

      Details:

      A 4.917 mm

      B 6.6 mm

      C 11.5 mm

      D 16 mm

    2. Using an expander set, remove the steering main shaft snap ring.
    3. Remove the steering main shaft assy from the steering column tube sub-assy upper.
    4. Remove the steering main shaft compression spring, steering main shaft bearing from the steering main shaft assy.
      Fig 21: Compressing Steering Main Shaft Compression Spring
      G01052229Courtesy of © TOYOTA, LICENSE AGREEMENT TMS1002
  47. REMOVE TRANSPONDER KEY AMPLIFIER (W/O SMART KEY) 
    1. Widen the claw hanging onto the upper bracket by approximately 1.0 mm (0.039 in.) using a screwdriver.
    2. Pull the transponder key amplifier with the claw open.
      Fig 22: Pulling Transponder Key Amplifier With Claw Open
      G01052230Courtesy of © TOYOTA, LICENSE AGREEMENT TMS1002
  48. REMOVE IGNITION SWITCH LOCK CYLINDER (W/O SMART KEY) 
    1. Place the ignition key in the ACC position.
    2. Using a screwdriver, push down the stop pin of the cylinder, and pull out the key cylinder.

      HINT:

      Make sure the key is in the ACC position.

      Fig 23: Pushing Down Stop Pin Of Cylinder
      G01052231Courtesy of © TOYOTA, LICENSE AGREEMENT TMS1002
  49. REMOVE UNLOCK WARNING SWITCH ASSY (W/O SMART KEY) 
  50. REMOVE KEY INTER LOCK SOLENOID (W/O SMART KEY) 
    1. Remove the 2 screws and key inter lock solenoid.
    2. Disconnect the connectors.
  51. REMOVE IGNITION OR STARTER SWITCH ASSY (W/O SMART KEY) 
    1. Remove the 2 screws and ignition or starter switch assy.
  52. INSPECT STEERING LOCK OPERATION (W/O SMART KEY) 
    1. Check that the steering lock mechanism operates properly.
      Fig 24: Inspecting Steering Lock Operation
      G01052232Courtesy of © TOYOTA, LICENSE AGREEMENT TMS1002
  53. INSTALL IGNITION OR STARTER SWITCH ASSY (W/O SMART KEY) 
    1. Install the ignition or starter switch assy with the 2 screws.
  54. INSTALL KEY INTER LOCK SOLENOID (W/O SMART KEY) 
    1. Install the key inter lock solenoid with the 2 screws.
    2. Connect the connectors.
  55. INSTALL UNLOCK WARNING SWITCH ASSY (W/O SMART KEY) 
  56. INSTALL IGNITION SWITCH LOCK CYLINDER (W/O SMART KEY) 
  57. INSTALL TRANSPONDER KEY AMPLIFIER (W/O SMART KEY) 
    1. Align the transponder key amplifier with the installation position of the upper bracket with the amplifier inclined.
    2. Push the transponder key amplifier up and connect it to the upper bracket.
      Fig 25: Installing Transponder Key Amplifier
      G01052233Courtesy of © TOYOTA, LICENSE AGREEMENT TMS1002
  58. REMOVE TRANSPONDER KEY AMPLIFIER (W/ SMART KEY) 
    1. Disengage the 4 claws and remove the transponder key amplifier.
      Fig 26: Removing Transponder Key Amplifier
      G01052234Courtesy of © TOYOTA, LICENSE AGREEMENT TMS1002
  59. REMOVE IGNITION OR STARTER SWITCH ASSY (W/ SMART KEY) 
    1. Place the ignition key in the ACC position.
    2. Remove the 2 screws and the ignition or starter switch assy.
      Fig 27: Removing Screws And Ignition Or Starter Switch Assy
      G01052235Courtesy of © TOYOTA, LICENSE AGREEMENT TMS1002
  60. REMOVE STARTER SWITCH KNOB (W/ SMART KEY) 
    1. Using a screwdriver, remove the starter switch knob.
  61. INSTALL STARTER SWITCH KNOB (W/ SMART KEY) 
  62. INSTALL IGNITION OR STARTER SWITCH ASSY (W/ SMART KEY) 
  63. INSTALL TRANSPONDER KEY AMPLIFIER (W/ SMART KEY) 
  64. INSPECT STEERING MAIN SHAFT BEARING 
    1. Check the bearing rotation condition and check for abnormal noise.

      If the steering main shaft bearing is worn or damaged, replace the steering column tube sub-assy upper.

      Fig 28: Inspecting Steering Main Shaft Bearing
      G01052236Courtesy of © TOYOTA, LICENSE AGREEMENT TMS1002
  65. INSTALL STEERING MAIN SHAFT ASSY 
    1. Install the steering main shaft compression spring and a new steering main shaft bearing to the steering main shaft assy.
    2. Install the steering main shaft assy to the steering column tube sub-assy upper.
    3. Using SST and a nut, compress the steering main shaft compression spring.

      SST 09950-40011 (09958-04011)

      Reference:

      Nut 90179-06307

      Details:

      A 4.917 mm

      B 6.6 mm

      C 11.5 mm

      D 16 mm

    4. Using an expander set, install a new steering main shaft snap ring.
      Fig 29: Installing Steering Main Shaft Assy
      G01052237Courtesy of © TOYOTA, LICENSE AGREEMENT TMS1002
  66. INSTALL TILT STEERING ADJUSTING NUT NO.1 
    1. Install 2 new tilt steering support stopper bolt bushings to the tilt steering adjusting nut No.1.
    2. Using a brass bar and hammer, install the 2 tilt steering shafts No.2 and the tilt steering adjusting nut No.1 to the steering column tube assy.
      NOTE: Tap lightly when installing the two tilt steering shafts No.2.
      Fig 30: Installing Tilt Steering Shafts No.2
      G01052238Courtesy of © TOYOTA, LICENSE AGREEMENT TMS1002
  67. INSTALL STEERING COLUMN TUBE ASSY 
    1. Install 2 new steering support stopper bolt bushings to the tilt steering column tube assy.
    2. Using a hexagon wrench (6 mm), install the 2 tilt steering support stopper bolts No.1 and the steering column tube assy together with the steering main shaft assy.

      Torque: 20 N.m (204 kgf.cm, 15 ft.lbf) 

  68. INSTALL TILT STEERING SUPPORT BOND CABLE 
    1. Install the steering support bond cable with the 2 screws as shown in the illustration.
      NOTE: Be sure to install in the correct direction.
      Fig 31: Installing Steering Support Bond Cable With Screws
      G01052239Courtesy of © TOYOTA, LICENSE AGREEMENT TMS1002
  69. INSTALL TELESCOPIC STEERING GUIDE 
    1. Install the telescopic steering guide to the break away w/ capsule bracket sub-assy.
      Fig 32: Installing Telescopic Steering Guide
      G01052240Courtesy of © TOYOTA, LICENSE AGREEMENT TMS1002
  70. INSTALL BREAK AWAY W/CAPSULE BRACKET SUB-ASSY 
    1. Install the break away w/ capsule bracket sub-assy to the steering column tube assy.
    2. Install a new steering column ring No. 1.
      NOTE:
      • Install the steering column No.1 to the main shaft so that the white markings are facing out.
      • Securely install the snap ring in the groove on the main shaft assy.
      Fig 33: Installing Steering Column No.1 To Main Shaft
      G01052241Courtesy of © TOYOTA, LICENSE AGREEMENT TMS1002
  71. INSTALL LOCK WEDGE 
    1. Install the lock wedge and the telescopic steering guide to the steering column clamp upper.
  72. INSTALL STEERING LOCK ACTUATOR & SWITCH SET (W/ SMART KEY) 
    1. Engage 2 new steering lock set bolts to the steering lock actuator & switch set and steering column clamp upper.
    2. Engage the steering column tube stopper bolt.
    3. Tighten the 2 steering lock set bolts until the heads break off.
    4. Tighten the steering column tube stopper bolt.

      Torque: 15 N.m (153 kgf.cm, 11 ft.lbf) 

      Fig 34: Tightening Steering Lock Set Bolts
      G01052242Courtesy of © TOYOTA, LICENSE AGREEMENT TMS1002
  73. INSTALL STEERING COLUMN UPPER W/SWITCH BRACKET ASSY (W/O SMART KEY) 
    1. Use the same manner as for the steering lock actuator & switch set (w/ smart key).
  74. INSTALL TELESCOPE LEVER LOCK BOLT 
    1. Install the 2 telescopic steering wedge lock springs.
    2. Using a hexagon wrench (6 mm), install the 2 telescope lever lock bolts.

      Torque: 20 N.m (204 kgf.cm, 15 ft.lbf) 

  75. INSTALL TELESCOPIC STEERING SCREW 
    1. Install the telescopic steering slider.
    2. Install the telescopic steering bushing and steering column bracket spacer to the telescopic steering slider.
    3. Install the 4 steering main shaft bushing stoppers, 2 thrust ball bearings and the telescopic steering screws.
    4. Using pliers and a wrench, install the nut.
      NOTE:
      • Check that there is no looseness after installation.
      • Install the telescopic steering screw securely (0.8 N.m or less).
      Fig 35: Installing Nut Using Pliers And Wrench
      G01052243Courtesy of © TOYOTA, LICENSE AGREEMENT TMS1002
  76. INSTALL TELESCOPIC STEERING SLIDER SUPPORT 
    1. Install the telescopic steering slider support with the 2 bolts.

      Torque: 11 N.m (112 kgf.cm, 8 ft.lbf) 

  77. INSTALL STEERING ENERGY ABSORBING PLATE GUIDE 
    1. Install 2 new steering energy absorbing plate guide.
      NOTE:
      • Be sure to install in the correct direction.
      • Securely install the steering energy absorbing plate guide.
      Fig 36: Installing Steering Energy Absorbing Plate Guide
      G01052244Courtesy of © TOYOTA, LICENSE AGREEMENT TMS1002
  78. INSTALL STEERING COLUMN ENERGY ABSORBING PLATE 
    1. Install 2 new steering column energy absorbing plate.
      NOTE: Securely install the steering column energy absorbing plate.
  79. INSTALL STEERING ENERGY ABSORBING PIN SUB-ASSY 
    1. Install 2 new steering energy absorbing pin sub-assy.
      NOTE:
      • Install the steering column energy absorbing pin sub-assy.
      • Check that there is not too much looseness after installation.
      Fig 37: Installing Steering Column Energy Absorbing Pin Sub-Assy
      G01052245Courtesy of © TOYOTA, LICENSE AGREEMENT TMS1002
  80. INSTALL STEERING COLUMN TUBE SUPPORT 
    1. Install the steering column tube attachment lower to the steering column tube support.
    2. Install the steering column tube support with the bolt.

      Torque: 15 N.m (153 kgf.cm, 11 ft.lbf) 

  81. INSTALL STEERING LOWER TUBE BRACKET NO.1 
    1. Install the steering lower tube bracket No.1 with the screw.
  82. INSTALL TELESCOPIC STEERING COLUMN CABLE 
    1. Install the telescopic steering column cable.
  83. INSTALL POWER TELESCOPIC MOTOR 
    1. Install the power telescopic motor with the 2 bolts.

      Torque: 9.0 N.m (92 kgf.cm, 80 in.lbf) 

      Fig 38: Installing Power Telescopic Motor With 2 Bolts
      G01052246Courtesy of © TOYOTA, LICENSE AGREEMENT TMS1002
  84. INSTALL POWER TILT MOTOR 
    1. Install 2 new tilt steering support bolt bushings to the power tilt motor.
    2. Install the power tilt motor.
    3. Using a hexagon wrench (6 mm), install the 2 tilt steering support stopper bolts No.1.

      Torque: 20 N.m (204 kgf.cm, 15 ft.lbf) 

    4. Using needle nose pliers, install the tilt motor shaft lower E-ring and tilt motor shaft upper E-ring.
    5. Install the tilt steering stopper No.1 and the tilt steering stopper compression spring.
    6. Using a hexagon wrench (4 mm), install the tilt steering stopper bolt.

      Torque: 5.0 N.m (51 kgf.cm, 44 in.lbf) 

      NOTE: Be sure to install in the correct direction.
      Fig 39: Installing Power Tilt Motor
      G01052247Courtesy of © TOYOTA, LICENSE AGREEMENT TMS1002
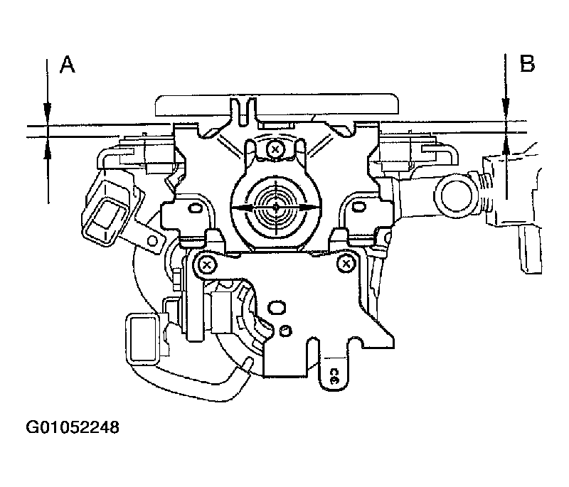
  85. INSTALL TURN SIGNAL BRACKET 
    1. Install the turn signal bracket with the 3 screws.
      NOTE:
      • Clearance between the turn signal bracket and the steering column tube should be the same.
      • The connecting part of the turn signal switch and break away bracket should be held horizontally so that they can be installed together properly. (Dimensions A and B should be equal.)
      Fig 40: Installing Turn Signal Bracket
      G01052248Courtesy of © TOYOTA, LICENSE AGREEMENT TMS1002
  86. INSTALL WIRE HARNESS BRACKET 
    1. Install the wire harness bracket with the screw.

      Torque: 5.0 N.m (51 kgf.cm, 44 in.lbf) 

    2. Connect the connector.
  87. INSTALL STEERING INTERMEDIATE SHAFT ASSY NO.2 
    1. Align the matchmarks on the steering intermediate shaft assy No.2 and main shaft assy.
    2. Install the bolt.

      Torque: 35.3 N.m (360 kgf.cm, 26 ft.lbf) 

      Fig 41: Aligning Matchmarks On Steering Intermediate Shaft Assy No.2 And Main Shaft Assy
      G01052249Courtesy of © TOYOTA, LICENSE AGREEMENT TMS1002
  88. INSTALL STEERING COLUMN HOLE COVER SUB-ASSY NO.1 
    1. Install the steering column hole cover sub-assy No.1.
  89. INSTALL STEERING COLUMN ASSY 
    1. Install the steering column assy with the 4 nuts.

      Torque: 25.5 N.m (260 kgf.cm, 19 ft.lbf) 

    2. w/ smart key system:

      Install the ignition switch assy with the bolt and 2 screws.

    3. Install the steering column hole cover sub-assy No.1 with the bolt and 2 nuts.

      Torque: 5.0 N.m (51 kgf.cm, 44 in.lbf) 

      Fig 42: Installing Steering Column Assy
      G01052250Courtesy of © TOYOTA, LICENSE AGREEMENT TMS1002
    4. Using SST, Install the return spring.

      SST 09921-00010

    5. Connect the connectors.
      Fig 43: Installing Return Spring
      G01052251Courtesy of © TOYOTA, LICENSE AGREEMENT TMS1002
  90. INSTALL AIR SEALED PLATE LH 
    1. Align the matchmarks on the steering sliding w/shaft yoke sub-assy and control valve shaft.
    2. Tighten bolts A and B

      Torque: 35.3 N.m (360 kgf.cm, 26 ft.lbf) 

    3. Install the air sealed plate LH with the 2 clips.
      Fig 44: Aligning Matchmarks On Steering Sliding W/Shaft Yoke Sub-Assy And Control Valve Shaft
      G01052252Courtesy of © TOYOTA, LICENSE AGREEMENT TMS1002
  91. INSTALL AIR DUCT NO.1 
    1. Install the air duct No.1.
    2. Install the screw.
  92. INSTALL TURN SIGNAL SWITCH ASSY (SEE  REPLACEMENT  ) 
  93. INSTALL SPIRAL CABLE SUB-ASSY (SEE  SPIRAL CABLE  ) 
  94. INSTALL STEERING COLUMN COVER 
    1. Install the steering column cover with the 3 screws.
      Fig 45: Installing Steering Column Cover With Screws
      G01052253Courtesy of © TOYOTA, LICENSE AGREEMENT TMS1002
  95. INSTALL INSTRUMENT PANEL AIR BAG ASSY LOWER NO.1 (SEE  KNEE IMPACT AIR BAG MODULE  ) 
  96. INSTALL STEERING WHEEL ASSY 
    1. Align the matchmarks on the steering wheel assy and steering main shaft assy.
    2. Install the steering wheel assy set nut.

      Torque: 50 N.m (510 kgf.cm, 37 ft.lbf) 

  97. PLACE FRONT WHEELS FACING STRAIGHT AHEAD 
  98. INSTALL HORN BUTTON ASSY 
    NOTE:
    • Never use airbag parts removed from another vehicle. When replacing parts, replace with new ones.
    • Make sure the wheel pad is installed with the specified torque.
    • If the wheel pad is dropped or there are cracks, dents or other defects on the case or connector, replace the wheel pad with a new one.
    • When installing the wheel pad, take care so that the wiring does not interfere with other parts and that they are not pinched between other parts.
    1. Connect the terminal.
    2. Connect the connectors to the horn button assy.
    3. Install the steering wheel pad after confirming that the circumference groove of the Torx screws is caught on the screw case.
    4. Using a Torx socket wrench (30T), torque the 2 Torx screws.

      Torque: 8.8 N.m (90 kgf.cm, 78 in.lbf) 

      Fig 46: Installing Horn Button Assy
      G01052254Courtesy of © TOYOTA, LICENSE AGREEMENT TMS1002
  99. CONNECT BATTERY NEGATIVE TERMINAL 
  100. INSPECT HORN BUTTON ASSY (SEE  HORN SYSTEM  ) 
  101. SRS WARNING LIGHT (SEE  AIR BAG WARNING LIGHT DOES NOT ILLUMINATE  ) 
  102. PERFORM INITIALIZATION (SEE  INITIALIZATION  )