LEMON Manuals: Even more car manuals for everyone: 1960-2025
Home >> Lexus >> 2004 >> LX 470 >> Repair and Diagnosis >> Engine Performance >> Adjustment >> Engine Mechanical >> Timing Belt >> Removal
April 5, 2026: LEMON Manuals is launched! Read the announcement.

Timing Belt: Removal

  1. REMOVE OIL PAN PROTECTOR 
  2. REMOVE ENGINE UNDER COVER 
  3. DRAIN ENGINE COOLANT 
  4. REMOVE BATTERY CLAMP COVER 
  5. REMOVE V-BANK COVER 
    1. Remove the fuel return hose from the V-bank cover.
    2. Remove the 2 bolt, 2 cap nuts and V-bank cover.
  6. REMOVE AIR CLEANER AND INTAKE AIR CONNECTOR ASSEMBLY 
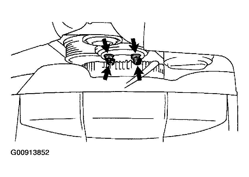
  7. REMOVE DRIVE BELT, FAN, FLUID COUPLING AND FAN PULLEY 
    1. Loosen the 4 nuts holding the fluid coupling to the fan bracket.
    2. Remove the generator drive belt. (See GENERATOR )
    3. Remove the 4 nuts, the fan, the fluid coupling assembly and the fan pulley.
    4. Fig 1: Removing Nuts & Fan
      G00913852Courtesy of © TOYOTA, LICENSE AGREEMENT TMS1002
  8. REMOVE RADIATOR ASSEMBLY (See  REMOVAL  ) 
  9. REMOVE DRIVE BELT IDLER PULLEY 

    Remove the pulley bolt, the cover plate and the idler pulley.

  10. REMOVE RH NO. 3 TIMING BELT COVER 

    Remove the 3 bolts, the nut and the RH No. 3 timing belt cover.

    Fig 2: Removing Timing Belt Cover & Bolt
    G00913853Courtesy of © TOYOTA, LICENSE AGREEMENT TMS1002
  11. REMOVE LH NO. 3 TIMING BELT COVER 
    1. Disconnect the engine wire from the 2 wire clamps.
    2. Remove the 4 bolts and the nut.
    3. Disconnect the camshaft position sensor wire from the wire clamp on the LH No. 3 timing belt cover.
    4. Disconnect the sensor connector from the connector bracket.
    5. Disconnect the sensor connector.
    6. Remove the wire grommet from the LH No. 3 timing belt cover.
    7. Remove the LH No. 3 timing belt cover.
    8. Remove the oil cooler pipe and the 2 bolts.
    Fig 3: Removing LH No. 3 Timing Belt Cover
    G00913854Courtesy of © TOYOTA, LICENSE AGREEMENT TMS1002
  12. REMOVE NO. 2 TIMING BELT COVER 

    Remove the 2 bolts and the No. 2 timing belt cover.

  13. Fig 4: Removing No. 2 Timing Belt Cover
    G00913855Courtesy of © TOYOTA, LICENSE AGREEMENT TMS1002
  14. DISCONNECT A/C COMPRESSOR FROM ENGINE (See  REMOVAL  ) 
  15. REMOVE FAN BRACKET 

    Remove the 2 bolts, the 2 nuts and the fan bracket.

    Fig 5: Removing Fan Bracket
    G00913856Courtesy of © TOYOTA, LICENSE AGREEMENT TMS1002
  16. IF RE-USING TIMING BELT, CHECK INSTALLATION MARKS ON TIMING BELT 

    Check that there are 3 installation marks on the timing belt as turning the crankshaft pulley as shown in Fig 6 .

    HINT:

    If the installation marks are disappeared, place a new installation mark on the timing belt before removing each part.

    Fig 6: Locating Installation Marks
    G00913857Courtesy of © TOYOTA, LICENSE AGREEMENT TMS1002
  17. LOOSEN CRANKSHAFT PULLEY BOLT 

    Using SST, loosen the pulley bolt.

    1. SST 09213-70011 (90105-70020), 09330-00021
    Fig 7: Loosening Pulley Bolt Using SST
    G00913858Courtesy of © TOYOTA, LICENSE AGREEMENT TMS1002
  18. SET NO. 1 CYLINDER TO TDC/COMPRESSION 
    1. Turn the crankshaft pulley and align its groove with the timing mark "0" of the No. 1 timing belt cover.
      Fig 8: Turning Crankshaft Pulley & Aligning Its Groove
      G00913859Courtesy of © TOYOTA, LICENSE AGREEMENT TMS1002
    2. Check that the timing marks of the camshaft timing pulleys and that of the timing belt rear plates aligned.

      If not, turn the crankshaft 1 revolution (360°).

    3. Fig 9: Checking Timing Marks Of Camshaft Timing Pulleys & Timing Belt Rear Plates Align
      G00913860Courtesy of © TOYOTA, LICENSE AGREEMENT TMS1002
    4. Remove the crankshaft pulley bolt.
    NOTE: Do not turn the crankshaft pulley. 
  19. REMOVE TIMING BELT TENSIONER 

    HINT:

    • When re-using timing belt:

      If the installation marks are disappeared, place 2 new installation marks on the timing belt to match the timing marks of the camshaft timing pulleys before the removal.

      Fig 10: Placing Installation Marks On Timing Belt
      G00913861Courtesy of © TOYOTA, LICENSE AGREEMENT TMS1002
    • When replacing timing belt tensioner only:

      To avoid meshing of the timing pulley and the timing belt, secure one of them with string, and then place matchmarks on the timing belt and the RH camshaft timing pulley.

      Fig 11: Securing Timing Pulley Or Timing Belt With String
      G00913862Courtesy of © TOYOTA, LICENSE AGREEMENT TMS1002

      Alternately loosen the 2 bolts, and remove the belt tensioner and the dust boot.

      Fig 12: Removing Belt Tensioner & Dust Boot
      G00913863Courtesy of © TOYOTA, LICENSE AGREEMENT TMS1002
  20. DISCONNECT TIMING BELT FROM CAMSHAFT TIMING PULLEYS 
    1. Using SST, loosen the tension spring between the LH and RH camshaft timing pulleys by slightly turning the LH camshaft timing pulley clockwise.
      1. SST 09960-10010 (09962-01000, 09963-01000)
    2. Disconnect the timing belt from the camshaft timing pulleys.
    Fig 13: Loosening Tension Spring Using SST
    G00913864Courtesy of © TOYOTA, LICENSE AGREEMENT TMS1002
  21. REMOVE CAMSHAFT TIMING PULLEYS 

    Using SST, remove the bolt and the timing pulley. Remove the 2 timing pulleys.

    1. SST 09960-10010 (09962-01000,09963-01000)
    Fig 14: Removing Bolt & Timing Pulley Using SST
    G00913865Courtesy of © TOYOTA, LICENSE AGREEMENT TMS1002
  22. REMOVE GENERATOR (See  REMOVAL & INSTALLATION  ) 
  23. REMOVE DRIVE BELT TENSIONER 

    Remove the bolt, 2 nuts and the belt tensioner.

  24. REMOVE CRANKSHAFT PULLEY 

    Using SST, remove the crankshaft pulley.

    1. SST 09950-50013 (09951-05010, 09952-05010, 09953-05010, 09953-05020, 09954-05020, 09954-05021)
    Fig 15: Removing Crankshaft Pulley Using SST
    G00913866Courtesy of © TOYOTA, LICENSE AGREEMENT TMS1002
    NOTE: Do not turn the crankshaft pulley. 
  25. REMOVE NO. 1 TIMING BELT COVER 

    Remove the 4 bolts and the timing belt cover.

    Fig 16: Removing Bolts & Timing Belt Guide
    G00913867Courtesy of © TOYOTA, LICENSE AGREEMENT TMS1002
  26. REMOVE TIMING BELT GUIDE 
  27. REMOVE TIMING BELT COVER SPACER 
  28. REMOVE TIMING BELT 

    HINT:

    If re-using the belt and the installation mark is disappeared from it, place a new installation mark on the timing belt to the match the dot mark on the crankshaft timing pulley.

    Fig 17: Removing Timing Belt
    G00913868Courtesy of © TOYOTA, LICENSE AGREEMENT TMS1002
  29. REMOVE NO. 1 IDLER PULLEY AND NO. 2 IDLER PULLEY 
    1. Using a 10 mm hexagon wrench, remove the bolt, the No. 1 idler pulley and the plate washer.
    2. Remove the bolt and the No. 2 idler pulley.
    Fig 18: Removing Bolt Using Hexagonal Wrench
    G00913869Courtesy of © TOYOTA, LICENSE AGREEMENT TMS1002
  30. REMOVE CRANKSHAFT TIMING PULLEY 

    Using SST, remove the timing pulley.

    1. SST 09950-50013 (09951-05010, 09952-05010, 09953-05010, 09953-05020, 09954-05011, 09954-05021)
    NOTE: Do not turn the timing pulley. 
    Fig 19: Removing Timing Pulley Using SST
    G00913870Courtesy of © TOYOTA, LICENSE AGREEMENT TMS1002