LEMON Manuals: Even more car manuals for everyone: 1960-2025
Home >> Lexus >> 2004 >> LX 470 >> Repair and Diagnosis >> Suspension >> Electronic Suspension >> Control Valve Assembly >> Components
April 5, 2026: LEMON Manuals is launched! Read the announcement.

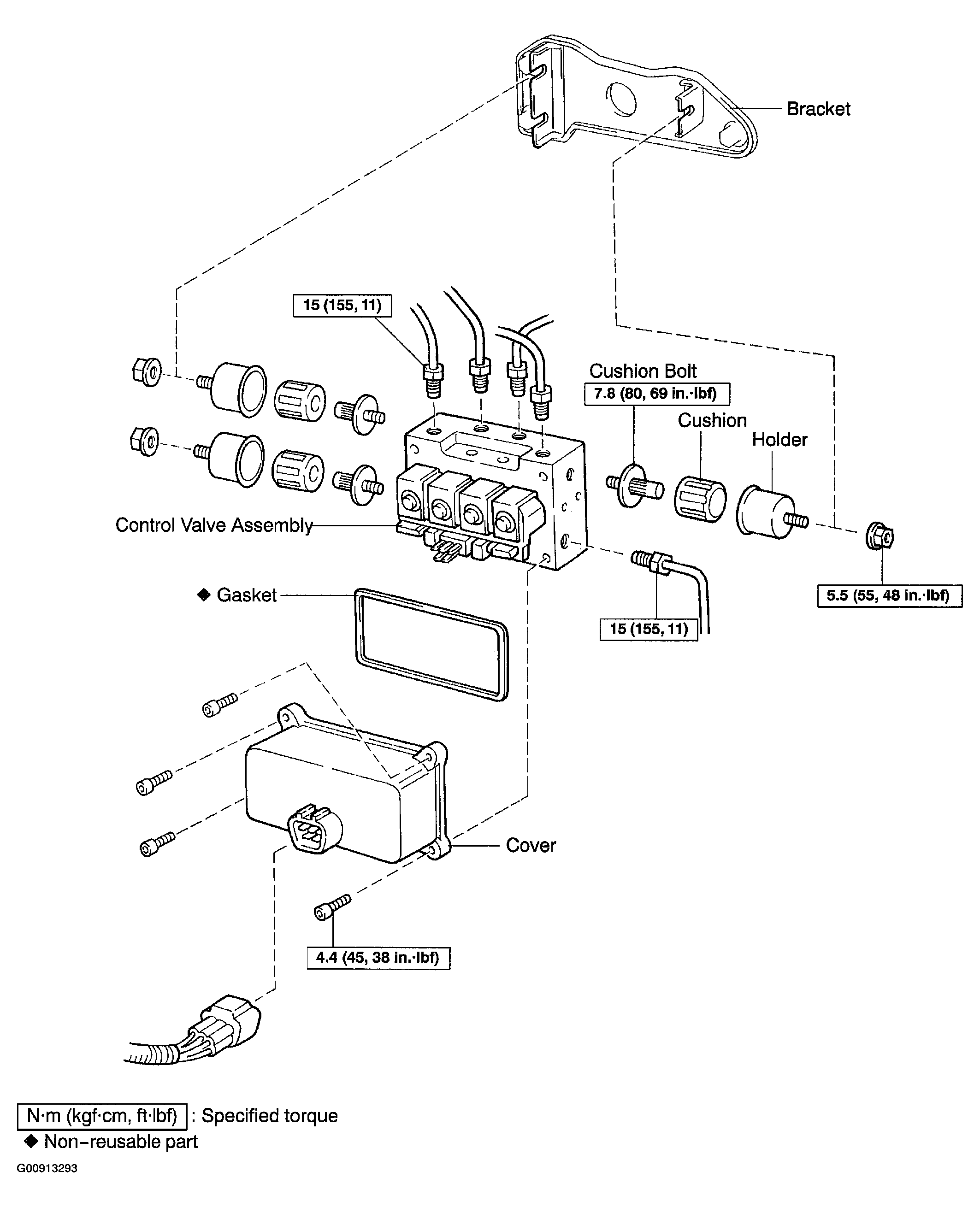
Control Valve Assembly: Components

Fig 1: Identifying Control Valve Assembly
G00913293Courtesy of © TOYOTA, LICENSE AGREEMENT TMS1002