LEMON Manuals: Even more car manuals for everyone: 1960-2025
Home >> Lexus >> 2004 >> RX 330 AWD >> Repair and Diagnosis >> Engine Performance >> System >> SFI System - Diagnosis >> ACIS Control Circuit >> Inspection Procedure
April 5, 2026: LEMON Manuals is launched! Read the announcement.

Inspection Procedure

Hand-held tester: 

  1. PERFORM ACTIVE TEST BY HAND-HELD TESTER (OPERATE VSV FOR ACIS) 
    1. Disconnect the vacuum hose.
    2. Connect the hand-held tester to the DLC3.
    3. Turn the ignition switch ON and hand-held tester main switch ON.
    4. Select the item "DIAGNOSIS/ENHANCED OBD II/ACTIVE TEST/INTAKE CTL VSV1" and operate the VSV for AICS.
    5. Check the VSV operation when it is operated by the hand-held tester.
      Fig 1: Checking VSV Operation
      G01395412Courtesy of © TOYOTA, LICENSE AGREEMENT TMS1002

      Standard: 

      Fig 2: Specified Conditions
      G01395411Courtesy of © TOYOTA, LICENSE AGREEMENT TMS1002
    6. Reconnect the vacuum hose.
    1. OK: Go to step   4 
    2. NG: GO TO NEXT STEP. 
  2. CHECK VSV FOR ACIS (OPERATION) 
    1. Check that air flows from port E to the air filter.
      Fig 3: Checking That Air Flows From Port E To Air Filter
      G01395413Courtesy of © TOYOTA, LICENSE AGREEMENT TMS1002
    2. Apply battery positive voltage across the terminals.
    3. Check that air flows from port E to port F.
      Fig 4: Checking That Air Flows From Port E To Port F
      G01395414Courtesy of © TOYOTA, LICENSE AGREEMENT TMS1002
    1. OK: GO TO NEXT STEP. 
    2. NG: REPLACE VSV FOR ACIS 
  3. CHECK HARNESS AND CONNECTOR (VSV FOR ACIS - ECM, VSV FOR ACIS - EFI RELAY) 
    1. Check the wire harness between the VSV for ACIS connector and the ECM connector.
      1. Disconnect the V1 VSV for ACIS connector.
      2. Disconnect the E8 ECM connector.
      3. Check the resistance between the wire harness side connectors.
        Fig 5: Identifying VSV For ACIS Connector Terminals
        G01395417Courtesy of © TOYOTA, LICENSE AGREEMENT TMS1002
        Fig 6: Identifying ECM E8 Connector Terminal
        G01395418Courtesy of © TOYOTA, LICENSE AGREEMENT TMS1002

        Standard (Check for open): 

        Fig 7: Specified Conditions
        G01395415Courtesy of © TOYOTA, LICENSE AGREEMENT TMS1002

        Standard (Check for short): 

        Fig 8: Specified Conditions
        G01395416Courtesy of © TOYOTA, LICENSE AGREEMENT TMS1002
      4. Reconnect the VSV for ACIS connector.
      5. Reconnect the ECM connector.
    2. Check the wire harness between the VSV for ACIS and the EFI relay.
      1. Inspect the EFI No. 2 fuse.
        • Remove the EFI No. 2 fuse from the fusible link block.
        • Check for continuity in the EFI No. 2 fuse.
          1. Standard: Continuity 
        • Reinstall the EFI No. 2 fuse.
      2. Disconnect the V1 VSV for ACIS connector.
      3. Remove the EFI relay from the engine room R/B.
        Fig 9: Identifying EFI Relay Location & Terminals
        G01395420Courtesy of © TOYOTA, LICENSE AGREEMENT TMS1002
      4. Check the resistance between the wire harness side connectors.

        Standard (Check for open): 

        Fig 10: Specified Conditions
        G01395419Courtesy of © TOYOTA, LICENSE AGREEMENT TMS1002
      5. Reconnect the VSV for ACIS connector.
      6. Reinstall the EFI relay.
    1. OK: GO TO NEXT STEP. 
    2. NG: REPAIR OR REPLACE HARNESS OR CONNECTOR 
  4. CHECK VACUUM HOSE (INTAKE MANIFOLD - INTAKE AIR CONTROL VALVE, INTAKE AIR CONTROL VALVE - VSV FOR ACIS) 
    1. Check that the vacuum hoses are connected correctly.
    2. Check that the vacuum hoses are not loose or disconnected.
    3. Check the vacuum hoses for cracks, holes or damage.
    1. OK: GO TO NEXT STEP. 
    2. NG: REPAIR OR REPLACE VACUUM HOSE 
  5. INSPECT INTAKE AIR CONTROL VALVE (See  INSPECTION  ) 
    1. OK: REPLACE ECM (See  REPLACEMENT  in ENGINE CONTROL SYSTEM ) 
    2. NG: REPLACE INTAKE AIR CONTROL VALVE 

OBD II scan tool (excluding hand-held tester): 

  1. INSPECT VSV FOR ACIS (OPERATION) 
    1. Disconnect the VSV for ACIS connector.
    2. Check operation of the VSV for ACIS when battery positive voltage is applied to the terminals of the VSV for ACIS connector.
      1. Standard: 
      2. Battery positive voltage is not applied: 
      3. Air from port E flows out through the air filter. 
        Fig 11: Checking Operation Of VSV For ACIS
        G01395422Courtesy of © TOYOTA, LICENSE AGREEMENT TMS1002
      4. Battery positive voltage is applied: 
      5. Air from port E flows out through port F. 
        Fig 12: Checking Operation Of VSV For ACIS
        G01395421Courtesy of © TOYOTA, LICENSE AGREEMENT TMS1002
    1. OK: GO TO NEXT STEP. 
    2. NG: REPLACE VSV FOR ACIS 
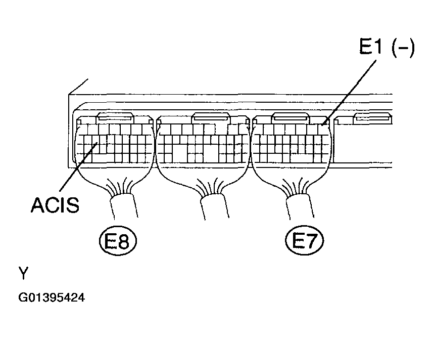
  2. CHECK ECM (ACIS VOLTAGE) 
    1. Start the engine.
    2. Measure the voltage between the specified terminals of the E7 and E8 ECM connectors.
      Fig 13: Measuring Voltage Between Specified Terminals Of E7 And E8 ECM Connectors
      G01395424Courtesy of © TOYOTA, LICENSE AGREEMENT TMS1002

      Standard: 

      Fig 14: Specified Conditions
      G01395423Courtesy of © TOYOTA, LICENSE AGREEMENT TMS1002
    1. OK: Go to step   4 
    2. NG: GO TO NEXT STEP. 
  3. CHECK HARNESS AND CONNECTOR (VSV FOR ACIS - ECM, VSV FOR ACIS - EFI RELAY) 
    1. Check the wire harness between the VSV for ACIS connector and the ECM connector.
      1. Disconnect the V1 VSV for ACIS connector.
      2. Disconnect the E8 ECM connector.
      3. Check the resistance between the wire harness side connectors.
        Fig 15: Identifying VSV For ACIS Connector Terminals
        G01395427Courtesy of © TOYOTA, LICENSE AGREEMENT TMS1002
        Fig 16: Identifying ECM Connector Terminals
        G01395428Courtesy of © TOYOTA, LICENSE AGREEMENT TMS1002

        Standard (Check for open): 

        Fig 17: Specified Conditions
        G01395425Courtesy of © TOYOTA, LICENSE AGREEMENT TMS1002

        Standard (Check for short): 

        Fig 18: Specified Conditions
        G01395426Courtesy of © TOYOTA, LICENSE AGREEMENT TMS1002
      4. Reconnect the VSV for ACIS connector.
      5. Reconnect the ECM connector.
    2. Check the wire harness between the VSV for ACIS and the EFI relay.
      1. Inspect the EFI No. 2 fuse.
        • Remove the EFI No. 2 fuse from the fusible link block.
        • Check for continuity in the EFI No. 2 fuse.
          1. Standard: Continuity 
        • Reinstall the EFI No. 2 fuse.
      2. Disconnect the V1 VSV for ACIS connector.
      3. Remove the EFI relay from the engine room R/B.
        Fig 19: Identifying EFI Relay Location & Terminals
        G01395430Courtesy of © TOYOTA, LICENSE AGREEMENT TMS1002
      4. Check the resistance between the wire harness side connectors.

        Standard (Check for open): 

        Fig 20: Specified Conditions
        G01395429Courtesy of © TOYOTA, LICENSE AGREEMENT TMS1002
      5. Reconnect the VSV for ACIS connector.
      6. Reinstall the EFI relay.
    1. OK: GO TO NEXT STEP. 
    2. NG: REPAIR OR REPLACE HARNESS OR CONNECTOR 
  4. CHECK VACUUM HOSE (INTAKE MANIFOLD - INTAKE AIR CONTROL VALVE, INTAKE AIR CONTROL VALVE - VSV FOR ACIS) 
    1. Check that the vacuum hoses are connected correctly.
    2. Check that the vacuum hoses are not loose or disconnected.
    3. Check the vacuum hoses for cracks, holes or damage.
    1. OK: GO TO NEXT STEP. 
    2. NG: REPAIR OR REPLACE VACUUM HOSE 
  5. INSPECT INTAKE AIR CONTROL VALVE (See  INSPECTION  ) 
    1. OK: REPLACE ECM (See  REPLACEMENT  in ENGINE CONTROL SYSTEM ) 
    2. NG: REPLACE INTAKE AIR CONTROL VALVE