LEMON Manuals: Even more car manuals for everyone: 1960-2025
Home >> Lexus >> 2004 >> RX 330 AWD >> Repair and Diagnosis >> External Pages >> Different car >> Section 440 (LEXUS Navigation System - Diagnostics) >> Diagnostic Trouble Code Chart >> AVC-LAN Wiring Diagram
April 5, 2026: LEMON Manuals is launched! Read the announcement.

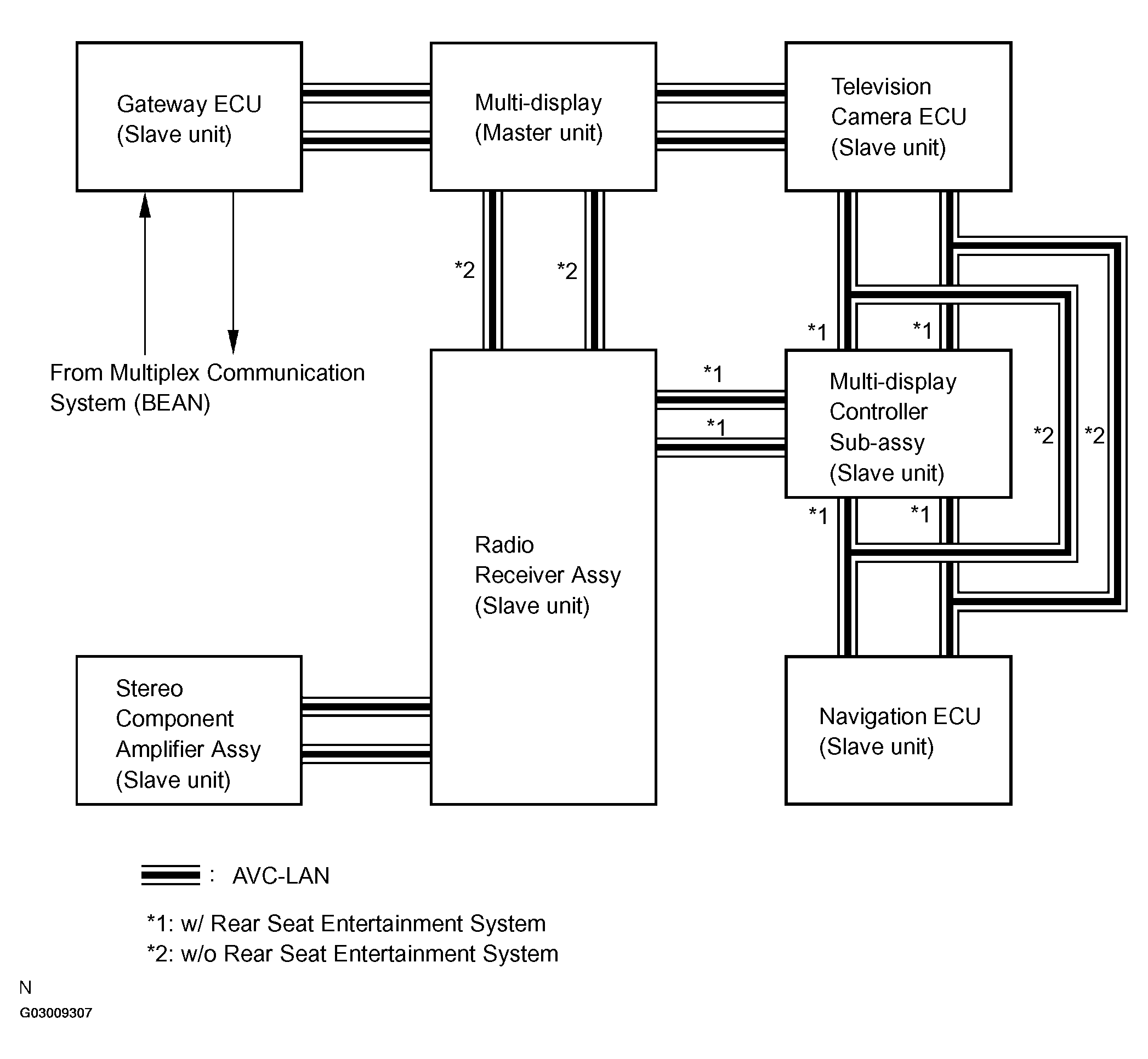
AVC-LAN Wiring Diagram

WARNING: This page is about a different car, the 2005 Lexus RX 330. However, it is still accessible from the selected car via links, so may be relevant.

HINT:

If any DTCs are simultaneously output for 2 or more slave units that are connected in series, there may be a problem between the master unit and the slave unit which is closest to the master unit. Therefore, first proceed with troubleshooting of that slave unit.

For example, if DTCs are output for the television camera ECU and multi-display controller sub-assy, there may be a problem between the master unit and television camera ECU. (Refer to the Fig 1 below.)

Fig 1: AVC-LAN - Wiring Diagram
G03009307Courtesy of © TOYOTA, LICENSE AGREEMENT TMS1002

HINT:

Titles for each unit are stated in the following order: parts name (physical address) [Name indicated by DTC]

  1. MULTI-DISPLAY (physical address: 110) [EMV] 
    1. Logical address: 01 (Communication control)
      Fig 2: Problem Diagnostic Chart (Logical Address: 01 (Communication Control))
      G03009308Courtesy of © TOYOTA, LICENSE AGREEMENT TMS1002

      HINT:

      • *1: This code may be stored depending on the battery condition or engine start voltage even if no failure is detected.
      • *2: If the power connector is disconnected after the engine starts, this code is stored after 180 seconds.
      • *3: This code may be stored if the ignition key is turned to the START position again with the engine running.
      • *4: This code may be stored if the ignition key is held in the START position for 1 minute or more before returning to the ON position.
      • *5: If the device is reported as not existing during verification, check the power source circuit and AVC-LAN circuit for the device.
    2. Logical address: 21 (SW): 23 (SW with name): 24 (SW converting): 25 (command SW)
      PROBLEM DIAGNOSTIC (LOGICAL ADDRESS: 21 (SW): 23 (SW WITH NAME): 24 (SW CONVERTING): 25 (COMMAND SW))

      DTC Name Diagnosis Verification See Procedure
      10 Panel switch error The panel SW detection circuit has a failure. Replace multi-display MULTI-DISPLAY ASSY
      11 Touch switch error Error in touch switch sensor is detected. Replace multi-display MULTI-DISPLAY ASSY
  2. NAVIGATION ECU (Physical address: 178) [NAVI] 
    NOTE: The following inspection procedures of the navigation ECU are described on the assumption that the television camera ECU (w/o RSE) or multi-display controller sub-assy (w/ RSE) is normal.
    If any television camera ECU (w/o RSE) DTC or multi-display controller sub-assy (w/ RSE) DTC is output, first proceed with troubleshooting of the television camera ECU (w/o RSE) or multi-display controller sub-assy (w/ RSE). (Refer to step 5 or  7.)
    1. Logical address: 01 (Communication control)

      HINT:

      Methods used to verify the cause of the problem are listed in order of probability in the verification column.

      Fig 3: Problem Diagnostic Chart (Navigation ECU (Physical Address: 178) [NAVI]) (1 Of 2)
      G03009309Courtesy of © TOYOTA, LICENSE AGREEMENT TMS1002
      Fig 4: Problem Diagnostic Chart (Navigation ECU (Physical Address: 178) [NAVI]) (2 Of 2)
      G03009310Courtesy of © TOYOTA, LICENSE AGREEMENT TMS1002

      *1: w/ Rear Seat Entertainment System

      *2: w/o Rear Seat Entertainment System

      HINT:

      • *1: Even if no failure is detected, this code may be stored depending on the battery condition or engine start voltage.
      • *2: If the power connector is disconnected after the engine starts, this code is stored after 180 seconds.
      • *3: This code may be stored if the ignition key is turned again after the engine starts.
      • *4: This code may be stored if the ignition key is held in the START position for one minute or more before returning to the ON position.
      • *5: If the device is reported as not existing during verification, check the power source circuit and AVC-LAN circuit for the device.
    2. Logical address: 58 (Navigation): 80 (GPS)

      HINT:

      Methods used to verify the cause of the problem are listed in order of probability in the verification column.

      Fig 5: Problem Diagnostic Chart (Logical Address: 58 (Navigation): 80 (GPS))
      G03009311Courtesy of © TOYOTA, LICENSE AGREEMENT TMS1002
  3. RADIO RECEIVER ASSY (Physical address: 190) [AUDIO H/U] 
    NOTE: Only w/ RSE System:
    The following inspection procedures of the radio receiver assy are described on the assumption that the multi-display controller sub-assy is normal.
    If any multi-display controller sub-assy DTC is output, first proceed with troubleshooting of the multi-display controller sub-assy. (Refer to step 7.)
    1. Logical address: 01 (Communication control)

      HINT:

      Methods used to verify the cause of the problem are listed in order of probability in the verification column.

      Fig 6: Problem Diagnostic Chart (Radio Receiver Assy (Physical Address: 190) [AUDIO H/U]) (1 Of 2)
      G03009312Courtesy of © TOYOTA, LICENSE AGREEMENT TMS1002
      Fig 7: Problem Diagnostic Chart (Radio Receiver Assy (Physical Address: 190) [AUDIO H/U]) (2 Of 2)
      G03009313Courtesy of © TOYOTA, LICENSE AGREEMENT TMS1002

      *1: w/ Rear Seat Entertainment System

      *2: w/o Rear Seat Entertainment System

    2. Logical address: 01 (Communication control)
      Fig 8: Problem Diagnostic Chart (Logical Address: 01 (Communication Control))
      G03009314Courtesy of © TOYOTA, LICENSE AGREEMENT TMS1002

      HINT:

      • *1: Even if no failure is detected, this code may be stored depending on the battery condition or engine start voltage.
      • *2: If the power connector is disconnected after the engine starts, this code is stored after 180 seconds.
      • *3: This code may be stored if the ignition key is turned again after the engine starts.
      • *4: This code may be stored if the ignition key is held in the START position for one minute or more before returning to the ON position.
      • *5: If the device is reported as not existing during verification, check the power source circuit and AVC-LAN circuit for the device.
    3. Logical address: 62 (CD): 63 (In-dash CD changer)

      HINT:

      Methods used to verify the cause of the problem are listed in order of probability in the verification column.

      Fig 9: Problem Diagnostic Chart (Logical Address: 62 (CD): 63 (In-Dash CD Changer))
      G03009315Courtesy of © TOYOTA, LICENSE AGREEMENT TMS1002
    4. Logical address: 61 (Cassette)

      HINT:

      Methods used to verify the cause of the problem are listed in order of probability in the verification column.

      Fig 10: Problem Diagnostic Chart (Logical Address: 61 (Cassette))
      G03009316Courtesy of © TOYOTA, LICENSE AGREEMENT TMS1002
  4. GATEWAY ECU (Physical address: 1C6) [G/W] 
    1. Logical address: 01 (Communication control)

      HINT:

      Methods used to verify the cause of the problem are listed in order of probability in the verification column.

      Fig 11: Problem Diagnostic Chart (Gateway ECU (Physical Address: 1C6) [G/W])
      G03009317Courtesy of © TOYOTA, LICENSE AGREEMENT TMS1002

      HINT:

      This code is stored 210 seconds after the power supply connector of the master component is disconnected with the ignition switch in the ACC or ON position.

  5. TELEVISION CAMERA ECU (Physical address: 280) [CAMERA] 
    1. Logical address: 01 (Communication control)

      HINT:

      Methods used to verify the cause of the problem are listed in order of probability in the verification column.

      Fig 12: Problem Diagnostic Chart (Television Camera ECU (Physical Address: 280) [Camera])
      G03009318Courtesy of © TOYOTA, LICENSE AGREEMENT TMS1002

      HINT:

      • *1: Even if no failure is detected, this code may be stored depending on the battery condition or engine start voltage.
      • *2: If the power connector is disconnected after the engine starts, this code is stored after 180 seconds.
      • *3: This code may be stored if the ignition key is turned again after the engine starts.
      • *4: This code may be stored if the ignition key is held in the START position for one minute or more before returning to the ON position.
      • *5: If the device is reported as not existing during verification, check the power source circuit and AVC-LAN circuit for the device.
    2. Logical address: 5C (Camera)

      HINT:

      Methods used to verify the cause of the problem are listed in order of probability in the verification column.

      Fig 13: Problem Diagnostic Chart (Logical Address: 5C (Camera))
      G03009319Courtesy of © TOYOTA, LICENSE AGREEMENT TMS1002
  6. STEREO COMPONENT AMPLIFIER ASSY (Physical address: 440) [DSP AMP] 
    NOTE: The following inspection procedures of the stereo component amplifier assy are described on the assumption that the radio receiver assy is normal.
    If any radio receiver assy DTC is output, first proceed with troubleshooting of the radio receiver assy. (Refer to step 3.)
    1. Logical address: 01 (Communication control)

      HINT:

      Methods used to verify the cause of the problem are listed in order of probability in the verification column.

      Fig 14: Problem Diagnostic Chart (Stereo Component Amplifier Assy (Physical Address: 440) [DSP AMP])
      G03009320Courtesy of © TOYOTA, LICENSE AGREEMENT TMS1002

      HINT:

      • *1: Even if no failure is detected, this code may be stored depending on the battery condition or engine start voltage.
      • *2: If the power connector is disconnected after the engine starts, this code is stored after 180 seconds.
      • *3: This code may be stored if the ignition key is turned again after the engine starts.
      • *4: This code may be stored if the ignition key is held in the START position for one minute or more before returning to the ON position.
      • *5: If the device is reported as not existing during verification, check the power source circuit and AVC-LAN circuit for the device.
  7. MULTI-DISPLAY CONTROLLER SUB-ASSY (Physical address: 1F6) [RSE ECU] 
    NOTE: The following inspection procedures of the multi-display controller sub-assy are described on the assumption that the television camera ECU is normal.
    If any television camera ECU DTC is output, first proceed with troubleshooting of the television camera ECU. (Refer to step 5.)
    1. Logical address: 01 (Communication control)

      HINT:

      Methods used to verify the cause of the problem are listed in order of probability in the verification column.

      Fig 15: Problem Diagnostic Chart (Multi-Display Controller Sub-Assy (Physical Address: 1F6) [RSE ECU])
      G03009321Courtesy of © TOYOTA, LICENSE AGREEMENT TMS1002

      HINT:

      • *1: This code may be stored depending on the battery condition or engine start voltage even if no failure is detected.
      • *2: If the power connector is disconnected after the engine starts, this code is stored after 180 seconds.
      • *3: This code may be stored if the ignition key is turned to the START position again with the engine running.
      • *4: This code may be stored if the ignition key is held in the START position for 1 minute or more before returning to the ON position.
      • *5: If the device is reported as not existing during verification, check the power source circuit and AVC-LAN circuit for the device.
  8. THE INSPECTION LIST FOR THE DEVICE INDICATED BY THE SUB CODE 

    HINT:

    • If any DTCs are output for 2 or more slave units that are connected in series, there may be a problem between the master unit and the slave unit which is closest to the master unit. Therefore, first proceed with troubleshooting of that slave unit.
    • Methods used to verify the cause of the problem are listed in order of probability in the verification column.
      Fig 16: Inspection List Chart For Device Indicated By Sub Code
      G03009322Courtesy of © TOYOTA, LICENSE AGREEMENT TMS1002

      *1: w/ Rear Seat Entertainment System

      *2: w/o Rear Seat Entertainment System