LEMON Manuals: Even more car manuals for everyone: 1960-2025
Home >> Lexus >> 2004 >> RX 330 AWD >> Repair and Diagnosis >> External Pages >> Different car >> Section 482 (Audio & Visual System) >> Multi-Display Controller Sub-ASSY >> Replacement
April 5, 2026: LEMON Manuals is launched! Read the announcement.

Multi-Display Controller Sub-ASSY: Replacement

WARNING: This page is about a different car, the 2005 Lexus RX 330. However, it is still accessible from the selected car via links, so may be relevant.

HINT:

See LOCATION 

  1. REMOVE DECK BOARD SUB-ASSY (See step 15 in  REPLACEMENT  ) 
  2. REMOVE TONNEAU COVER ASSY 
  3. REMOVE DECK FLOOR BOX FRONT (See step 19 in  REPLACEMENT  ) 
  4. REMOVE DECK FLOOR BOX REAR (See step 20 in  REPLACEMENT  ) 
  5. REMOVE DECK BOARD SUB-ASSY NO. 2 (See step 21 in  REPLACEMENT  ) 
  6. REMOVE DECK BOARD SUB-ASSY NO. 3 
  7. REMOVE BACK DOOR WEATHERSTRIP (See  REPLACEMENT  ) 
  8. REMOVE DECK SIDE TRIM BOX RH (See step 24 in  REPLACEMENT  ) 
  9. REMOVE REAR FLOOR FINISH PLATE (See step 26 in  REPLACEMENT  ) 
  10. REMOVE REAR FLOOR FINISH SIDE PLATE RH (See step 27 in  REPLACEMENT  ) 
  11. SEPARATE DECK TRIM SIDE PANEL ASSY RH (See step 34 in  REPLACEMENT  ) 

    HINT:

    Turn up the deck trim side panel assy RH until the multi-display controller w/bracket can be removed.

  12. REMOVE TELEVISION CAMERA ECU (W/EMV & NAVIGATION SYSTEM) (See  TELEVISION CAMERA ECU  ) 
  13. REMOVE MULTI-DISPLAY CONTROLLER W/B RACKET 
    1. Disconnect the connector.
    2. Remove the 3 nuts and the multi-display controller w/bracket.
    3. Fig 1: Removing Multi-Display Controller W/B Racket
      G03006492Courtesy of © TOYOTA, LICENSE AGREEMENT TMS1002
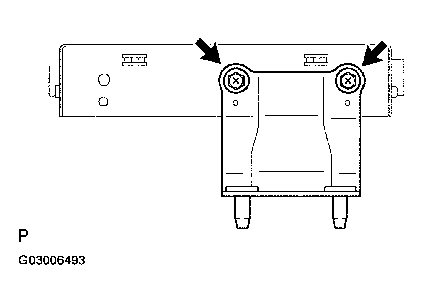
  14. REMOVE MULTI-DISPLAY CONTROLLER BRACKET A 
    1. Remove the 2 screws and the multi-display controller bracket A.
      Fig 2: Removing Multi-Display Controller Bracket A
      G03006493Courtesy of © TOYOTA, LICENSE AGREEMENT TMS1002
  15. REMOVE MULTI-DISPLAY CONTROLLER BRACKET B 
    1. Remove the 2 screws and the multi-display controller bracket B.
      Fig 3: Removing Multi-Display Controller Bracket B
      G03006494Courtesy of © TOYOTA, LICENSE AGREEMENT TMS1002
  16. REMOVE MULTI-DISPLAY CONTROLLER SUB-ASSY