LEMON Manuals: Even more car manuals for everyone: 1960-2025
Home >> Lexus >> 2004 >> RX 330 AWD >> Repair and Diagnosis >> External Pages >> Different car >> Section 522 (Cruise Control) >> Cruise Control System >> System Diagram
April 5, 2026: LEMON Manuals is launched! Read the announcement.

System Diagram

WARNING: This page is about a different car, the 2007 Lexus RX 350. However, it is still accessible from the selected car via links, so may be relevant.
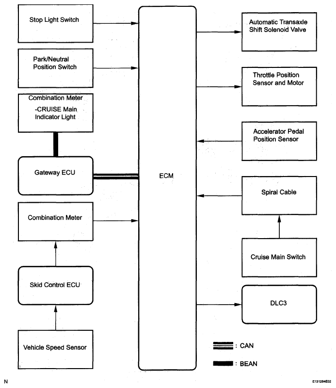
Fig 1: Identifying Cruise Control System Diagram
G05273607Courtesy of © TOYOTA, LICENSE AGREEMENT TMS1002

Communication Table: 

COMMUNICATION TABLE

Sender Receiver Signal Line
ECM Gateway ECU CRUISE main indicator operation signal CAN
Gateway ECU Combination meter CRUISE main indicator operation signal BEAN