LEMON Manuals: Even more car manuals for everyone: 1960-2025
Home >> Lexus >> 2004 >> RX 330 FWD >> Repair and Diagnosis >> Brakes >> Traction Control >> Skid Control Sensor (Fwd) >> Skid Control Sensor (Ff) >> Replacement
April 5, 2026: LEMON Manuals is launched! Read the announcement.

Skid Control Sensor (Ff): Replacement

HINT:

Replace the RH side by using the same procedures as those for the LH side.

  1. REMOVE REAR WHEEL 
  2. DISCONNECT SKID CONTROL SENSOR WIRE 
    1. Disconnect the connector from the skid control sensor.
  3. SEPARATE REAR DISC BRAKE CALIPER ASSY LH (See  REMOVAL & INSTALLATION  ) 
  4. REMOVE REAR DISC (See  REMOVAL & INSTALLATION  ) 
    1. Place matchmarks on the rear disc and the axle hub.
    2. Remove the rear disc.
  5. REMOVE REAR AXLE HUB & BEARING ASSY LH (See  REMOVAL, OVERHAUL & INSTALLATION  ) 
  6. REMOVE SKID CONTROL SENSOR 
    1. Mount the hub & bearing assy on a soft jaw vise.
      NOTE: Replace the hub & bearing assy if it is dropped or receives a strong shock.
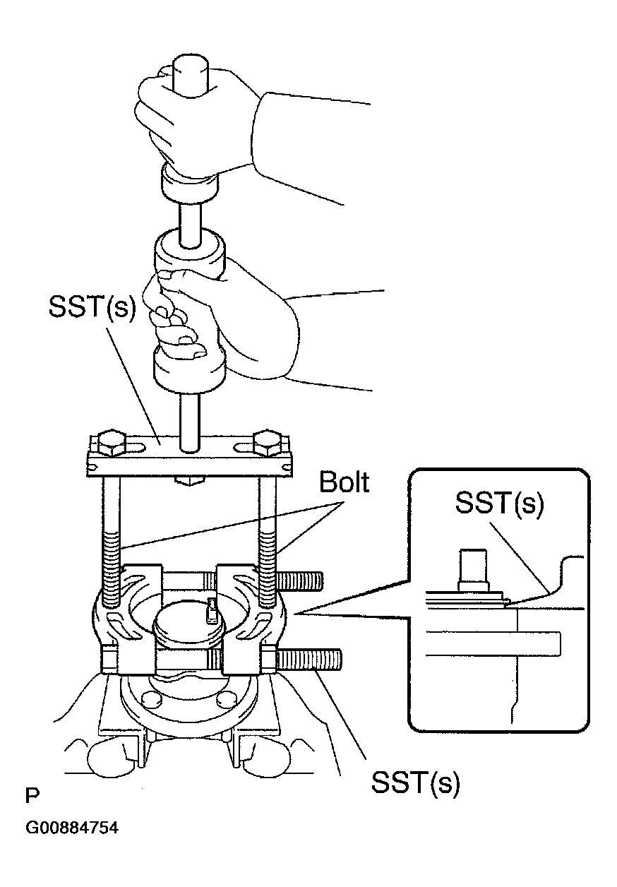
  7. Using a pin punch and hammer, drive out the 2 pins and remove the 2 attachments from SST(s).
  8. Using SST(s) and 2 bolts (Diameter: 12 mm, pitch: 1.5 mm), remove the skid control sensor from the hub & bearing assy.

    SST 09520-00031 (09520-00040), 09521-00020, 09950-00020

    NOTE:
    • If the sensor rotor is damaged, replace the hub & bearing assy.
    • Do not scratch the contacting surface of the hub & bearing assy and the skid control sensor.
    Fig 1: Removing Skid Control Sensor From Hub & Bearing Assy Using SST
    G00884754Courtesy of © TOYOTA, LICENSE AGREEMENT TMS1002
  9. INSTALL SKID CONTROL SENSOR 
    1. Clean the contacting surface of the rear axle hub and a assy and a new skid control sensor.
      NOTE: Make sure the sensor rotor is clean.
  10. Place the skid control sensor on the rear axle hub so that the connector makes the lowest position under the on vehicle condition.
    Fig 2: Identifying Connector
    G00884755Courtesy of © TOYOTA, LICENSE AGREEMENT TMS1002
  11. Using SST(s) and a press, install the skid control sensor onto the hub & bearing assy.

    SST 09214-76011

    NOTE:
    • Do not tap the skid control sensor directly with a hammer.
    • Check that the skid control sensor detection part is clean.
    • Press in the skid control sensor straight and slowly.
    Fig 3: Installing Skid Control Sensor Onto Hub & Bearing Assy Using SST
    G00884756Courtesy of © TOYOTA, LICENSE AGREEMENT TMS1002
  12. INSTALL REAR AXLE HUB & BEARING ASSY LH (See  REMOVAL, OVERHAUL & INSTALLATION  ) 
  13. INSPECT BEARING BACKLASH (See  SERVICE DATA  ) 
  14. INSPECT AXLE HUB DEVIATION (See  SERVICE DATA  ) 
  15. INSTALL REAR DISC (See  REMOVAL & INSTALLATION  ) 
    1. Aligning the matchmarks, install the rear disc.

    HINT:

    When replacing the rear disc with new one, select the installation position where the rear disc has the minimum runout.

  16. INSTALL REAR DISC BRAKE CALIPER ASSY LH (See  REMOVAL & INSTALLATION  ) 
  17. CONNECT SKID CONTROL SENSOR WIRE 
    1. Connect the connector to the skid control sensor.
  18. INSTALL REAR WHEEL 

    Torque: 103 N.m (1, 050 kgf.cm, 76 ft.lbf) 

  19. INSPECT AND ADJUST REAR WHEEL ALIGNMENT (See  REAR WHEEL ALIGNMENT  ) 
  20. CHECK ABS SPEED SENSOR SIGNAL (See  PRE-CHECK  )