LEMON Manuals: Even more car manuals for everyone: 1960-2025
Home >> Lexus >> 2004 >> RX 330 FWD >> Repair and Diagnosis >> Electrical >> Horns >> Communication System >> Horn System >> Inspection
April 5, 2026: LEMON Manuals is launched! Read the announcement.

Horn System: Inspection

  1. INSPECT LOW PITCHED HORN ASSY 
    1. Check operation of the horn.
    HORN SPECIFICATION

    Measurement Condition Specified Condition
    Battery positive (+) --> Terminal 1
    Battery negative (-) --> Horn body
    Horn sounds

    If the result is not as specified, replace the horn assy.

    Fig 1: Inspecting Low Pitched Horn Assy
    G03479152Courtesy of © TOYOTA, LICENSE AGREEMENT TMS1002
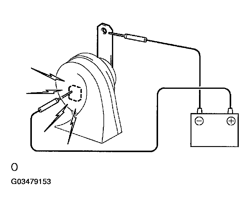
  2. INSPECT HIGH PITCHED HORN ASSY 
    1. Check operation of the horn.
    HORN SPECIFICATION

    Measurement Condition Specified Condition
    Battery positive (+) --> Terminal 1
    Battery negative (-) --> Horn body
    Horn sounds

    If the result is not as specified, replace the horn assy.

    Fig 2: Inspecting High Pitched Horn Assy
    G03479153Courtesy of © TOYOTA, LICENSE AGREEMENT TMS1002
  3. INSPECT HORN RELAY ASSY 
    1. Remove the horn relay from the engine room R/B No. 2.
    2. Inspect the horn relay resistance.

    Standard: 

    TESTER SPECIFICATION

    Tester Connection Specified Condition
    3 - 5 10 kΩ or higher
    Below 1 Ω (When battery voltage is applied to terminals 1 and 2)

    If the result is not as specified, replace the relay assy.

    Fig 3: Inspecting Horn Relay Assy
    G03479154Courtesy of © TOYOTA, LICENSE AGREEMENT TMS1002