LEMON Manuals: Even more car manuals for everyone: 1960-2025
Home >> Lexus >> 2004 >> SC 430 >> Repair and Diagnosis >> Electrical >> Horns >> Communication System >> Microphone Amplifier ASSY >> Replacement
April 5, 2026: LEMON Manuals is launched! Read the announcement.

Microphone Amplifier ASSY: Replacement

HINT:

  1. REMOVE DOOR SCUFF PLATE ASSY RH 
    1. Disengage the 6 claws and 5 clips.
    2. Remove the door scuff plate assembly RH then disconnect the connector.
    Fig 1: Removing Door Scuff Plate Assy RH
    G03479672Courtesy of © TOYOTA, LICENSE AGREEMENT TMS1002
  2. REMOVE FRONT DOOR OPENING TRIM COVER RH 
    1. Disengage the 3 claws then remove the front door opening trim cover RH.
    Fig 2: Removing Front Door Opening Trim Cover RH
    G03479673Courtesy of © TOYOTA, LICENSE AGREEMENT TMS1002
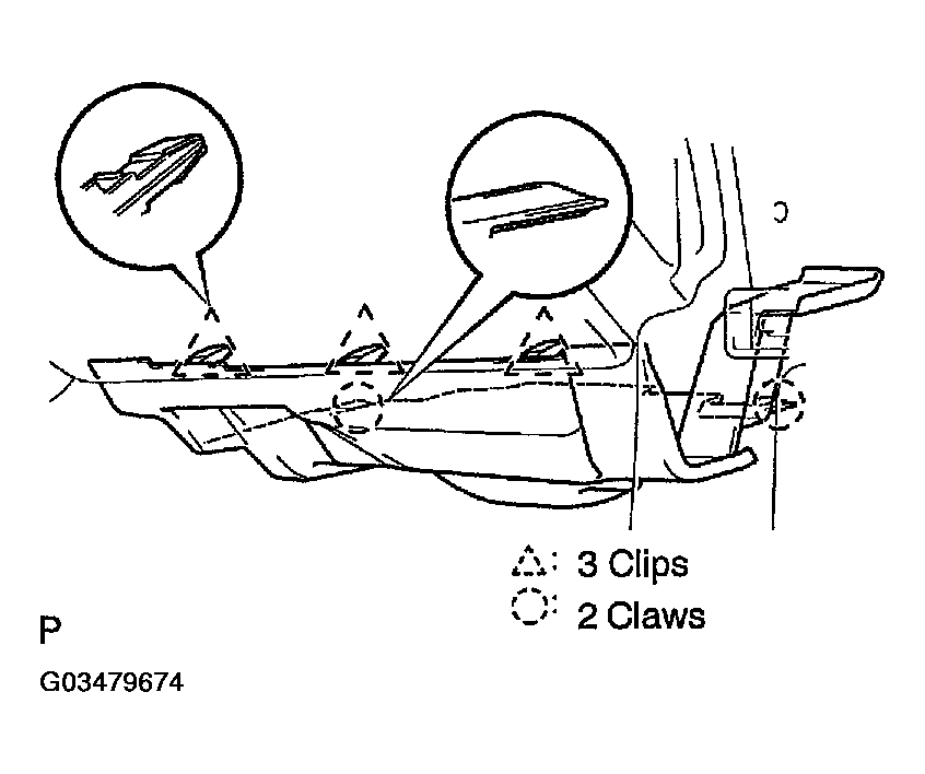
  3. REMOVE INSTRUMENT PANEL UNDER COVER SUB-ASSY NO.2 
    1. Disengage the 3 clips, 2 claws and remove the instrument panel under cover No. 2, and then disconnect the connectors.
    Fig 3: Removing Instrument Panel Under Cover Sub-Assy No. 2
    G03479674Courtesy of © TOYOTA, LICENSE AGREEMENT TMS1002
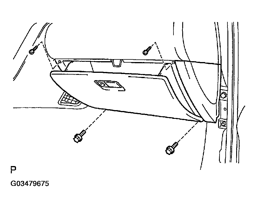
  4. REMOVE GLOVE COMPARTMENT DOOR ASSY 
    1. Remove the 2 bolts, 2 screws and glove compartment door assembly, and then disconnect the connectors.
    Fig 4: Removing Glove Compartment Door Assy
    G03479675Courtesy of © TOYOTA, LICENSE AGREEMENT TMS1002
  5. REMOVE MICROPHONE AMPLIFIER ASSY 
    1. Disconnect the connectors.
    2. Disconnect the clamp and then remove the microphone amplifier assembly.
    Fig 5: Removing Microphone Amplifier Assy
    G03479676Courtesy of © TOYOTA, LICENSE AGREEMENT TMS1002