LEMON Manuals: Even more car manuals for everyone: 1960-2025
Home >> Lexus >> 2004 >> SC 430 >> Repair and Diagnosis >> Engine Mechanical >> Exhaust >> Engine Exhaust Assembly >> Exhaust Pipe >> Components
April 5, 2026: LEMON Manuals is launched! Read the announcement.

Exhaust Pipe: Components

Fig 1: Locating Exhaust Pipe Components (1 Of 2)
G00926777Courtesy of © TOYOTA, LICENSE AGREEMENT TMS1002
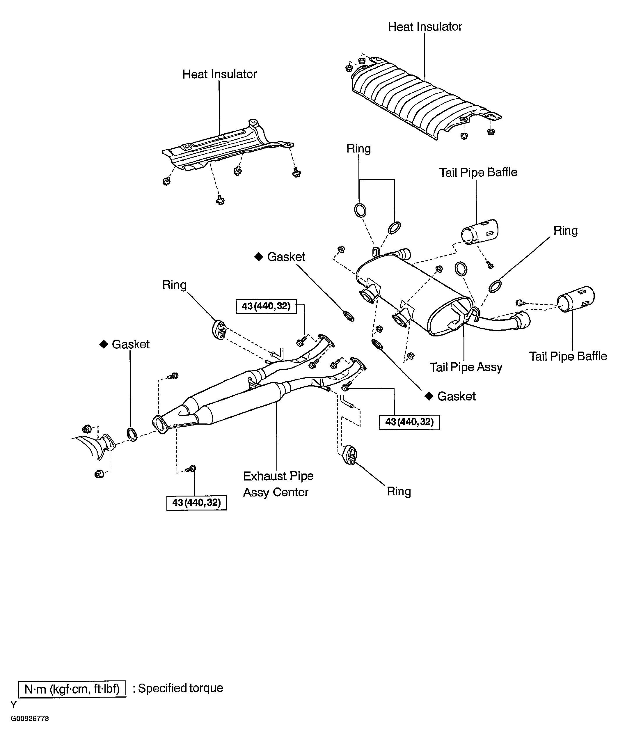
Fig 2: Locating Exhaust Pipe Components (2 Of 2)
G00926778Courtesy of © TOYOTA, LICENSE AGREEMENT TMS1002