LEMON Manuals: Even more car manuals for everyone: 1960-2025
Home >> Lexus >> 2004 >> SC 430 >> Repair and Diagnosis >> Engine Performance >> System >> SFI System - Diagnosis >> ECM Power Source Circuit >> Inspection Procedure
April 5, 2026: LEMON Manuals is launched! Read the announcement.

Inspection Procedure

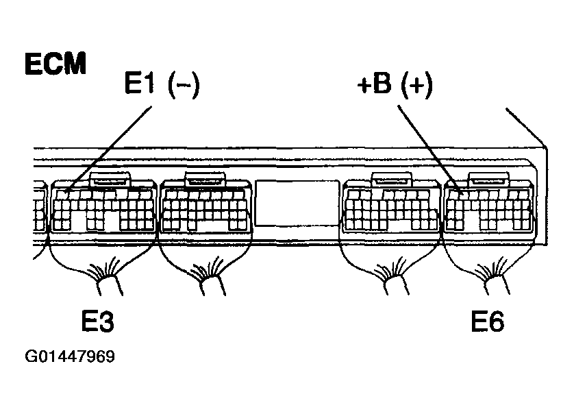
  1. INSPECT ECM (+B VOLTAGE) 
    1. Turn the ignition switch ON.
    2. Measure the voltage between terminals of the E3 and E6 ECM connectors.

      Standard: 

      Fig 1: Specific Condition Charts
      G01447968Courtesy of © TOYOTA, LICENSE AGREEMENT TMS1002
      Fig 2: Identifying ECM Connector
      G01447969Courtesy of © TOYOTA, LICENSE AGREEMENT TMS1002
    1. OK: PROCEED TO NEXT CIRCUIT INSPECTION SHOWN ON PROBLEM SYMPTOMS TABLE (See  PROBLEM SYMPTOMS TABLE   ) 
    2. NG: Go to next step. 
  2. CHECK WIRE HARNESS (ECM - BODY GROUND) 
    1. Disconnect the E3 ECM connector.
    2. Measure the resistance between the wire harness side connectors.

      Standard: 

      Fig 3: Specific Condition Chart
      G01447970Courtesy of © TOYOTA, LICENSE AGREEMENT TMS1002
      Fig 4: Identifying ECM Connector
      G01447971Courtesy of © TOYOTA, LICENSE AGREEMENT TMS1002
    1. NG: REPAIR OR REPLACE HARNESS AND CONNECTOR 
    2. OK: GO TO NEXT STEP. 
  3. INSPECT ECM (IGSW VOLTAGE) 
    1. Turn the ignition switch ON.
    2. Measure the voltage between terminals of the E6 and E3 ECM connectors.

      Standard: 

      Fig 5: Specific Condition Chart
      G01447972Courtesy of © TOYOTA, LICENSE AGREEMENT TMS1002
      Fig 6: Identifying ECM (IGSW Voltage)
      G01447973Courtesy of © TOYOTA, LICENSE AGREEMENT TMS1002
    1. OK: Go to step   6 
    2. NG: Go to next step. 
  4. INSPECT FUSE (IGN) 
    1. Remove the IGN fuse from the engine room No.2 relay block (R/B).
    2. Measure the resistance.

      Standard: Below 1 Ω 

      Fig 7: Identifying IGN Fuse
      G01447974Courtesy of © TOYOTA, LICENSE AGREEMENT TMS1002
    1. NG: CHECK FOR SHORT IN ALL HARNESSES AND COMPONENTS CONNECTED FUSE 
    2. OK: GO TO NEXT STEP. 
  5. INSPECT IGNITION OR STARTER SWITCH ASSY 
    1. Measure the resistance between the connector terminals shown in the chart below.

      Standard: 

      Fig 8: Specific Condition Chart
      G01447975Courtesy of © TOYOTA, LICENSE AGREEMENT TMS1002
      Fig 9: Identifying Ignition Switch
      G01447976Courtesy of © TOYOTA, LICENSE AGREEMENT TMS1002
    1. NG: REPAIR OR REPLACE IGNITION OR STARTER SWITCH ASSY 
    2. OK: Go to next step. 

    CHECK AND REPAIR HARNESS AND CONNECTOR (BATTERY - IGNITION SWITCH, IGNITION SWITCH - ECM) 

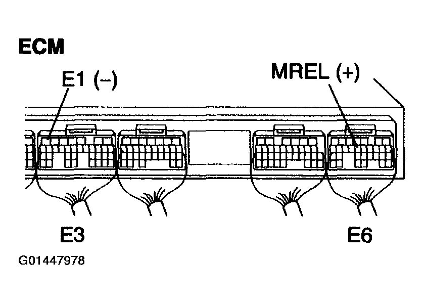
  6. INSPECT ECM (MREL VOLTAGE) 
    1. Turn the ignition switch ON.
    2. Measure the voltage between the specified terminals of the E3 and E6 ECM connectors.

      Standard: 

      Fig 10: Specific Condition Chart
      G01447977Courtesy of © TOYOTA, LICENSE AGREEMENT TMS1002
      Fig 11: Checking Harness And Connector
      G01447978Courtesy of © TOYOTA, LICENSE AGREEMENT TMS1002
    1. NG: REPLACE ECM (See  REPLACEMENT  ) 
    2. OK: GO TO NEXT STEP. 
  7. CHECK FUSE (EFI) 
    1. Remove the EFI fuse from the engine room No. 1 R/B.
    2. Measure the resistance.

      Standard: Below 1 Ω 

      Fig 12: Checking EFI Fuse
      G01447979Courtesy of © TOYOTA, LICENSE AGREEMENT TMS1002
    1. NG: REPLACE FUSE (EFI) 
    2. OK: GO TO NEXT STEP. 
  8. INSPECT RELAY (EFI) 
    1. Remove the EFI relay from the engine room No. 2 R/B.
    2. Measure the resistance.

      Standard: 

      Fig 13: Specific Condition Chart
      G01447980Courtesy of © TOYOTA, LICENSE AGREEMENT TMS1002
      Fig 14: Checking EFI Relay
      G01447981Courtesy of © TOYOTA, LICENSE AGREEMENT TMS1002
    1. NG: REPLACE RELAY (EFI) 
    2. OK: GO TO NEXT STEP. 
  9. CHECK WIRE HARNESS (EFI RELAY - ECM, RELAY - BODY GROUND) 
    1. Check the wire harness between the EFI relay and PCM connector.
      1. Remove the EFI relay from the engine room No.2 R/B.
      2. Disconnect the E6 ECM connector.
      3. Measure the resistance of the wire harness side connectors.

        Standard: 

        Fig 15: Specific Condition Chart
        G01447982Courtesy of © TOYOTA, LICENSE AGREEMENT TMS1002
        Fig 16: Identifying EFI Relay
        G01447983Courtesy of © TOYOTA, LICENSE AGREEMENT TMS1002
    2. Check the wire harness between the EFI relay and the body ground.
      1. Remove the EFI relay from the engine room No.2 R/B.
      2. Measure the resistance between the wire harness side connector and the body ground.

        Standard: 

        Fig 17: Specific Condition Chart
        G01447984Courtesy of © TOYOTA, LICENSE AGREEMENT TMS1002
        Fig 18: Identifying ECM Connector Terminal
        G01447985Courtesy of © TOYOTA, LICENSE AGREEMENT TMS1002
    1. NG: CHECK AND REPAIR HARNESS AND CONNECTOR (TERMINAL +B OF ECM - BATTERY POSITIVE TERMINAL) 
    2. OK: Go to next step. 

    REPAIR OR REPLACE HARNESS AND CONNECTOR