LEMON Manuals: Even more car manuals for everyone: 1960-2025
Home >> Lexus >> 2004 >> SC 430 >> Repair and Diagnosis >> External Pages >> Different car >> Section 207 (Lighting System - Diagnosis) >> System Diagram >> Notes
April 5, 2026: LEMON Manuals is launched! Read the announcement.

System Diagram: Notes

WARNING: This page is about a different car, the 2004 Lexus LS 430. However, it is still accessible from the selected car via links, so may be relevant.
Fig 1: System Diagram (Front Lighting)
G01412289Courtesy of © TOYOTA, LICENSE AGREEMENT TMS1002
Fig 2: System Diagram (Rear Lighting)
G01412290Courtesy of © TOYOTA, LICENSE AGREEMENT TMS1002
Fig 3: System Diagram (Illumination Control) 1 Of 2
G01412291Courtesy of © TOYOTA, LICENSE AGREEMENT TMS1002
Fig 4: System Diagram (Illumination Control) 2 Of 2
G01412292Courtesy of © TOYOTA, LICENSE AGREEMENT TMS1002
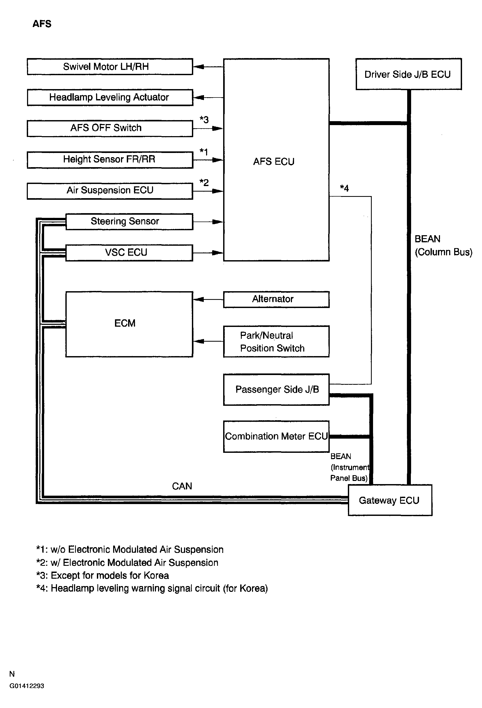
Fig 5: System Diagram (AFS)
G01412293Courtesy of © TOYOTA, LICENSE AGREEMENT TMS1002