LEMON Manuals: Even more car manuals for everyone: 1960-2025
Home >> Lexus >> 2005 >> LX 470 >> Repair and Diagnosis >> Body & Frame >> Seats >> Power Seat Control System - Diagnostics >> Circuit Inspection >> Position Sensor Power Source Circuit >> Inspection Procedure
April 5, 2026: LEMON Manuals is launched! Read the announcement.

Inspection Procedure

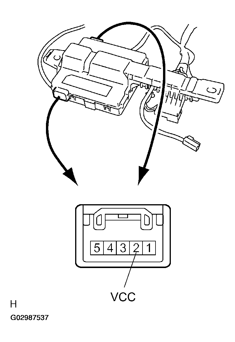
  1. Check voltage between terminal VCC of Power Seat Control ECU connector and body ground. 

    PREPARATION: 

    Remove Power Seat Control ECU with connectors being connected.

    CHECK: 

    While operating the Power Seat Control Switch and moving the seat, check voltage between terminal VCC of Power Seat Control ECU connector and body ground.

    OK: 

    1. Voltage: 7.2 - 8.8 V 
    Fig 1: Identifying Connector Terminals VCC Of Power Seat Control ECU
    G02987537Courtesy of © TOYOTA, LICENSE AGREEMENT TMS1002
    1. OK: Proceed to next circuit inspection shown on problem symptom table (See  PROBLEM SYMPTOMS TABLE   ). 
    2. NG: Go to Next Step. 
  2. Check harness and connector connected to terminal VCC of Power Seat Control ECU (See  PROCEDURE  ). 
    1. NG: Repair or replace harness or connector. 
    2. OK: Check and replace Power Seat Control ECU (See  PROCEDURE  ).