LEMON Manuals: Even more car manuals for everyone: 1960-2025
Home >> Lexus >> 2006 >> SC 430 >> Repair and Diagnosis >> Accessories & Equipment >> Infotainment >> LEXUS Navigation System - Diagnostics >> Power Source Circuit (Navigation Ecu) >> Inspection Procedure
April 5, 2026: LEMON Manuals is launched! Read the announcement.

Inspection Procedure

  1. INSPECT FUSE (RADIO NO. 2, AM1, TV) 
    1. Remove the RADIO NO. 2 and TV fuses from the passenger side J/B.
    2. Remove the AM1 fuse from the driver side J/B.
    3. Measure the resistance of the fuses.

      Standard: Below 1 Ω 

    1. NG: REPLACE FUSE 
    2. OK: Go to next step. 
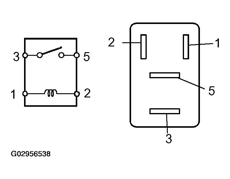
  2. INSPECT RELAY (Marking: ACC) 
    1. Remove the ACC relay from the passenger side J/B.
    2. Measure the resistance of the relay.

      Standard: 

      RELAY (MARKING: ACC)

      Tester Connection Specified Condition
      3 - 5 10 k ohms or higher
      3 - 5 Below 1 ohms (when battery voltage is applied to terminals 1 and 2)
      Fig 1: Inspecting Relay (ACC)
      G02956538Courtesy of © TOYOTA, LICENSE AGREEMENT TMS1002
    1. NG: REPLACE RELAY 
    2. OK: Go to next step. 
  3. CHECK WIRE HARNESS (NAVIGATION ECU - BATTERY AND BODY GROUND) 
    1. Disconnect the N3 and N7 ECU connectors.
    2. Measure the resistance and voltage of the wire harness side connectors.

      Standard: 

      NAVIGATION ECU - BATTERY AND BODY GROUND

      Tester Connector Condition Specified Condition
      N3-18 (ACC) - Body ground Ignition switch ACC 10 to 14 V
      N3-9 (+B) - Body ground Always 10 to 14 V
      N3-17 (GND1) - Body ground Always Below 1 ohms
      N7-7 (SNSE) - Body ground Always Below 1 ohms
      Fig 2: Checking Wire Harness (Navigation ECU - Battery & Body Ground)
      G02956539Courtesy of © TOYOTA, LICENSE AGREEMENT TMS1002
    1. NG: REPAIR OR REPLACE HARNESS AND CONNECTOR 
    2. OK: PROCEED TO NEXT CIRCUIT INSPECTION SHOWN IN PROBLEM SYMPTOMS TABLE OR DIAGNOSTIC TROUBLE CODE TABLE (See  PROBLEM SYMPTOMS TABLE   or  DIAGNOSTIC TROUBLE CODE TABLE   )