LEMON Manuals: Even more car manuals for everyone: 1960-2025
Home >> Lexus >> 2007 >> ES 350 >> Repair and Diagnosis >> Transmission >> Automatic Trans >> Automatic Transaxle >> Automatic Transaxle Unit >> Reassembly
April 5, 2026: LEMON Manuals is launched! Read the announcement.

Automatic Transaxle Unit: Reassembly

  1. BEARING POSITION 
    Fig 1: Identifying Bearing Position (1 Of 2)
    G04976917Courtesy of © TOYOTA, LICENSE AGREEMENT TMS1002
    Fig 2: Identifying Bearing Position (2 Of 2)
    G04976918Courtesy of © TOYOTA, LICENSE AGREEMENT TMS1002
    FRONT/REAR RACE DIAMETER AND THRUST BEARING DIAMETER SPECIFICATION

    Mark Front Race Diameter Inside / Outside mm (in.) Thrust Bearing Diameter Inside / Outside mm (in.) Rear Race Diameter Inside / Outside mm (in.)
    A - 57.7 (2.271)/75.2 (2.961) -
    B - 29.1 (1.146)/48.6 (1.913) 30.7 (1.209)/48.3 (1.902)
    C 65.9 (2.594)/80.3 (3.161) 62.6 (2.465) / 82.4 (3.244) -
    D 59.4 (2.339)/77 (3.032) 53.1 (2.091)/79 (3.110) -
    E - 56.1 (2.209)/80.9 (3.185) -
    F - 61.2 (2.409)/79 (3.110) -
    G - 28 (1.102)/47.1 (1.854) 26.1 (1.028)/44 (1.732)
    H 52.2 (2.055) / 70.4 (2.772) 48.9 (1.925)/72.0 (2.835) -
  2. INSTALL MANUAL VALVE LEVER SHAFT OIL SEAL 
    1. Coat the lip of a new manual valve lever shaft oil seal with MP grease.
    2. Using SST and a hammer, install the manual valve lever shaft oil seal to the transaxle case.

      SST 09950-60010 (09951-00230), 09950-70010 (09951-07100) 

      Oil seal installation depth: 

      -0.5 to 0.5 mm (-0.0197 to 0.0197 in.) 

      Fig 3: Installing Manual Valve Lever Shaft Oil Seal To Transaxle Case
      G04976919Courtesy of © TOYOTA, LICENSE AGREEMENT TMS1002
  3. INSTALL MANUAL VALVE LEVER SHAFT 
    1. Install a new spacer to the parking lock lever sub-assembly.
    2. Install the parking lock lever sub-assembly to the manual valve lever shaft.
    3. Install a new spacer to the manual valve lever sub-assembly.
    4. Install the manual valve lever sub-assembly to the manual valve lever shaft.
    5. Install the manual valve lever shaft to the transaxle case.
      NOTE: Do not damage the manual valve lever shaft oil seal while installing the manual valve lever shaft to the transaxle case.
      Fig 4: Installing Manual Valve Lever Shaft, Manual Valve Lever And Parking Lock Lever
      G04976896Courtesy of © TOYOTA, LICENSE AGREEMENT TMS1002
    6. Using a pin punch (3 mm) and hammer, install a new slotted spring pin to the parking lock lever sub-assembly.
      Fig 5: Installing Slotted Spring Pin To Parking Lock Lever Sub-Assembly
      G04976893Courtesy of © TOYOTA, LICENSE AGREEMENT TMS1002
    7. Turn the spacer and the lever shaft to align the smaller hole of the spacer with the staking position mark on the lever shaft.
    8. Using a pin punch, stake the spacer through the small hole.
    9. Check that the spacer does not turn.
      Fig 6: Staking Spacer
      G04976922Courtesy of © TOYOTA, LICENSE AGREEMENT TMS1002
    10. Using a pin punch (3 mm) and hammer, install a new slotted spring pin to the manual valve lever sub-assembly.
      Fig 7: Installing Slotted Spring Pin To Manual Valve Lever Sub-Assembly
      G04976895Courtesy of © TOYOTA, LICENSE AGREEMENT TMS1002
    11. Turn the spacer and the lever shaft to align the smaller hole of the spacer with the staking position mark on the lever shaft.
    12. Using a pin punch, stake the spacer through the small hole.
    13. Check that the spacer does not turn.
      Fig 8: Staking Spacer
      G04976924Courtesy of © TOYOTA, LICENSE AGREEMENT TMS1002
    14. Using needle-nose pliers, install the manual valve shaft retainer spring to the transaxle case.
      Fig 9: Identifying Manual Valve Lever Shaft Retainer Spring
      G04976891Courtesy of © TOYOTA, LICENSE AGREEMENT TMS1002
  4. INSTALL PARKING LOCK ROD SUB-ASSEMBLY 
    1. Align the dial with the notches on the parking lock lever sub-assembly and install the parking lock rod sub-assembly.
      Fig 10: Identifying Parking Lock Rod Sub-Assembly
      G04976890Courtesy of © TOYOTA, LICENSE AGREEMENT TMS1002
  5. INSTALL MANUAL DETENT SPRING SUB-ASSEMBLY 
    1. Install the manual detent spring sub-assembly and cover to the transaxle case with the bolt.

      Torque: 23 N*m (234 kgf*cm, 17 ft.*lbf) 

      NOTE: Make sure to install the manual detent spring first and then the cover.
      Fig 11: Identifying Manual Detent Spring Sub-Assembly
      G04976889Courtesy of © TOYOTA, LICENSE AGREEMENT TMS1002
  6. INSTALL COUNTER DRIVE GEAR BEARING 
    NOTE: Perform this procedure only when the counter drive gear bearing or transaxle case is replaced.
    1. Using SST and a press, install a new counter drive gear bearing and snap ring to the transaxle case.

      SST 09950-60020 (09951-01030), 09950-70010 (09951-07100) 

      Fig 12: Installing Counter Drive Gear Bearing To Transaxle Case
      G04976928Courtesy of © TOYOTA, LICENSE AGREEMENT TMS1002
  7. INSTALL NO. 3 BRAKE PISTON 
    1. Coat the contact surface of the transaxle case with ATF.
    2. Coat the lip seal of the No. 3 brake piston with ATF.
      Fig 13: Locating Lip Seal Of Brake Piston
      G04976929Courtesy of © TOYOTA, LICENSE AGREEMENT TMS1002
    3. Temporarily install the pawl stopper plate to the transaxle case with the 2 bolts.
      Fig 14: Locating Pawl Stopper Plate Bolts
      G04976930Courtesy of © TOYOTA, LICENSE AGREEMENT TMS1002
    4. Press the return spring installation surface to install the No. 3 brake piston to the transaxle case.
      NOTE:
      • Make sure that the lip of the No. 3 brake piston is not twisted and does not get caught in the transaxle case.
      • After installing, make sure that the protrusions on the No. 3 brake piston and the grooves on the pawl stopper plate are aligned.
    5. Install the return spring to the transaxle case.
      Fig 15: Identifying Brake Piston And Return Spring
      G04976931Courtesy of © TOYOTA, LICENSE AGREEMENT TMS1002
    6. Remove the 2 bolts and pawl stopper plate from the transaxle case.
      Fig 16: Identifying Pawl Stopper Plate Bolts
      G04976932Courtesy of © TOYOTA, LICENSE AGREEMENT TMS1002
    7. Place SST on the brake piston return spring and compress the brake piston return spring with a press.

      SST 09387-00070 

      NOTE: Stop the press when the brake piston return spring is flush with the snap ring groove. This prevents the brake piston return spring from being deformed.
    8. Using a screwdriver, install the snap ring to the transaxle case as shown in the illustration.
      NOTE:
      • Confirm that the snap ring is secured in the groove of the transaxle case.
      • Be sure to align the opening ends of the snap ring with the protrusions on the brake piston return spring as shown in the illustration.
        Fig 17: Installing Snap Ring To Transaxle Case
        G04976933Courtesy of © TOYOTA, LICENSE AGREEMENT TMS1002
  8. INSTALL COUNTER DRIVE GEAR 
    1. Using SST and a press, install the bearing inner race (front side) to the counter drive gear.

      SST 09387-00020 

      Fig 18: Installing Bearing Inner Race (Front Side) To Counter Drive Gear
      G04976934Courtesy of © TOYOTA, LICENSE AGREEMENT TMS1002
    2. Install the bearing inner race (rear side) and counter drive gear to the transaxle case.

      SST 09223-15030, 09527-17011, 09950-60020 (09951-00810), 09950-70010 (09951-07100) 

      NOTE: There should not be any clearance between the bearing inner race (front side) and counter drive gear.
      Fig 19: Installing Bearing Inner Race (Rear Side) And Counter Drive Gear To Transaxle Case
      G04976935Courtesy of © TOYOTA, LICENSE AGREEMENT TMS1002
  9. INSTALL FRONT PLANETARY GEAR ASSEMBLY 
    1. Using SST and a press, press in the planetary gear assembly to the transaxle case.

      SST 09223-15030, 09527-17011, 09951-01100 

      Fig 20: Installing Planetary Gear Assembly To Transaxle Case
      G04976936Courtesy of © TOYOTA, LICENSE AGREEMENT TMS1002
  10. INSTALL NO. 2 BRAKE PISTON 
    1. Coat 2 new O-rings with ATF and install them to the No. 2 brake piston.
      NOTE: Ensure that the 2 O-rings are not twisted.
      Fig 21: Identifying O-Rings
      G04976882Courtesy of © TOYOTA, LICENSE AGREEMENT TMS1002
    2. Install the No. 2 brake piston to the transaxle case.
      NOTE: Be careful not to damage the O-rings.
  11. INSTALL 1ST AND REVERSE BRAKE RETURN SPRING SUB-ASSEMBLY 
    1. Install the 1st and reverse brake return spring to the transaxle case.
      Fig 22: Identifying No 2 Brake Piston
      G04976938Courtesy of © TOYOTA, LICENSE AGREEMENT TMS1002
    2. Place SST on the 1st and reverse brake return spring and compress the 1st and reverse brake return spring with a press.

      SST 09387-00060 

      NOTE: Stop the press when the 1st and reverse brake return spring is flush with the snap ring groove. This prevents the 1st and reverse brake return spring from being deformed.
    3. Using a screwdriver, install the snap ring to the transaxle case as shown in the illustration.
      NOTE:
      • Confirm that the snap ring is secured in the groove of the transaxle case.
      • Be sure to align the opening ends of the snap ring with the protrusions on the transaxle case as shown in the illustration.
        Fig 23: Installing Snap Ring To Transaxle Case
        G04976939Courtesy of © TOYOTA, LICENSE AGREEMENT TMS1002
  12. INSTALL NO. 2 BRAKE DISC 
    1. Install the 5 brake discs, 5 brake plates, and brake flange to the transaxle case.
      NOTE: Make sure that the discs, plates, and flange are installed in the correct order.
      Fig 24: Identifying Brake Flange, Brake Discs And Brake Plates
      G04976878Courtesy of © TOYOTA, LICENSE AGREEMENT TMS1002
    2. Using a screwdriver, install the snap ring to the transaxle case.
      NOTE:
      • Confirm that the snap ring is secured in the groove of the transaxle case.
      • Be sure to align the opening ends of the snap ring with the protrusions on the transaxle case as shown in the illustration.
      Fig 25: Installing Snap Ring To Transaxle Case
      G04976941Courtesy of © TOYOTA, LICENSE AGREEMENT TMS1002
  13. INSPECT CLEARANCE OF NO. 2 BRAKE (See  INSPECTION   ) 
  14. INSTALL PLANETARY RING GEAR FLANGE 
    1. Install the planetary ring gear flange to the planetary ring gear.
    2. Using a screwdriver, install the snap ring to the planetary ring gear.
      NOTE: Confirm that the snap ring is secured in the groove of the planetary ring gear.
      Fig 26: Identifying Planetary Ring Gear Flange And Snap Ring
      G04976876Courtesy of © TOYOTA, LICENSE AGREEMENT TMS1002
  15. INSTALL PLANETARY RING GEAR 
    1. Install the planetary ring gear to the one-way clutch assembly.
      NOTE: Make sure that the one-way clutch assembly is positioned in the correct direction as shown in the illustration.
      Fig 27: Identifying Planetary Ring Gear And One-Way Clutch Assembly
      G04976875Courtesy of © TOYOTA, LICENSE AGREEMENT TMS1002
  16. INSTALL ONE-WAY CLUTCH ASSEMBLY 
    1. Coat the thrust needle roller bearing with ATF, and install it onto the planetary gear assembly.

      Bearing diameter: mm (in.) 

      BEARING DIAMETER SPECIFICATION

      - Inside Outside
      Bearing 56.1 (2.209) 80.9 (3.185)
      NOTE: Install the thrust needle roller bearing properly so that the temper colored side of the race will be visible.
    2. Install the one-way clutch assembly to the transaxle case.
      NOTE: Make sure that there is no clearance between the retainer and the claw on the one-way clutch assembly. If there is any clearance, the spring of the retainer will be deformed.
      Fig 28: Identifying One-Way Clutch Assembly And Retainer
      G04976944Courtesy of © TOYOTA, LICENSE AGREEMENT TMS1002
    3. Using a screwdriver, install the snap ring to the transaxle case.
      NOTE:
      • Confirm that the snap ring is secured in the groove of the transaxle case.
      • Be sure to align the opening ends of the snap ring with the protrusions on the transaxle case.
        Fig 29: Installing Snap Ring To Transaxle Case
        G04976945Courtesy of © TOYOTA, LICENSE AGREEMENT TMS1002
  17. INSTALL COUNTER DRIVEN GEAR REAR TAPERED ROLLER BEARING OUTER RACE 
    1. Using SST and a hammer, install the counter driven gear rear tapered roller bearing outer race to the transaxle case.

      SST 09950-60010 (09951-00650), 09950-70010 (09951-07100) 

      NOTE: Be sure to install the counter driven gear rear tapered roller bearing outer race so that there is no clearance between the bearing outer race and the transaxle case. If there is any clearance, the turning torque of the counter drive gear cannot be measured correctly.
      Fig 30: Installing Counter Driven Gear Rear Tapered Roller Bearing Outer Race
      G04976946Courtesy of © TOYOTA, LICENSE AGREEMENT TMS1002
  18. INSTALL PARKING LOCK PAWL 
    1. Install the parking lock pawl to the transaxle case with the parking lock pawl shaft.
    2. Install the parking lock pawl pin to the transaxle case.
      Fig 31: Identifying Spring, Parking Lock Pawl Pin, Parking Lock Pawl Shaft And Parking Lock Pawl
      G04976871Courtesy of © TOYOTA, LICENSE AGREEMENT TMS1002
    3. Install the torsion spring to the parking lock pawl.
      NOTE: Make sure that one end of the spring is fixed in the hole of the transaxle case and the other end is positioned on the parking lock pawl as shown in the illustration.
      Fig 32: Identifying Torsion Spring
      G04976948Courtesy of © TOYOTA, LICENSE AGREEMENT TMS1002
  19. INSTALL PARKING LOCK SLEEVE 
    1. Install the parking lock sleeve to the transaxle case.
      Fig 33: Identifying Parking Lock Sleeve
      G04976870Courtesy of © TOYOTA, LICENSE AGREEMENT TMS1002
  20. INSTALL PAWL STOPPER PLATE 
    1. Install the pawl stopper plate to the transaxle case with the 2 bolts.

      Torque: 23 N*m (234 kgf*cm, 17 ft.*lbf) 

      Fig 34: Identifying Pawl Stopper Plate Bolts
      G04976869Courtesy of © TOYOTA, LICENSE AGREEMENT TMS1002
  21. INSTALL PAWL SHAFT CLAMP 
    1. Install the pawl shaft clamp to the transaxle case with the bolt.

      Torque: 23 N*m (234 kgf*cm, 17 ft.*lbf) 

      Fig 35: Identifying Pawl Shaft Clamp Bolt
      G04976868Courtesy of © TOYOTA, LICENSE AGREEMENT TMS1002
  22. INSTALL COUNTER DRIVEN GEAR FRONT TAPERED ROLLER BEARING 
    1. Using SST and a press, install a new the counter driven gear front tapered roller bearing to the counter driven gear sub-assembly.

      SST 09950-60010 (09951-00530) 

      NOTE: Be sure to install the counter driven gear front tapered roller bearing so that there is no clearance between the bearing and the counter driven gear. If there is any clearance, the turning torque of the counter drive gear cannot be measured correctly.
      Fig 36: Installing Counter Driven Gear Front Tapered Roller Bearing
      G04976952Courtesy of © TOYOTA, LICENSE AGREEMENT TMS1002
  23. INSTALL COUNTER DRIVEN GEAR REAR TAPERED ROLLER BEARING 
    1. Using SST and a press, install a new the counter driven gear rear tapered roller bearing to the counter driven gear sub-assembly.

      SST 09950-60010 (09951-00420) 

      NOTE: Be sure to install the counter driven gear rear tapered roller bearing and the differential drive pinion so that there is no clearance between each of them and the counter driven gear.
      Fig 37: Installing Counter Driven Gear Rear Tapered Roller Bearing
      G04976953Courtesy of © TOYOTA, LICENSE AGREEMENT TMS1002
  24. INSTALL COUNTER DRIVEN GEAR 
    1. Install the counter driven gear sub-assembly to the transaxle case.
      Fig 38: Identifying Counter Driven Gear Sub-Assembly
      G04976865Courtesy of © TOYOTA, LICENSE AGREEMENT TMS1002
  25. INSTALL COUNTER DRIVE GEAR NUT 
    1. Turn the manual shaft lever 2 notches counterclockwise to set it in the P position as shown in the illustration.
      Fig 39: Turning Manual Valve Lever Notches Counterclockwise
      G04976862Courtesy of © TOYOTA, LICENSE AGREEMENT TMS1002
    2. Using SST, install a new nut.

      SST 09387-00130 

      Torque: 120 N*m (1,223 kgf*cm, 88 ft.*lbf) 

      Fig 40: Tightening Nut
      G04976863Courtesy of © TOYOTA, LICENSE AGREEMENT TMS1002
    3. Turn the manual shaft lever 2 notches clockwise to set it in the N position as shown in the illustration.
      Fig 41: Turning Manual Valve Lever Notches Clockwise
      G04976864Courtesy of © TOYOTA, LICENSE AGREEMENT TMS1002
    4. Using SST and a torque wrench, measure the turning torque of the bearing while rotating SST at 60 rpm.

      SST 09387-00130 

      Turning torque: 

      0.10 to 0.22 N*m (1.02 to 2.24 kgf*cm, 0.89 to 1.94 in.*lbf) 

      When the measured value is not within the specified range, gradually tighten the nut until the turning toque falls within the specified range.

      Maximum torque: 

      180 N*m (1,835 kgf*cm, 132 ft.*lbf) 

      Fig 42: Measuring Turning Torque Of Bearing
      G04976958Courtesy of © TOYOTA, LICENSE AGREEMENT TMS1002
    5. Using SST and a hammer, stake the planetary gear assembly.

      SST 09930-00010 

      Fig 43: Unstaking Planetary Gear Assembly
      G04976861Courtesy of © TOYOTA, LICENSE AGREEMENT TMS1002
  26. INSTALL FRONT DIFFERENTIAL CASE 
    1. Install the differential case sub-assembly to the transaxle case.
    Fig 44: Identifying Differential Case Sub-Assembly
    G04976860Courtesy of © TOYOTA, LICENSE AGREEMENT TMS1002
  27. INSPECT DIFFERENTIAL SIDE GEAR (See  INSPECTION   ) 
  28. INSTALL NO. 1 BRAKE PISTON 
    1. Coat 2 new O-rings with ATF and install them to the No. 1 brake piston.
      NOTE: Ensure that the 2 O-rings are not twisted.
      Fig 45: Identifying O-Rings
      G04976859Courtesy of © TOYOTA, LICENSE AGREEMENT TMS1002
    2. Install the No. 1 brake piston to the oil pump assembly.
      NOTE: Be careful not to damage the O-rings.
      Fig 46: Identifying Brake Piston
      G04976962Courtesy of © TOYOTA, LICENSE AGREEMENT TMS1002
  29. INSTALL 2ND BRAKE PISTON RETURN SPRING SUB-ASSEMBLY 
    1. Install the 3 2nd brake piston return springs to the oil pump assembly.
      NOTE: Make sure that the 3 2nd brake piston return springs are installed straight through the protrusions on the oil pump assembly.
      Fig 47: Identifying 2nd Brake Piston Return Springs
      G04976857Courtesy of © TOYOTA, LICENSE AGREEMENT TMS1002
  30. INSTALL NO. 1 BRAKE DISC 
    1. Install the 4 brake discs, 4 brake plates, and brake flange to the oil pump assembly.
      NOTE:
      • Make sure that the discs, plates, and flange are installed in the correct order.
      • Be sure to install the flange in the correct direction.
        Fig 48: Identifying Brake Discs, Brake Plates And Brake Flange
        G04976964Courtesy of © TOYOTA, LICENSE AGREEMENT TMS1002
    2. Place SST on the flange and compress the flange with a press.

      SST 09387-00070,09495-65040 

      NOTE: Stop the press when the brake piston return spring is flush with the snap ring groove. This prevents the brake piston return spring from being deformed.
    3. Using a screwdriver, install the snap ring to the oil pump assembly as shown in the illustration (#1).
      NOTE:
      • Confirm the snap ring is fixed in the groove of the oil pump assembly.
      • Be sure to align the opening ends of the snap ring with the protrusions on the oil pump assembly as shown in the illustration.
    4. Using a screwdriver, install the snap ring to the oil pump assembly as shown in the illustration (#2).
      NOTE:
      • Confirm that the snap ring is secured in the groove of the oil pump assembly.
      • Be sure to align the opening ends of the snap ring with the protrusions on the oil pump assembly as shown in the illustration.
        Fig 49: Installing Snap Ring To Transaxle Case
        G04976965Courtesy of © TOYOTA, LICENSE AGREEMENT TMS1002
  31. INSPECT CLEARANCE OF NO. 1 BRAKE (See  INSPECTION   ) 
  32. INSTALL UNDERDRIVE PLANETARY SUN GEAR 
    1. Coat the thrust needle roller bearing with ATF, and install it to the oil pump assembly.

      Bearing diameter: mm (in.) 

      BEARING DIAMETER SPECIFICATION

      - Inside Outside
      Bearing 57.7 (2.272) 75.2 (2.961)
      NOTE: Install the thrust needle roller bearing properly so that the temper colored side of the race will be visible.
    2. Install the underdrive planetary sun gear to the oil pump assembly.
      Fig 50: Identifying Underdrive Planetary Sun Gear And Oil Pump Assembly
      G04976966Courtesy of © TOYOTA, LICENSE AGREEMENT TMS1002
  33. INSTALL INPUT SHAFT SUB-ASSEMBLY 
    1. Coat the 3 input shaft oil seal rings with ATF and install them to the input shaft.
      NOTE: Do not expand the gap of the oil seal ring too much.
    2. Coat the thrust needle roller bearing and thrust needle roller race with ATF, and install them on the oil pump assembly.

      Bearing diameter: mm (in.) 

      BEARING DIAMETER SPECIFICATION

      - Inside Outside
      Bearing 29.1 (1.146) 48.6 (1.913)
      Race 30.7 (1.209) 48.3 (1.902)
      NOTE: Be sure to install the thrust needle roller bearing in the correct direction.
      Fig 51: Identifying Thrust Needle Roller Bearing, Input Shaft And Thrust Needle Roller Race
      G04976967Courtesy of © TOYOTA, LICENSE AGREEMENT TMS1002
    3. Install the input shaft to the oil pump assembly.
      Fig 52: Identifying Input Shaft And Oil Pump Assembly
      G04976852Courtesy of © TOYOTA, LICENSE AGREEMENT TMS1002
  34. INSTALL PLANETARY SUN GEAR SUB-ASSEMBLY 
    1. Using a snap ring expander, install the snap ring to the underdrive planetary gear assembly.
    2. Using a snap ring expander, install the front planetary sun gear sub-assembly to the underdrive planetary gear assembly with the snap ring expanded.
      Fig 53: Identifying Snap Ring, Planetary Sun Gear And Underdrive Planetary Gear Assembly
      G04976851Courtesy of © TOYOTA, LICENSE AGREEMENT TMS1002
  35. INSTALL UNDERDRIVE PLANETARY RING GEAR 
    1. Install the underdrive planetary ring gear to the underdrive planetary gear assembly.
    2. Using needle-nose pliers, install the snap ring to the underdrive planetary ring gear.
      NOTE: Confirm that the snap ring is secured in the groove of the underdrive planetary ring gear.
      Fig 54: Identifying Underdrive Planetary Ring Gear And Snap Ring
      G04976850Courtesy of © TOYOTA, LICENSE AGREEMENT TMS1002
  36. INSTALL NO. 3 BRAKE HUB 
    1. Coat the thrust needle roller bearing with ATF and install it on the underdrive planetary gear assembly.

      Bearing diameter: mm (in.) 

      BEARING DIAMETER SPECIFICATION

      - Inside Outside
      Bearing 62.6 (2.464) 82.9 (3.263)
      Race 65.9 (2.594) 80.3 (3.161)
      NOTE: Install the thrust needle roller bearing properly so that the temper colored side of the race will be visible.
      Fig 55: Identifying Thrust Needle Roller Bearing
      G04976971Courtesy of © TOYOTA, LICENSE AGREEMENT TMS1002
    2. Coat the race with MP grease and install it to the No. 3 brake hub.
      Fig 56: Identifying Thrust Needle Roller Race
      G04976972Courtesy of © TOYOTA, LICENSE AGREEMENT TMS1002
    3. Install the No. 3 brake hub to the underdrive planetary gear assembly.
      Fig 57: Identifying No 3 Brake Hub And Underdrive Planetary Gear Assembly
      G04976848Courtesy of © TOYOTA, LICENSE AGREEMENT TMS1002
  37. INSTALL UNDERDRIVE PLANETARY GEAR ASSEMBLY 
    1. Install the underdrive planetary gear assembly to the oil pump assembly.
      Fig 58: Identifying Underdrive Planetary Gear Assembly And Oil Pump Assembly
      G04976847Courtesy of © TOYOTA, LICENSE AGREEMENT TMS1002
  38. INSTALL NO. 3 BRAKE DISC 
    1. Install the 2 brake flanges, 3 brake discs, and 2 brake plates to the oil pump assembly.
      NOTE: Make sure that the discs, plates, and flange are installed in the correct order.
      Fig 59: Identifying Brake Flanges, Brake Discs And Brake Plates
      G04976846Courtesy of © TOYOTA, LICENSE AGREEMENT TMS1002
    2. Using a screwdriver, install the snap ring to the oil pump assembly.
      NOTE:
      • Confirm the snap ring is fixed in the groove of the oil pump.
      • Be sure to align the opening ends of the snap ring with the protrusions on the brake piston return spring as shown in the illustration.
      Fig 60: Identifying Snap Ring
      G04976976Courtesy of © TOYOTA, LICENSE AGREEMENT TMS1002
  39. INSPECT CLEARANCE OF NO. 3 BRAKE 
  40. INSTALL FRONT OIL PUMP AND GEAR BODY SUB-ASSEMBLY 
    1. Coat the O-ring with ATF and install it to the transaxle case.
    2. Coat the thrust needle roller bearing and thrust needle roller race with ATF and install them on the underdrive planetary gear assembly.

      Bearing and race diameter: mm (in.) 

      BEARING AND RACE DIAMETER SPECIFICATION

      - Inside Outside
      Bearing 53.1 (2.091) 79 (3.11)
      Race 59.4 (2.339) 77 (3.03)
      NOTE: Install the thrust needle roller bearing properly so that the temper colored side of the race will be visible.
      Fig 61: Identifying Thrust Needle Roller Bearing And Thrust Needle Roller Race
      G04976977Courtesy of © TOYOTA, LICENSE AGREEMENT TMS1002
    3. Coat the O-ring with ATF and install it to the oil pump.
    4. Install the oil pump assembly to the transaxle case with the 7 bolts.

      Torque: 23 N*m (234 kgf*cm, 17 ft.*lbf) 

      Fig 62: Identifying O-Ring
      G04976843Courtesy of © TOYOTA, LICENSE AGREEMENT TMS1002
  41. INSTALL DIFFERENTIAL GEAR LUBE APPLY TUBE 
    1. Install the differential gear lube apply tube to the transaxle housing.
      NOTE: Insert the differential lube apply tube into the transaxle case until it makes contact with the stopper.
    2. Install the apply tube clamp to the differential gear lube apply tube with the bolt.

      Torque: 23 N*m (234 kgf*cm, 17 ft.*lbf) 

      NOTE: There should be clearance between the differential lube apply tube and apply tube clamp.
      Fig 63: Identifying Differential Gear Lube Apply Tube
      G04976842Courtesy of © TOYOTA, LICENSE AGREEMENT TMS1002
  42. INSTALL COUNTER DRIVEN GEAR FRONT TAPERED ROLLER BEARING OUTER RACE 
    1. Install the shim to the transaxle housing.
    2. Using SST, install a new counter driven gear front tapered roller bearing outer race to the transaxle housing.

      SST 09950-60020 (09951-00810), 09950-70010 (09951-07100) 

      NOTE: Be sure to install the counter driven gear front tapered roller bearing outer race so that there is no clearance between the shim and the transaxle housing.
      Fig 64: Installing Counter Driven Gear Front Tapered Roller Bearing Outer Race
      G04976980Courtesy of © TOYOTA, LICENSE AGREEMENT TMS1002
  43. INSTALL TRANSAXLE HOUSING 
    1. Remove packing material from the contact surface between the transaxle housing and case.
      NOTE: Make sure that there is no ATF on the contact surface.
    2. Apply FIPG to the transaxle case. FIPG:

      Toyota Genuine Seal Packing 1281, Three Bond 1281 or equivalent. 

      NOTE: Apply a bead of FIPG (width 1.2 mm (0.047 in.)) along the sealing surface.
      Fig 65: Identifying FIPG Applying Area
      G04976981Courtesy of © TOYOTA, LICENSE AGREEMENT TMS1002
    3. Install the transaxle housing to the transaxle case with the 20 bolts.

      Torque: 

      Bolt A 

      31 N*m (316 kgf*cm, 23 ft.*lbf) 

      Bolt B 

      23 N*m (234 kgf*cm, 17 ft.*lbf) 

      Fig 66: Identifying Transaxle Housing Bolts
      G04976982Courtesy of © TOYOTA, LICENSE AGREEMENT TMS1002
  44. ADJUST COUNTER DRIVEN GEAR PRELOAD 
    1. Using SST and a torque wrench, measure the turning torque of the counter driven gear while rotating SST at 10 rpm.

      SST 09564-33010 

      Turning torque: 

      Differential side bearing preload 3.29 to 6.07 N*m (33.53 to 61.86 kgf*cm, 2.42 to 4.46 ft.*lbf) 

      If the turning torque is not within the specified range, refer to the table below to select a shim of the counter driven gear front tapered roller bearing outer race so that the turning torque is within the specified range.

      THICKNESS SPECIFICATION

      Thickness Thickness Thickness Thickness
      2.000 (0.0787) 2.275 (0.0896) 2.525 (0.0994) 2.775 (0.1093)
      2.025 (0.0797) 2.300 (0.0906) 2.550 (0.1004) 2.800 (0.1102)
      2.050 (0.0807) 2.325 (0.0915) 2.575 (0.1014) 2.825 (0.1112)
      2.075 (0.0817) 2.350 (0.0925) 2.600 (0.1024) 2.850 (0.1122)
      2.100 (0.0827) 2.375 (0.0935) 2.625 (0.1034) 2.875 (0.1132)
      2.125 (0.0837) 2.400 (0.0945) 2.650 (0.1043) 2.900 (0.1142)
      2.150 (0.0847) 2.425 (0.0955) 2.675 (0.1053) 2.925 (0.1152)
      2.175 (0.0856) 2.450 (0.0965) 2.700 (0.1063) 2.950 (0.1161)
      2.200 (0.0866) 2.475 (0.0974) 2.725 (0.1073) 2.975 (0.1171)
      2.225 (0.0876) 2.500 (0.0984) 2.750 (0.1083) 3.000 (0.1181)
      2.250 (0.0886) - - -
      Fig 67: Measuring Turning Torque Of Counter Driven Gear
      G04976983Courtesy of © TOYOTA, LICENSE AGREEMENT TMS1002
  45. INSTALL NO. 1 CLUTCH DISC 
    1. Install the clutch flange, 4 clutch discs, and 4 clutch plates to the direct multiple disc clutch assembly.
      NOTE: Make sure that the flange, discs, and plates are installed in the correct order.
      Fig 68: Identifying Flange, Clutch Discs And Clutch Plates
      G04976839Courtesy of © TOYOTA, LICENSE AGREEMENT TMS1002
    2. Using a screwdriver, install the 2 snap rings to the direct multiple disc clutch assembly.
      NOTE: Confirm that the snap ring is secured in the groove of the direct multiple disc clutch assembly.
      Fig 69: Identifying Snap Rings
      G04976838Courtesy of © TOYOTA, LICENSE AGREEMENT TMS1002
  46. INSPECT CLEARANCE OF NO. 1 CLUTCH DISC (See  INSPECTION   ) 
  47. INSTALL REAR PLANETARY SUN GEAR ASSEMBLY 
    1. Coat the thrust needle roller bearing and thrust needle roller race with ATF, and install them to the direct multiple disc clutch assembly.

      Bearing and race diameter: mm (in.) 

      BEARING AND RACE DIAMETER SPECIFICATION

      - Inside Outside
      Bearing 28 (1.10) 47.1 (1.854)
      Race 26.1 (1.028) 44 (1.73)
      NOTE: Install the thrust needle roller bearing properly so that the temper colored side of the race will be visible.
      Fig 70: Identifying Thrust Needle Roller Bearing And Thrust Needle Roller Race
      G04976986Courtesy of © TOYOTA, LICENSE AGREEMENT TMS1002
    2. Install the rear planetary sun gear to the direct multiple disc clutch assembly.
      Fig 71: Identifying Rear Planetary Sun Gear And Direct Multiple Disc Clutch Assembly
      G04976987Courtesy of © TOYOTA, LICENSE AGREEMENT TMS1002
    3. Using a snap ring expander, install the snap ring to the direct multiple disc clutch assembly.
      Fig 72: Identifying Snap Ring
      G04976988Courtesy of © TOYOTA, LICENSE AGREEMENT TMS1002
  48. INSTALL NO. 2 CLUTCH DISC 
    1. Install the clutch flange, 3 clutch discs, and 3 clutch plates to the direct multiple disc clutch assembly.
      NOTE: Make sure that the flange, discs, and plates are installed in the correct order.
      Fig 73: Identifying Flange, Clutch Discs And Clutch Plates
      G04976834Courtesy of © TOYOTA, LICENSE AGREEMENT TMS1002
  49. INSTALL DIRECT MULTIPLE DISC CLUTCH SNAP RING 
    1. Coat a new O-ring with ATF and install it to the direct multiple disc clutch assembly.
    2. Coat a new intermediate shaft oil seal ring with ATF and install it to the intermediate shaft.
      Fig 74: Identifying O-Ring And Intermediate Shaft Oil Seal
      G04976833Courtesy of © TOYOTA, LICENSE AGREEMENT TMS1002
    3. Install the No. 2 direct clutch piston to the direct multiple disc clutch assembly.
      NOTE: Be sure to engage the claws on the direct multiple disc clutch assembly to the grooves on the No. 2 direct clutch piston.
      Fig 75: Installing No. 2 Direct Clutch Piston To Direct Multiple Disc Clutch
      G04976991Courtesy of © TOYOTA, LICENSE AGREEMENT TMS1002
    4. Using a screwdriver, install the snap ring to the direct multiple disc clutch assembly.
      NOTE: Position the opening of the snap ring as shown in the illustration.
      Fig 76: Installing Snap Ring To Direct Multiple Disc Clutch Assembly
      G04976992Courtesy of © TOYOTA, LICENSE AGREEMENT TMS1002
  50. INSPECT CLEARANCE OF NO. 2 CLUTCH DISC (See  INSPECTION   ) 
  51. INSTALL REAR MULTIPLE DISC CLUTCH ASSEMBLY 
    1. Coat the thrust needle roller bearing with ATF and install it on the transaxle case.

      Bearing diameter: mm (in.) 

      BEARING DIAMETER SPECIFICATION

      - Inside Outside
      Bearing 61.2 (2.409) 79 (3.11)
    2. Install the direct multiple disc clutch assembly to the transaxle case.
    3. Clean the contact surface of the transaxle case and transaxle rear cover.
      Fig 77: Identifying Rear Multiple Disc Clutch Assembly
      G04976993Courtesy of © TOYOTA, LICENSE AGREEMENT TMS1002
    4. As shown in the illustration, place a straight edge on the multiple direct clutch drum and measure the distance between the transaxle case and the straight edge using vernier calipers (Dimension A).
      Fig 78: Identifying Distance Between Transaxle Case And Straight Edge
      G04976994Courtesy of © TOYOTA, LICENSE AGREEMENT TMS1002
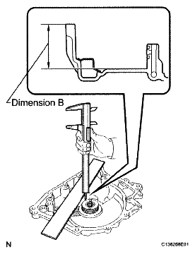
    5. Using vernier calipers and a straight edge, measure the distance shown in the illustration. (Dimension B)
    6. Calculate the end play value using the following formula:

      End play = Dimension B - Dimension A

      End play: 

      0.007 to 1.113 mm (0.0003 to 0.0438 in.) 

      Fig 79: Measuring Dimension B
      G04976995Courtesy of © TOYOTA, LICENSE AGREEMENT TMS1002
  52. INSTALL TRANSAXLE REAR COVER SUB-ASSEMBLY 
    1. Using SST and a hammer, install the needle roller bearing into the transaxle rear cover.

      SST 09950-60010 (09951-00220), 09950-70010 (09951-07100) 

      Press installation depth: 

      21.5 to 21.9 mm (0.8464 to 08622 in.) 

    2. Apply adhesive to the 2 "TORX" screws.

      Adhesive: 

      Toyota Genuine Adhesive 1324, Three Bond 1324 or equivalent 

      Fig 80: Installing Needle Roller Bearing Into Transaxle Rear Cover
      G04976996Courtesy of © TOYOTA, LICENSE AGREEMENT TMS1002
    3. Using a "TORX" wrench (T30), install the transaxle rear cover plate to the transaxle rear cover with the 2 "TORX" screws.

      Torque: 7.5 N*m (76 kgf*cm, 66 in.*lbf) 

      Fig 81: Identifying Transaxle Rear Cover Plate Screws
      G04976828Courtesy of © TOYOTA, LICENSE AGREEMENT TMS1002
    4. Coat the thrust needle roller bearing and thrust needle roller race with ATF and install it on the transaxle case.

      Bearing diameter: mm (in.) 

      BEARING DIAMETER SPECIFICATION

      - Inside Outside
      Bearing 48.9 (1.925) 72.0 (2.835)
      Race 52.2 (2.055) 70.4 (2.772)
    5. Coat the 2 new oil seals with ATF and install them to the transaxle rear cover.
      Fig 82: Identifying Oil Seal Ring, Thrust Needle Roller Bearing And Thrust Needle Roller Race
      G04976998Courtesy of © TOYOTA, LICENSE AGREEMENT TMS1002
    6. Coat the 3 O-rings with ATF and install them to the transaxle case.
      NOTE: Ensure that the 3 O-rings are not twisted.
      Fig 83: Identifying O-Rings
      G04976826Courtesy of © TOYOTA, LICENSE AGREEMENT TMS1002
    7. Remove packing material from the contact surfaces between the transaxle rear cover and transaxle case.
      NOTE: Make sure that there is no ATF on the contact surface.

      FIPG: 

      Toyota Genuine Seal Packing 1281, Three Bond 1281 or equivalent. 

      Fig 84: Identifying Packing Material
      G04977000Courtesy of © TOYOTA, LICENSE AGREEMENT TMS1002
    8. Install the transaxle rear cover to the transaxle case with the 14 bolts.

      Torque: 

      Bolt A 

      23 N*m (234 kgf*cm, 17 ft.*lbf) 

      Bolt B 

      17 N*m (173 kgf*cm, 12 ft.*lbf) 

      Fig 85: Identifying Transaxle Rear Cover Bolts
      G04977001Courtesy of © TOYOTA, LICENSE AGREEMENT TMS1002
    9. Install a new gasket to the refill plug.
    10. Install the refill plug to the transaxle rear cover.

      Torque: 49 N*m (500 kgf*cm, 36 ft.*lbf) 

      Fig 86: Identifying Refill Plug
      G04976823Courtesy of © TOYOTA, LICENSE AGREEMENT TMS1002
    11. Coat 2 new O-rings with ATF and install them to the 2 No. 1 automatic transaxle case plugs.
    12. Install the 2 No. 1 automatic transaxle case plugs to the transaxle rear cover.

      Torque: 7.4 N*m (75 kgf*cm, 65 in.*lbf) 

      Fig 87: Identifying Automatic Transaxle Case Plugs
      G04976824Courtesy of © TOYOTA, LICENSE AGREEMENT TMS1002
  53. INSPECT INPUT SHAFT END PLAY (See  INSPECTION   ) 
  54. INSTALL TRANSAXLE CASE GASKET 
    1. Coat the 2 gaskets with ATF and install them to the transaxle case.
      Fig 88: Identifying Gaskets
      G04976822Courtesy of © TOYOTA, LICENSE AGREEMENT TMS1002
  55. INSTALL TRANSMISSION VALVE BODY ASSEMBLY 
    1. Install the valve body assembly to the transaxle case with the 11 bolts.

      Torque: 11 N*m (112 kgf*cm, 8 ft.*lbf) 

      BOLT LENGTH SPECIFICATION

      - Bolt length
      Bolt A 25 mm (0.98 in.)
      Bolt B 30 mm (1.18 in.)
      Bolt C 35 mm (1.38 in.)
      Bolt D 45 mm (1.77 in.)
      Bolt E 55 mm (2.17 in.)
      NOTE:
      • When installing the transmission valve body assembly, be careful not to allow the transmission revolution sensor and transaxle case to interfere each other.
        Fig 89: Identifying Transmission Valve Body Assembly Bolts
        G04976684Courtesy of © TOYOTA, LICENSE AGREEMENT TMS1002
      • Be sure to insert the pin of the manual valve lever into the groove on the end of the manual valve.
      • First, temporarily tighten the bolts marked by (*1) in the illustration because they are positioning bolts.
  56. INSTALL VALVE BODY OIL STRAINER ASSEMBLY 
    1. Coat a new O-ring with ATF and install it to the oil strainer assembly.
      NOTE: Ensure that the O-ring is not twisted or pinched.
      Fig 90: Identifying O-Ring
      G04976820Courtesy of © TOYOTA, LICENSE AGREEMENT TMS1002
    2. Install the oil strainer assembly to the valve body assembly with the 2 bolts.

      Torque: 11 N*m (112 kgf*cm, 8 ft.*lbf) 

      Fig 91: Locating Oil Strainer Bolts
      G04976679Courtesy of © TOYOTA, LICENSE AGREEMENT TMS1002
  57. INSTALL AUTOMATIC TRANSAXLE OIL PAN SUB-ASSEMBLY 
    1. Install the 2 magnets in the automatic transaxle oil pan sub-assembly.
      Fig 92: Identifying Magnets
      G04977008Courtesy of © TOYOTA, LICENSE AGREEMENT TMS1002
    2. Apply adhesive to the 18 bolts.

      Adhesive: 

      Toyota Genuine Adhesive 1344, Three Bond 1344 or equivalent. 

    3. Install the automatic transaxle oil pan sub-assembly and a new gasket to the transaxle case with the 18 bolts.

      Torque: 7.5 N*m (76 kgf*cm, 66 in.*lbf) 

      NOTE:
      • In order to ensure proper sealing of the transmission pan bolts, apply adhesive to the bolts and install them within 10 minutes of adhesive application.
      • Completely remove any oil or grease from the contact surface of the transaxle case and oil pan sub-assembly with the gasket before installation.
        Fig 93: Locating Oil Pan Bolts
        G04976676Courtesy of © TOYOTA, LICENSE AGREEMENT TMS1002
    4. Install the No. 1 oil filler tube from the automatic transaxle assembly.
      Fig 94: Locating Oil Filler Tube
      G04976816Courtesy of © TOYOTA, LICENSE AGREEMENT TMS1002
    5. Install the overflow plug and a new gasket to the oil pun sub-assembly.

      Torque: 40 N*m (408 kgf*cm, 30 ft.*lbf) 

      Fig 95: Locating Overflow Plug
      G04976815Courtesy of © TOYOTA, LICENSE AGREEMENT TMS1002
  58. INSTALL NO. 1 TRANSAXLE CASE PLUG 
    1. Install the 3 gaskets to the 3 hexagon bolts.
    2. Apply adhesive to the 3 hexagon bolts.

      Adhesive: 

      Toyota Genuine Adhesive 1344, Three Bond 1344 or equivalent. 

      NOTE: In order to ensure proper sealing of the hexagon bolts, apply adhesive to the bolts and install them within 10 minutes of adhesive application.
    3. Install the 3 hexagon bolts to the transaxle housing with the gaskets.

      Torque: 29 N*m (296 kgf*cm, 21 ft.*lbf) 

      Fig 96: Identifying Transaxle Housing Hexagon Bolts
      G04976813Courtesy of © TOYOTA, LICENSE AGREEMENT TMS1002
    4. Coat 3 new O-rings with the ATF and install them to the 3 No. 1 transaxle case plugs.
    5. Install the 3 No. 1 transaxle case plugs to the transaxle case.

      Torque: 7.4 N*m (75 kgf*cm, 65 in.*lbf) 

      Fig 97: Identifying Transaxle Case Plugs
      G04976812Courtesy of © TOYOTA, LICENSE AGREEMENT TMS1002
  59. INSTALL OIL COOLER TUBE UNION (OUTLET OIL COOLER UNION) 
    1. Coat a new O-ring with ATF and install it to the oil cooler tube union (outlet oil cooler union).
    2. Install the oil cooler tube union (outlet oil cooler union) to the transaxle case as shown in the illustration.

      Torque: 27 N*m (275 kgf*cm, 20 ft.*lbf) 

      Fig 98: Identifying Oil Cooler Tube Union (Outlet Oil Cooler Union)
      G04976811Courtesy of © TOYOTA, LICENSE AGREEMENT TMS1002
  60. INSTALL OIL COOLER TUBE UNION (INLET OIL COOLER UNION) 
    1. Coat a new O-ring with ATF and install it to the oil cooler tube union (inlet oil cooler union).
    2. Install the oil cooler tube union (inlet oil cooler union) to the transaxle case.

      Torque: 27 N*m (275 kgf*cm, 20 ft.*lbf) 

      Fig 99: Identifying Oil Cooler Tube Union (Inlet Oil Cooler Union)
      G04976810Courtesy of © TOYOTA, LICENSE AGREEMENT TMS1002
  61. INSTALL PARK/NEUTRAL POSITION SWITCH ASSEMBLY 
    1. Align the protrusions of the park/neutral position switch.
      Fig 100: Identifying Protrusions Of Park/Neutral Position Switch
      G05249925Courtesy of © TOYOTA, LICENSE AGREEMENT TMS1002
    2. Install the park/neutral position switch to the control shaft with the 2 bolts.

      Torque: 5.4 N*m (55 kgf*cm, 48 in.*lbf) 

      NOTE:
      • Before installing the park/neutral position switch, remove any dirt or rust on the installation portion of the control shaft. Be sure to install the switch straight along the shaft while being careful not to deform the plate spring that supports the shaft. If the plate spring is deformed, the park/neutral switch cannot be reinstalled correctly.
      • After installing the park/neutral position switch, confirm that the 2 protrusions on the switch are aligned.
        Fig 101: Locating Park/Neutral Position Switch Bolts
        G05249926Courtesy of © TOYOTA, LICENSE AGREEMENT TMS1002
    3. Install the control shaft lever to the control shaft with the washer and nut.

      Torque: 13 N*m (130 kgf*cm, 9 ft.*lbf) 

      Fig 102: Identifying Control Shaft Lever Nut And Washer
      G04976660Courtesy of © TOYOTA, LICENSE AGREEMENT TMS1002
  62. INSTALL BREATHER PLUG HOSE 
    1. Install a new O-ring to the breather plug.
    2. Install the breather plug to the breather plug hose.
    3. Install the breather plug cap to the breather plug hose.
      Fig 103: Identifying Breather Plug, Breather Plug Hose And Breather Plug Cap
      G04976807Courtesy of © TOYOTA, LICENSE AGREEMENT TMS1002
    4. Install the breather plug hose to the transaxle case.
      Fig 104: Identifying Breather Plug Hose
      G04976806Courtesy of © TOYOTA, LICENSE AGREEMENT TMS1002