LEMON Manuals: Even more car manuals for everyone: 1960-2025
Home >> Lexus >> 2007 >> ES 350 >> Repair and Diagnosis >> Transmission >> Automatic Trans >> Automatic Transaxle >> Valve Body Assembly >> Installation
April 5, 2026: LEMON Manuals is launched! Read the announcement.

Valve Body Assembly: Installation

  1. INSTALL MANUAL VALVE 
    1. Coat the manual valve with ATF and install it to the valve body.
    Fig 1: Identifying Manual Valve
    G04976682Courtesy of © TOYOTA, LICENSE AGREEMENT TMS1002
  2. INSTALL TRANSMISSION VALVE BODY ASSEMBLY 
    1. Coat the O-ring of the transmission wire with ATF.
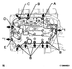
    2. Confirm that the manual valve lever is positioned as shown in the illustration and install the valve body assembly to the transaxle case with the 11 bolts.

      Torque: 11 N*m (112 kgf*cm, 8 ft.*lbf) 

      Bolt length: 

      Bolt A: 

      25 mm (0.98 in.) 

      Bolt B: 

      30 mm (1.18 in.) 

      Bolt C: 

      35 mm (1.38 in.) 

      Bolt D: 

      45 mm (1.77 in.) 

      Bolt E: 

      55 mm (2.17 in.) 

      Fig 2: Locating Transmission Valve Body Assembly Bolts
      G04976684Courtesy of © TOYOTA, LICENSE AGREEMENT TMS1002
      NOTE:
      • When installing the transmission valve body assembly, be careful not to allow the transmission revolution sensor and transaxle case to interfere with each other.
      • Be sure to insert the pin of the manual valve lever into the groove on the end of the manual valve.
      • First, temporarily tighten the bolts marked by (*1) in the illustration because they are positioning bolts.
  3. INSTALL VALVE BODY OIL STRAINER ASSEMBLY 
    1. Coat a new O-ring with ATF and install it to the oil strainer.
      NOTE: Ensure that the O-ring is not twisted or pinched.
      Fig 3: Identifying Oil Strainer O-Ring
      G04976680Courtesy of © TOYOTA, LICENSE AGREEMENT TMS1002
    2. Install the oil strainer to the valve body with the 2 bolts.

      Torque: 11 N*m (112 kgf*cm, 8 ft.*lbf) 

      Fig 4: Locating Oil Strainer Bolts
      G04976679Courtesy of © TOYOTA, LICENSE AGREEMENT TMS1002
  4. INSTALL AUTOMATIC TRANSAXLE OIL PAN SUB-ASSEMBLY 
    1. Install the 2 magnets to the oil pan.
    2. Install a new gasket to the oil pan.
    3. Apply adhesive to the 18 bolts.

      Adhesive: 

      Toyota Genuine Adhesive 1344, Three Bond 1344 or equivalent. 

      Fig 5: Identifying Magnets
      G04976677Courtesy of © TOYOTA, LICENSE AGREEMENT TMS1002
    4. Install the oil pan to the automatic transaxle with the 18 bolts.

      Torque: 7.5 N*m (76 kgf*cm, 66 in.*lbf) 

      NOTE:
      • In order to ensure proper sealing of the transmission oil pan bolts, apply sealant to the bolts and install them within 10 minutes of sealant application.
      • Completely remove any oil or grease from the contact surface of the transaxle case and oil pan sub-assembly with the gasket before installation.
        Fig 6: Locating Oil Pan Bolts
        G04976676Courtesy of © TOYOTA, LICENSE AGREEMENT TMS1002
  5. INSTALL AUTOMATIC TRANSAXLE ASSEMBLY 

    HINT:

    (See INSTALLATION  )