LEMON Manuals: Even more car manuals for everyone: 1960-2025
Home >> Lexus >> 2007 >> GS 350 AWD >> Repair and Diagnosis >> External Pages >> Different car >> Section 1 (Automatic Transaxle) >> Electronic Controlled Automatic Transmission System >> DTC P0705 Transmission Range Sensor Circuit Malfunction (PRNDL Input); DTC P0850 Park / Neutral Switch Input Circuit >> Inspection Procedure
April 5, 2026: LEMON Manuals is launched! Read the announcement.

Inspection Procedure

WARNING: This page is about a different car, the 2007 Lexus GS 430. However, it is still accessible from the selected car via links, so may be relevant.
  1. DATA LIST 

    HINT:

    According to the DATA LIST displayed by the intelligent tester, you can read the value of the switch, sensor, actuator and so on without parts removal. Reading the DATA LIST as the first step of troubleshooting is one method to shorten labor time.

    NOTE: In the table below, the values listed under "Normal Condition" are reference values. Do not depend solely on these reference values when deciding whether a part is faulty or not.
    1. Warm up the engine.
    2. Turn the engine switch off.
    3. Connect the intelligent tester together with the CAN VIM (controller area network vehicle interface module) to the DLC3.
    4. Turn the engine switch on (IG) position.
    5. Turn on the tester.
    6. Select the item "DIAGNOSIS / OBD/MOBD / ECT / DATA LIST".
    7. According to the display on the tester, read the "DATA LIST".
    DATA LIST

    Tester Display Measurement Item/Range Normal Condition Diagnostic Note
    REVERSE PNP switch status/ ON or OFF Shift lever is:
    • On R: ON
    • Not on R: OFF
    When shift lever position displayed on intelligent tester differs from actual position, adjustment of PNP switch or shift cable may be incorrect
    PARKING PNP switch status/ ON or OFF Shift lever is:
    • On P: ON
    • Not on P: OFF
    When shift lever position displayed on intelligent tester differs from actual position, adjustment of PNP switch or shift cable may be incorrect
    NEUTRAL PNP switch status/ ON or OFF Shift lever is:
    • On N: ON
    • Not on N: OFF
    When shift lever position displayed on intelligent tester differs from actual position, adjustment of PNP switch or shift cable may be incorrect
    DRIVE PNP switch status/ ON or OFF Shift lever is:
    • On D or S: ON
    • Not on D or S: OFF
    When shift lever position displayed on intelligent tester differs from actual position, adjustment of PNP switch or shift cable may be incorrect
    SPORTS UP SW Sport shift up switch status/ ON or OFF Continuously shift to"+" (upshift): ON
    • Release "+" (up-shift): OFF
     
    SPORTS DOWN SW Sport shift down switch status/ ON or OFF
    • Continuously shift to"-" (down-shift): ON
    • Release "-" (down-shift): OFF
     
    MODE SELECT SW Sport mode select switch status/ ON or OFF Shift lever position is:
    • S,"+" and "-": ON
    • Not on S,"+" and "-": OFF
     
    1. INSPECT PARK/NEUTRAL POSITION SWITCH ASSEMBLY 
      1. Disconnect the park/neutral position switch connector.
      2. Measure resistance according to the value (s) in the table below when the shift lever is moved to each position.

        Resistance 

        RESISTANCE SPECIFICATION

        Shift Position Tester Connection Specified Condition
        P 1 - 3 and 6 - 9 Below 1 Ω
        Except P 10 kΩ or higher
        R 2 - 3 Below 1 Ω
        Except R 10 kΩ or higher
        N 3 - 5 and 6 - 9 Below 1 Ω
        Except N 10 kΩ or higher
        D, S, "+" and "-" 3 - 7 Below 1 Ω
        Except D, S, "+" and "-" 10 kΩ or higher
      Fig 1: Identifying Park/Neutral Position Switch Connector Terminals
      G05295215Courtesy of © TOYOTA, LICENSE AGREEMENT TMS1002

      NG: REPLACE PARK/NEUTRAL POSITION SWITCH ASSEMBLY 

      OK: Go to next step 

    2. INSPECT TRANSMISSION CONTROL SWITCH 
      1. Connect the park/neutral position switch connector.
      2. Disconnect the transmission control switch connector of shift lock control unit assembly.
      3. Measure resistance according to the value (s) in the table below when the shift lever is moved to each position.

        Resistance 

        RESISTANCE SPECIFICATION

        Shift Position Tester Connection Specified Condition
        S, "+" and "-" 3 - 7 Below 1 Ω
        Except S, "+" and "-" 10 kΩ or higher
      Fig 2: Identifying Transmission Control Switch Connector Terminals
      G05294646Courtesy of © TOYOTA, LICENSE AGREEMENT TMS1002

      NG: REPLACE TRANSMISSION CONTROL SWITCH 

      OK: Go to next step 

    3. CHECK HARNESS AND CONNECTOR (PARK/NEUTRAL POSITION SWITCH - ECM) 
      1. Connect the Transmission control switch connector of shift lock control unit assembly.
      2. Turn the engine switch on (IG) position, and measure the voltage according to the value (s) in the table below when the shift lever is moved to each position.
      3. Disconnect the ECM connector.
      4. Turn the engine switch on (IG) position, and measure the voltage according to the value (s) in the table below when the shift lever is moved to each position.
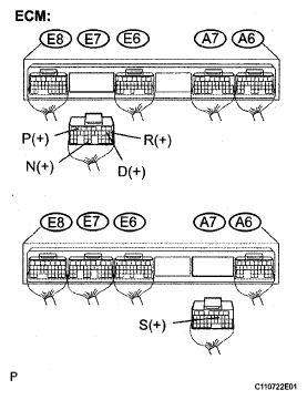
      Fig 3: Disconnecting ECM Connectors
      G05295217Courtesy of © TOYOTA, LICENSE AGREEMENT TMS1002

      Voltage 

      VOLTAGE SPECIFICATION

      Shift Position Tester Connection Specified Condition
      P E7 - 6 (P) - Body ground 10 to 14 V
      Except P Below 1 V
      N E7 - 32 (N) - Body ground 10 to 14 V
      Except N Below 1 V
      R E7 - 8 (R) - Body ground 10 to 14 V(1)
      Except R Below 1 V
      D and S E7 - 9 (D) - Body ground 10 to 14 V
      Except D and S Below 1 V
      S,"+" and "-" A7 - 9 (S) - Body ground 10 to 14 V
      Except S, "+" and "-" Below 1 V
      HINT:
      (1) The voltage will drop slightly due to the turning on of the back up light.

      NG: REPAIR OR REPLACE HARNESS OR CONNECTOR 

      OK: REPLACE ECM