LEMON Manuals: Even more car manuals for everyone: 1960-2025
Home >> Lexus >> 2007 >> GS 350 RWD >> Repair and Diagnosis >> Body & Frame >> Windows >> Windshield/WINDOWGLASS >> Power Window Control System >> Terminals Of Ecu
April 5, 2026: LEMON Manuals is launched! Read the announcement.

Terminals Of Ecu

Fig 1: Identifying Terminals Of ECU
G05300146Courtesy of © TOYOTA, LICENSE AGREEMENT TMS1002
  1. CHECK MULTIPLEX NETWORK MASTER SWITCH ASSEMBLY 
    1. Disconnect the Q13 switch connector.
    2. Measure the resistance and voltage of the wire harness side connector.
      TERMINAL DESCRIPTION SPECIFIED CONDITION CHART

      Symbols (Terminal No.) Wiring Color Terminal Description Condition Specified Condition
      E (Q13-2) - Body ground W-B - Body ground Ground Always Below 1 Ω
      BDR1 (Q13-10) - Body ground Y - Body ground Battery power supply Always 10 to 14 V
      CPUB (Q13-9) - Body ground G - Body ground Battery power supply Always 10 to 14 V
      SIG (Q13-20) - Body ground V - Body ground Ignition power supply Engine switch (IG) 10 to 14 V

      If the result is not as specified, there may be a malfunction on the wire harness side.

    3. Reconnect the Q13 switch connector.
    4. Reset the power window regulator motor (see INITIALIZATION ).
    5. Measure the voltage of the connector.
      TERMINAL DESCRIPTION SPECIFIED CONDITION CHART

      Symbols (Terminal No.) Wiring Color Terminal Description Condition Specified Condition
      DUP (Q13-1) - E (Q13-2) R - W-B Driver door power window motor UP output Engine switch on (IG), drive power window switch OFF Below 1 V
      DUP (Q13-1) - E (Q13-2) R - W-B Driver door power window motor UP output Engine switch on (IG), driver power window switch UP (manual operation) 10 to 14 V
      DUP (Q13-1) - E (Q13-2) R - W-B Driver door power window motor UP output Engine switch on (IG), driver power window fully open Below 1 V
      DUP (Q13-1) - E (Q13-2) R - W-B Driver door power window motor UP output Engine switch on (IG), driver power window switch UP (AUTO operation) 10 to 14 V
      DUP (Q13-1) - E (Q13-2) R - W-B Driver door power window motor UP output Engine switch on (IG), driver power window fully closed Below 1 V
      DDN (Q13-11) - E (Q13-2) G - W-B Driver door power window motor DOWN output Engine switch on (IG), driver power window switch DOWN (manual operation) 10 to 14 V
      DUP (Q13-1) - E (Q13-2) R - W-B Driver door power window motor DOWN output Engine switch on (IG), driver power window fully closed Below 1 V
      DUP (Q13-1) - E (Q13-2) R - W-B Driver door power window motor DOWN output Engine switch on (IG), driver power window switch DOWN (AUTO operation) 10 to 14 V
      DUP (Q13-1) - E (Q13-2) R - W-B Driver door power window motor DOWN output Engine switch on (IG), driver power window fully open Below 1 V
      PWS (Q13-6) - E (Q13-2) O - W-B Window lock switch output Engine switch on (IG), window lock switch OFF (UNLOCK) 10 to 14 V
      PWS (Q13-6) - E (Q13-2) O - W-B Window lock switch output Engine switch on (IG), window lock switch ON (LOCK) 10 to 14 V
      VCC (Q13-19) - SGND (Q13-12) W - SB
      • Driver door power window motor sensor power source
      • Driver door power window motor sensor ground
      Always 10 to 14 V

      If the result is not as specified, the switch may have a malfunction.

  2. CHECK MULTIPLEX NETWORK SWITCH ASSEMBLY (FRONT PASSENGER SIDE) 
    Fig 2: Identifying Multiplex Network Switch Assembly Connector (Front Passenger Side)
    G05300147Courtesy of © TOYOTA, LICENSE AGREEMENT TMS1002
    1. Disconnect the Q6 switch connector.
    2. Measure the voltage and resistance of the wire harness side connector.
      TERMINAL DESCRIPTION SPECIFIED CONDITION CHART

      Symbols (Terminal No.) Wiring Color Terminal Description Condition Specified Condition
      E (Q6-12) - Body ground W-B - Body ground Ground Always Below 1 Ω
      +B (Q6-7) - Body ground O - Body ground Battery power supply always 10 to 14 V
      MPX1 (Q6-4) - Body ground GR - Body ground Remote signal input Front passenger power window switch on multiplex network master switch operated 10 to 14 V

      If the result is not as specified, there may be a malfunction on the wire harness side.

    3. Reconnect the Q6 switch connector.
    4. Reset the power window regulator motor.
    5. Measure the resistance of the connector.
      TERMINAL DESCRIPTION SPECIFIED CONDITION CHART

      Symbols (Terminal No.) Wiring Color Terminal Description Condition Specified Condition
      U (Q6-6) - E (Q6-12) R - W-B Front passenger door power window motor UP output Engine switch on (IG), front passenger window switch OFF Below 1 V
      U (Q6-6) - E (Q6-12) R - W-B Front passenger door power window motor UP output Engine switch on (IG), front passenger power window switch UP (manual operation) 10 to 14 V
      U (Q6-6) - E (Q6-12) R - W-B Front passenger door power window motor UP output Engine switch on (IG), front passenger power window fully open Below 1 V
      U (Q6-6) - E (Q6-12) R - W-B Front passenger door power window motor UP output Engine switch on (IG), front passenger power window switch UP (AUTO operation) 10 to 14 V
      U (Q6-6) - E (Q6-12) R - W-B Front passenger door power window motor UP output Engine switch on (IG), passenger power window fully closed Below 1 V
      D (Q6-1) - E (Q6-12) G - W-B Front passenger door power window motor DOWN output Engine switch on (IG), passenger power window switch OFF Below 1 V
      D (Q6-1) - E (Q6-12) G - W-B Front passenger door power window motor DOWN output Engine switch on (IG), passenger power window switch DOWN (manual operation) 10 to 14 V
      D (Q6-1) - E (Q6-12) G - W-B Front passenger door power window motor DOWN output Engine switch on (IG), front passenger power window fully closed Below 1 V
      D (Q6-1) - E (Q6-12) G - W-B Front passenger door power window motor DOWN output Engine switch on (IG), front passenger power window switch DOWN (AUTO operation) 10 to 14 V
      D (Q6-1) - E (Q6-12) G - W-B Front passenger door power window motor DOWN output Engine switch on (IG), front passenger power window fully open Below 1 V
      *PCT (Q6-9) - E (Q6-12) SB - W-B Window lock switch input Engine switch on (IG), window lock switch OFF (UNLOCK) 10 to 14 V
      *PCT (Q6-9) - E (Q6-12) SB - W-B Window lock switch input Engine switch on (IG), window lock switch ON (LOCK) Below 1 V
      VCC (Q6-8) - SGND (Q6-5) W - LG
      • Driver door power window motor sensor power source
      • Driver door power window motor sensor ground
      Always 10 to 14 V

      If the result is not as specified, the switch may have a malfunction.

      HINT:

      *: An operation permission signal is output from terminal PCT of the master switch to each switch. If the voltage is not as specified, there may be another malfunction in the vehicle. An operation permission signal is also output through the multiplex communication line to each switch. If the signal from terminal PCT is not input to the switch but the signal from the multiplex communication line is input, the window can operate.

  3. CHECK MULTIPLEX NETWORK SWITCH ASSEMBLY (REAR LH) 
    Fig 3: Identifying Multiplex Network Switch Assembly Connector (Rear LH)
    G05300148Courtesy of © TOYOTA, LICENSE AGREEMENT TMS1002
    1. Disconnect the S5 switch connector.
    2. Measure the voltage and resistance of the wire harness side connector.
      TERMINAL DESCRIPTION SPECIFIED CONDITION CHART

      Symbols (Terminal No.) Wiring Color Terminal Description Condition Specified Condition
      E (S5-12) - Body ground W-B - Body ground Ground Always Below 1 Ω
      +B (S5-7) - Body ground SB - Body ground Battery power supply Always 10 to 14 V
      *SEL2 (S5-11) - Body ground W-B - Body ground Terminal for identification of rear LH switch Always Below 1 Ω
      MPX1 (S5-4) - Body ground Y - Body ground Remote signal input Rear LH power window switch on master switch operated 10 to 14 V

      If the result is not as specified, there may be a malfunction on the wire harness side.

      HINT:

      *: Terminals SEL1 and SEL2 are used to verify which power window control system (passenger side power window, rear RH power window or rear LH power window) is activated when the master switch's remote operation is performed. The passenger side power window switch's SEL1 and SEL2 terminals are not connected to the body ground. Only the rear RH power window switch's SEL1 terminal is connected to the body ground. Also, only the rear LH power window switch's SEL2 terminal is connected to the body ground.

    3. Reconnect the S5 switch connector.
    4. Reset the power window regulator motor.
    5. Measure the voltage of the connector.
      TERMINAL DESCRIPTION SPECIFIED CONDITION CHART

      Symbols (Terminal No.) Wiring Color Terminal Description Condition Specified Condition
      U (S5-6) - E (S5-12) R - W-B Rear door LH power window motor UP output Engine switch ON (IG), rear door LH power window switch OFF Below 1 V
      U (S5-6) - E (S5-12) R - W-B Rear door LH power window motor UP output Engine switch ON (IG), rear door LH power window switch UP (manual operation) 10 to 14 V
      U (S5-6) - E (S5-12) R - W-B Rear door LH power window motor UP output Engine switch ON (IG), rear door LH power window fully open Below 1 V
      U (S5-6) - E (S5-12) R - W-B Rear door LH power window motor UP output Engine switch ON (IG), rear door LH power window switch UP (AUTO operation) 10 to 14 V
      U (S5-6) - E (S5-12) R - W-B Rear door LH power window motor UP output Engine switch ON (IG), rear door LH power window fully closed Below 1 V
      U (S5-6) - E (S5-12) R - W-B Rear door LH power window motor UP output Engine switch ON (IG), rear door LH power window switch OFF Below 1 V
      D (S5-1) - E (S5-12) G - W-B Rear door LH power window motor DOWN output Engine switch ON (IG), rear door LH power window switch DOWN (manual operation) 10 to 14 V
      D (S5-1) - E (S5-12) G - W-B Rear door LH power window motor DOWN output Engine switch ON (IG), rear door LH power window fully closed Below 1 V
      D (S5-1) - E (S5-12) G - W-B Rear door LH power window motor DOWN output Engine switch ON (IG), rear door LH power window DOWN (AUTO operation) 10 to 14 V
      D (S5-1) - E (S5-12) G - W-B Rear door LH power window motor DOWN output Engine switch ON (IG), rear door LH power window fully open Below 1 V
      *PCT (S5-9) - E (S5-12) SB - W-B Window lock switch input Engine switch ON (IG), window lock switch OFF (UNLOCK) 10 to 14 V
      *PCT (S5-9) - E (S5-12) SB - W-B Window lock switch input Engine switch ON (IG), window lock switch ON (LOCK) Below 1 V
      VCC ( (S5-8) - SGND (S5-5) W - P
      • Rear door LH power window motor sensor power source
      • Rear door LH power window motor sensor ground
      Always 10 to 14 V

      If the result is not as specified, the switch may have a malfunction.

      HINT:

      *: An operation permission signal is output from terminal PCT of the master switch to each switch. If the voltage is not as specified, there may be another malfunction in the vehicle. An operation permission signal is also output through the multiplex communication line to each switch. If the signal from terminal PCT is not input to the switch but the signal from the multiplex communication line is input, the window can operate.

  4. MULTIPLEX NETWORK SWITCH ASSEMBLY (REAR RH) 
    Fig 4: Identifying Multiplex Network Switch Assembly Connector (Rear RH)
    G05300149Courtesy of © TOYOTA, LICENSE AGREEMENT TMS1002
    1. Disconnect the S1 switch connector.
    2. Measure the voltage and resistance of the wire harness side connector.
      TERMINAL DESCRIPTION SPECIFIED CONDITION CHART

      Symbols (Terminal No.) Wiring Color Terminal Description Condition Specified Condition
      E (S1-12) - Body ground W-B - Body ground Ground Always Below 1 Ω
      +B (S1-7) - Body ground O - Body ground Battery power supply Always 10 to 14 V
      SEL1 (S1-10) - Body ground W-B - Body ground Terminal for identification of rear RH switch Always Below 1 Ω
      MPX1 (S1-4) - Body ground GR - Body ground Remote signal input Rear RH power window switch on master switch operated 10 to 14 V

      If the result is not as specified, there may be a malfunction on the wire harness side.

      HINT:

      *: Terminals SEL1 and SEL2 are used to verify which power window control system (passenger side power window, rear RH power window or rear LH power window) is activated when the master switch's remote operation is performed. The passenger side power window switch's SEL1 and SEL2 terminals are not connected to the body ground. Only the rear RH power window switch's SEL1 terminal is connected to the body ground. Also, only the rear LH power window switch's SEL2 terminal is connected to the body ground.

    3. Reconnect the S1 switch connector.
    4. Reset the power window regulator motor.
    5. Measure the voltage of the connector.
      TERMINAL DESCRIPTION SPECIFIED CONDITION CHART

      Symbols (Terminal No.) Wiring Color Terminal Description Condition Specified Condition
      U (S1-6) - E (S1-12) R - W-B Rear door RH power window motor UP output Engine switch on (IG), rear door RH power window switch OFF Below 1 V
      U (S1-6) - E (S1-12) R - W-B Rear door RH power window motor UP output Engine switch on (IG), rear door RH power window switch UP (manual operation) 10 to 14 V
      U (S1-6) - E (S1-12) R - W-B Rear door RH power window motor UP output Engine switch on (IG), rear door RH power window fully open Below 1 V
      U (S1-6) - E (S1-12) R - W-B Rear door RH power window motor UP output Engine switch on (IG), rear door RH power window switch UP (AUTO operation) 10 to 14 V
      U (S1-6) - E (S1-12) R - W-B Rear door RH power window motor UP output Engine switch on (IG), rear door RH power window fully closed Below 1 V
      U (S1-6) - E (S1-12) R - W-B Rear door RH power window motor UP output Engine switch on (IG), rear door RH power window switch OFF Below 1 V
      D (S1-1) - E (S1-12) G - W-B Rear door RH power window motor DOWN output Engine switch on (IG), rear door RH power window switch DOWN (manual operation) 10 to 14 V
      D (S1-1) - E (S1-12) G - W-B Rear door RH power window motor DOWN output Engine switch on (IG), rear door RH power window fully closed Below 1 V
      D (S1-1) - E (S1-12) G - W-B Rear door RH power window motor DOWN output Engine switch on (IG), rear door RH power window DOWN (AUTO operation) 10 to 14 V
      D (S1-1) - E (S1-12) G - W-B Rear door RH power window motor DOWN output Engine switch on (IG), rear door RH power window fully open Below 1 V
      *PCT (S1-9) - E (S1-12) SB - W-B Window lock switch input Engine switch on (IG), window lock switch OFF (UNLOCK) 10 to 14 V
      *PCT (S1-9) - E (S1-12) SB - W-B Window lock switch input Engine switch on (IG), window lock switch ON (LOCK) Below 1 V
      VCC (S1-8) -SGND (S1-5) W - LG
      • Rear door RH power window motor sensor power source
      • Rear door RH power window motor sensor ground
      Always 10 to 14 V

      If the result is not as specified, the switch may have a malfunction.

      HINT:

      *: An operation permission signal is output from terminal PCT of the master switch to each switch. If the voltage is not as specified, there may be another malfunction in the vehicle. An operation permission signal is also output through the multiplex communication line to each switch. If the signal from terminal PCT is not input to the switch but the signal from the multiplex communication line is input, the window can operate.

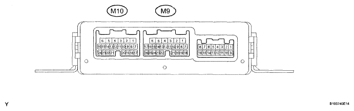
  5. CHECK FRONT MULTIPLEX NETWORK DOOR ECU LH (DRIVER DOOR ECU) 
    Fig 5: Identifying Front Multiplex Network Door ECU LH (Driver Door ECU) Connector
    G05300150Courtesy of © TOYOTA, LICENSE AGREEMENT TMS1002
    1. Disconnect the M9 and M10 ECU connectors.
    2. Measure the voltage of the wire harness side connectors.
      TERMINAL DESCRIPTION SPECIFIED CONDITION CHART

      Symbols (Terminal No.) Wiring Color Terminal Description Condition Specified Condition
      GND (M9-1) - Body ground W-B - Body ground Ground Always Below 1 Ω
      CPUB (M9-4) - Body ground LG - Body ground Battery (power supply) Always 10 to 14 V
      BDR (M9-6) - Body ground L - Body ground Battery (power supply) Always 10 to 14 V
      SIG (M9-3) - Body ground Y - Body ground Ignition power supply Engine switch off Below 1 V
      SIG (M9-3) - Body ground Y - Body ground Ignition power supply Engine switch on (IG) 10 to 14 V
      *SEL1 (M10-11) - SELE (M10-12) P - P Terminal for identification of front LH Always Below 1 Ω

      If the result is not as specified, there may be a malfunction on the wire harness side.

      HINT:

      *: Terminal SEL1 and SELE are used for distinction between the front multiplex network door ECU LH and RH. Terminal SEL1 and SELE of the front multiplex network door ECU LH are connected.

    3. Reconnect the M9 and M10 ECU connectors.
    4. Reset the power window regulator motor.
    5. Measure the voltage of the connector.
      TERMINAL DESCRIPTION SPECIFIED CONDITION CHART

      Symbols (Terminal No.) Wiring Color Terminal Description Condition Specified Condition
      BDRJ (M9-5) - GND (M9-1) Y - W-B +B power output Always 10 to 14 V
      SIGJ (M9-10) - GND (M9-1) V - W-B Ignition signal output Engine switch off Below 1 V
      SIGJ (M9-10) - GND (M9-1) V - W-B Ignition signal output Engine switch on (IG) 10 to 14 V
      PWE (M9-2) - Body ground W-B - Body ground Ground Always Below 1 V

      If the result is not as specified, the ECU may have a malfunction.

  6. CHECK FRONT MULTIPLEX NETWORK DOOR ECU RH (FRONT PASSENGER SIDE DOOR ECU) 
    Fig 6: Identifying Front Multiplex Network Door ECU RH (Front Passenger Side Door ECU) Connector
    G05300151Courtesy of © TOYOTA, LICENSE AGREEMENT TMS1002
    1. Disconnect the M4 ECU connector.
    2. Measure the voltage of the wire harness side connector.
      TERMINAL DESCRIPTION SPECIFIED CONDITION CHART

      Symbols (Terminal No.) Wiring Color Terminal Description Condition Specified Condition
      GND (M4-1) - Body ground W-B - Body ground Ground Always Below 1 Ω
      CPUB (M4-4) - Body ground LG - Body ground Battery (power supply) Always 10 to 14 V
      BDR (M4-6) - Body ground L - Body ground Battery (power supply) Always 10 to 14 V
      SIG (M4-3) - Body ground L - Body ground Ignition power supply Engine switch off Below 1 V
      SIG (M4-3) - Body ground L - Body ground Ignition power supply Engine switch on (IG) 10 to 14 V

      If the result is not as specified, there may be a malfunction on the wire harness side.

    3. Reconnect the M4 ECU connector.
    4. Reset the power window regulator motor.
    5. Measure the voltage of the connector.
      TERMINAL DESCRIPTION SPECIFIED CONDITION CHART

      Symbols (Terminal No.) Wiring Color Terminal Description Condition Specified Condition
      BDRJ (M4-5) - GND (M4-1) O - W-B +B output Always 10 to 14 V
      PWE (M4-2) - Body ground W-B - Body ground Ground Always Below 1 V
      MPX3 (M4-7) - Body ground GR - Body ground Remote signal output Passenger side window switch on multiplex network master switch operated 5 to 14 V
      MPX3 (M4-7) - Body ground GR - Body ground Remote signal output Passenger side window switch on multiplex network master switch not operated Below 1 V

      If the result is not as specified, the ECU may have a malfunction.

  7. CHECK REAR MULTIPLEX NETWORK DOOR ECU LH (REAR DOOR ECU LH) 
    Fig 7: Identifying Rear Multiplex Network Door ECU LH (Rear Door ECU LH) Connector
    G05300152Courtesy of © TOYOTA, LICENSE AGREEMENT TMS1002
    1. Disconnect the O7 ECU connector.
    2. Measure the voltage and resistance of the wire harness side connector.
      TERMINAL DESCRIPTION SPECIFIED CONDITION CHART

      Symbols (Terminal No.) Wiring Color Terminal Description Condition Specified Condition
      GND (O7-1) - Body ground W-B - Body ground Ground Always Below 1 Ω
      CPUB (O7-4) - Body ground BR - Body ground Battery (power supply) Always 10 to 14 V
      BDR (O7-6) - Body ground L - Body ground Battery (power supply) Always 10 to 14 V
      SIG (O7-3) - Body ground G - Body ground Ignition power supply Engine switch off Below 1 V
      SIG (O7-3) - Body ground G - Body ground Ignition power supply Engine switch on (IG) 10 to 14 V

      If the result is not as specified, there may be a malfunction on the wire harness side.

    3. Reconnect the O7 ECU connector.
    4. Reset the power window regulator motor.
    5. Measure the voltage of the connector.
      TERMINAL DESCRIPTION SPECIFIED CONDITION CHART

      Symbols (Terminal No.) Wiring Color Terminal Description Condition Specified Condition
      BDRJ (O7-5) - GND (O7-1) SB - W-B +B output Always 10 to 14 V
      PWE (O7-2) - Body ground W-B - Body ground Ground Always Below 1V
      PWSL (O7-20) - Body ground W-B - Body ground Remote signal output Rear LH window switch on multiplex network master switch operated Below 1 V
      MPX3 (O7-7) - Body ground GR - Body ground Remote signal output Rear LH window switch on multiplex network master switch operated 5 to 14 V
      MPX3 (O7-7) - Body ground GR - Body ground Remote signal output Rear LH window switch on multiplex network master switch not operated Below 1 V

      If the result is not as specified, the ECU may have a malfunction.

  8. CHECK REAR MULTIPLEX NETWORK DOOR ECU RH (REAR DOOR ECU RH) 
    Fig 8: Identifying Rear Multiplex Network Door ECU RH (Rear Door ECU RH) Connector
    G05300153Courtesy of © TOYOTA, LICENSE AGREEMENT TMS1002
    1. Disconnect the O3 ECU connector.
    2. Measure the voltage of the wire harness side connector.
      TERMINAL DESCRIPTION SPECIFIED CONDITION CHART

      Symbols (Terminal No.) Wiring Color Terminal Description Condition Specified Condition
      GND (O3-1) - Body ground W-B - Body ground Ground Always Below 1 Ω
      CPUB (O3-4) - Body ground G - Body ground Battery (power supply) Always 10 to 14 V
      BDR (O3-6) - Body ground L - Body ground Battery (power supply) Always 10 to 14 V
      SIG (O3-3) - Body ground L - Body ground Ignition power supply Engine switch off Below 1 V
      SIG (O3-3) - Body ground L - Body ground Ignition power supply Engine switch on (IG) 10 to 14 V
      *SEL1 (O3-18) - SELE (O3-19) W - W Terminal for identification of rear RH Always Below 1 Ω

      If the result is not as specified, there may be a malfunction on the wire harness side.

      HINT:

      *: Terminal SEL1 and SELE are used for distinction between the rear multiplex network door ECU RH and LH. Only terminal SEL1 and SELE of the rear multiplex network door ECU RH are connected.

    3. Reconnect the O3 ECU connector.
    4. Reset the power window regulator motor.
    5. Measure the voltage of the connector.
      TERMINAL DESCRIPTION SPECIFIED CONDITION CHART

      Symbols (Terminal No.) Wiring Color Terminal Description Condition Specified Condition
      BDRJ (O3-5) - GND (O3-1) O - W-B +B output Always 10 to 14 V
      PWE (O3-2) - Body ground W-B - Body ground Ground Always Below 1 V
      PWSL (O3-20) - Body ground W-B - Body ground Remote signal output Rear RH window switch on multiplex network master switch operated Below 1 V
      MPX3 (O3-7) - Body ground GR - Body ground Remote signal output Rear RH window switch on multiplex network master switch operated 5 to 14 V
      MPX3 (O3-7) - Body ground GR - Body ground Remote signal output Rear RH window switch on multiplex network master switch not operated Below 1 V

      If the result is not as specified, the ECU may have a malfunction.

  9. CHECK COWL SIDE JUNCTION BLOCK RH (COWL SIDE JUNCTION BLOCK ECU RH) 
    Fig 9: Identifying Cowl Side Junction Block RH (Cowl Side Junction Block ECU RH)
    G05300154Courtesy of © TOYOTA, LICENSE AGREEMENT TMS1002
    1. Disconnect the DD and DK J/B connectors.
    2. Disconnect the U1 ECU connector.
    3. Measure the voltage and resistance of the wire harness side connectors.
      TERMINAL DESCRIPTION SPECIFIED CONDITION CHART

      Symbols (Terminal No.) Wiring Color Terminal Description Condition Specified Condition
      BECU (DK-5) - GND2 (DD-7) G-R - W-B Battery (power supply) Always 10 to 14 V
      IG (DD-14) - GND2 (DD-7) B - W-B Power supply Engine switch on (IG) 10 to 14 V
      IG (DD-14) - GND2 (DD-7) B - W-B Power supply Engine switch off Below 1 V
      DTC Y (U1-14) - Body ground R - Body ground Driver side door courtesy light switch input Driver side door closed 10 kΩ or higher
      DTC Y (U1-14) - Body ground R - Body ground Driver side door courtesy light switch input Driver side door open Below 1 Ω
      GND (DD-7) - Body ground W-B - Body ground Ground Always Below 1 Ω

      If the result is not as specified, there may be a malfunction on the wire harness side.