LEMON Manuals: Even more car manuals for everyone: 1960-2025
Home >> Lexus >> 2007 >> GS 430 V8-4.3L (3UZ-FE) >> Repair and Diagnosis >> Powertrain Management >> Computers and Control Systems >> Information Bus >> Diagrams >> Connector Views >> CAN Communication System
April 5, 2026: LEMON Manuals is launched! Read the announcement.

CAN Communication System

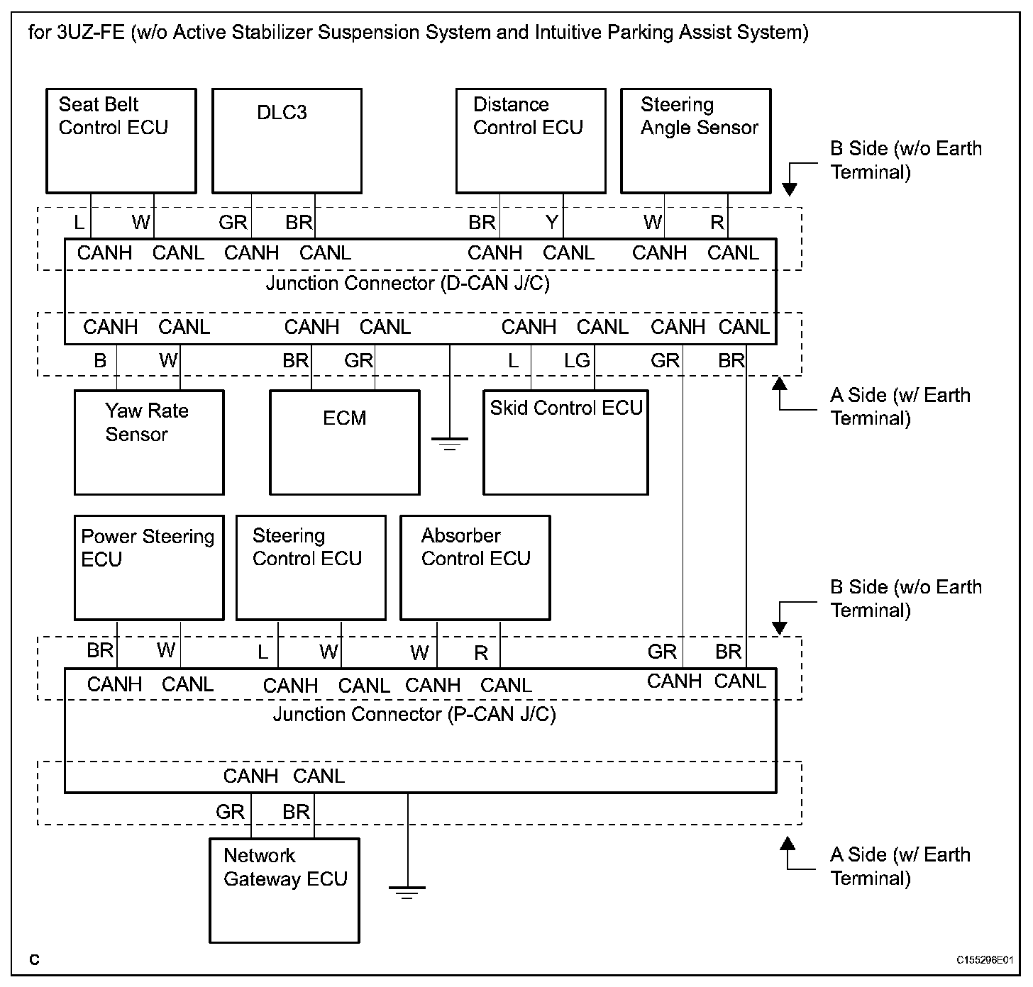
Terminals Of Control Module/Pinouts - Junction Connector (Part 1):



Terminals Of Control Module/Pinouts - Junction Connector (Part 2):



Terminals Of Control Module/Pinouts - Junction Connector (Part 3):



Terminals Of Control Module/Pinouts - Junction Connector (Part 4):



Terminals Of Control Module/Pinouts - Junction Connector (Part 5):



Terminals Of Control Module/Pinouts - Junction Connector (Part 6):



Terminals Of Control Module/Pinouts - Junction Connector (Part 7):



Terminals Of Control Module/Pinouts - DLC3:



Terminals Of Control Module/Pinouts - Skid Control ECU:



Terminals Of Control Module/Pinouts - Skid Control ECU With Actuator:



Terminals Of Control Module/Pinouts - Steering Angle Sensor:



Terminals Of Control Module/Pinouts - Yaw Rate Sensor:



Terminals Of Control Module/Pinouts - Distance Control ECU:



Terminals Of Control Module/Pinouts - ECM:



Terminals Of Control Module/Pinouts - Seat Belt Control ECU:



Terminals Of Control Module/Pinouts - Power Steering ECU:



Terminals Of Control Module/Pinouts - Steering Control ECU:



Terminals Of Control Module/Pinouts - Clearance Warning ECU:



Terminals Of Control Module/Pinouts - Network Gateway ECU:



Terminals Of Control Module/Pinouts - Absorber Control ECU:



Terminals Of Control Module/Pinouts - 4WD ECU:



Terminals Of Control Module/Pinouts - Gateway Can ECU:



Terminals Of Control Module/Pinouts - Front Active Stabilizer Control ECU:



Terminals Of Control Module/Pinouts - Rear Active Stabilizer Control ECU: