LEMON Manuals: Even more car manuals for everyone: 1960-2025
Home >> Lexus >> 2007 >> GS 430 >> Repair and Diagnosis >> Accessories & Equipment >> Cruise Control Systems >> Cruise Control >> Dynamic Radar Cruise Control System >> Distance Control Switch Circuit >> Inspection Procedure
April 5, 2026: LEMON Manuals is launched! Read the announcement.

Inspection Procedure

NOTE: When the distance control ECU is replaced with a new one, initialization must be performed (see INSTALLATION ).
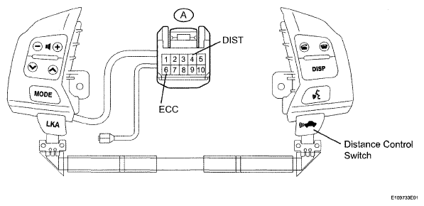
  1. INSPECT STEERING PAD SWITCH CABLE 
    Fig 1: Inspecting Steering Pad Switch Cable
    G05298725Courtesy of © TOYOTA, LICENSE AGREEMENT TMS1002
    1. Remove the steering pad switch cable.
    2. Measure the resistance according to the value(s) in the table below.

      Standard resistance 

      TESTER CONNECTION SPECIFIED CONDITION CHART

      Tester Connection Specified Condition
      1 (DIST) - 1 (DIST) Below 1 Ω
      7 (ECC) - 7 (ECC) Below 1 Ω

    NG: REPLACE STEERING PAD SWITCH CABLE 

    OK: Go to next step 

  2. INSPECT STEERING PAD SWITCH RH 
    Fig 2: Inspecting Steering Pad Switch RH
    G05298726Courtesy of © TOYOTA, LICENSE AGREEMENT TMS1002
    1. Connect the steering pad switch cable to the steering pad switch RH.
    2. Measure the resistance according to the value(s) in the table below.

      Standard resistance 

      TESTER CONNECTION SPECIFIED CONDITION CHART

      Tester Connection Condition Specified Condition
      1 (DIST) - 7 (ECC) Distance control switch ON Below 2.5 Ω
      1 (DIST) - 7 (ECC) Distance control switch OFF 10 kΩ or higher

    NG: REPAIR OR REPLACE STEERING PAD SWITCH RH 

    OK: Go to next step 

  3. INSPECT STEERING PAD SWITCH LH 
    Fig 3: Inspecting Steering Pad Switch LH
    G05298727Courtesy of © TOYOTA, LICENSE AGREEMENT TMS1002
    1. Connect the steering pad switch RH and the steering pad switch cable to the steering pad switch LH.
    2. Measure the resistance according to the value(s) in the table below.

      Measure the resistance according to the value(s) in the table below.

      Standard resistance 

      TESTER CONNECTION SPECIFIED CONDITION CHART

      Tester Connection Condition Specified Condition
      A-4 (DIST) - A-6 (ECC) Distance control switch ON Below 2.5 Ω
      A-4 (DIST) - A-6 (ECC) Distance control switch OFF 10 kΩ or higher

    NG: REPAIR OR REPLACE STEERING PAD SWITCH LH 

    OK: Go to next step 

  4. INSPECT SPIRAL CABLE 
    1. Disconnect the spiral cable connector.
    2. Measure the resistance according to the value(s) in the table below.

      Standard resistance 

      TESTER CONNECTION SPECIFIED CONDITION CHART

      Tester Connection Specified Condition
      A-4 - K20-11 Below 1 Ω
      A-6 - K20-2 Below 1 Ω
    Fig 4: Inspecting Spiral Cable
    G05298728Courtesy of © TOYOTA, LICENSE AGREEMENT TMS1002

    NG: REPLACE SPIRAL CABLE 

    OK: Go to next step 

  5. CHECK WIRE HARNESS (DISTANCE CONTROL ECU - SPIRAL CABLE) 
    1. Disconnect the distance control ECU connector.
    2. Measure the resistance according to the value(s) in the table below.

      Standard resistance 

      TESTER CONNECTION SPECIFIED CONDITION CHART

      Tester Connection Specified Condition
      K20-11 (DIST) - K13-16 (MODE) Below 1 Ω
      K13-16 (MODE) - Body ground 10 kΩ or higher
    Fig 5: Checking Wire Harness (Distance Control ECU - Spiral Cable)
    G05298729Courtesy of © TOYOTA, LICENSE AGREEMENT TMS1002

    NG: REPAIR OR REPLACE WIRE HARNESS AND CONNECTOR 

    OK: Go to next step 

  6. CHECK WIRE HARNESS (SPIRAL CABLE - BODY GROUND) 
    1. Measure the resistance according to the value(s) in the table below.

      Standard resistance 

      TESTER CONNECTION SPECIFIED CONDITION CHART

      Tester Connection Specified Condition
      K20-2 (ECC) - Body ground Below 1 Ω
    Fig 6: Identifying K20 Connector Terminals
    G05298717Courtesy of © TOYOTA, LICENSE AGREEMENT TMS1002

    NG: REPAIR OR REPLACE WIRE HARNESS AND CONNECTOR 

    OK: Go to next step 

  7. INSPECT DISTANCE CONTROL ECU 
    1. Remove the distance control ECU (cruise control ECU) with the connector.
    2. Turn the engine switch on (IG).
    3. Measure the voltage according to the value(s) in the table below.

      Standard voltage 

      TESTER CONNECTION SPECIFIED CONDITION CHART

      Tester Connection Condition Specified Condition
      K13-16 (MODE) - K13-12 (GND) Distance control switch ON 0 to 2 V
      K13-16 (MODE) - K13-12 (GND) Distance control switch OFF 9 to 16 V
    Fig 7: Inspecting Distance Control ECU
    G05298731Courtesy of © TOYOTA, LICENSE AGREEMENT TMS1002

    NG: REPLACE DISTANCE CONTROL ECU 

    OK: PROCEED TO NEXT CIRCUIT INSPECTION SHOWN IN PROBLEM SYMPTOMS TABLE