LEMON Manuals: Even more car manuals for everyone: 1960-2025
Home >> Lexus >> 2007 >> GS 430 >> Repair and Diagnosis >> Engine Performance >> Engine Control System (3UZ-FE) >> SFI System >> ECM Power Source Circuit >> Inspection Procedure
April 5, 2026: LEMON Manuals is launched! Read the announcement.

Inspection Procedure

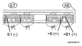
  1. CHECK ECM (+B, +B1 VOLTAGE) 
    1. Turn the engine switch on (IG).
    2. Measure the voltage of the ECM connectors.

      Standard voltage 

      TESTER CONNECTION SPECIFIED CONDITION

      Tester Connection Specified Condition
      A6-6 (+B) - E7-7 (E1) 9 to 14 V
      A6-5 (+B1) - E7-7 (E1) 9 to 14 V
    Fig 1: Checking ECM (+B, +B1 Voltage)
    G05285711Courtesy of © TOYOTA, LICENSE AGREEMENT TMS1002

    OK: PROCEED TO NEXT CIRCUIT INSPECTION SHOWN IN PROBLEM SYMPTOMS TABLE 

    NG: Go to next step 

  2. CHECK WIRE HARNESS (ECM - BODY GROUND) 
    1. Disconnect the E7 ECM connector.
    2. Measure the resistance of the wire harness side connector.

      Standard resistance 

      TESTER CONNECTION SPECIFIED CONDITION

      Tester Connection Specified Condition
      E7-7 (E1) - Body ground Below 1 Ω
    Fig 2: Disconnecting E7 ECM Connector
    G05285712Courtesy of © TOYOTA, LICENSE AGREEMENT TMS1002

    NG: REPAIR OR REPLACE HARNESS AND CONNECTOR 

    OK: Go to next step 

  3. CHECK ECM (IGSW VOLTAGE) 
    1. Turn the engine switch on (IG).
    2. Measure the voltage of the ECM connectors.

      Standard voltage 

      TESTER CONNECTION SPECIFIED CONDITION

      Tester Connection Specified Condition
      A6-17 (IGSW) - E7-7 (E1) 9 to 14 V
    Fig 3: Checking ECM (IGSW Voltage)
    G05285713Courtesy of © TOYOTA, LICENSE AGREEMENT TMS1002

    OK:  Go to step  6

    NG: Go to next step 

  4. INSPECT FUSE (IGN) 
    1. Remove the IGN fuse from the body ECU.
    2. Measure the resistance of the IGN fuse.

      Standard resistance: 

      Below 1 Ω 

    Fig 4: Identifying IGN Fuse
    G05285714Courtesy of © TOYOTA, LICENSE AGREEMENT TMS1002

    NG: CHECK FOR SHORT IN ALL HARNESSES AND COMPONENTS CONNECTED TO FUSE, AND REPLACE FUSE 

    OK: Go to next step 

  5. INSPECT RELAY (Marking IG2) 
    1. Remove the IG2 relay from engine room No. 2 relay block.
    2. Measure the resistance of the IG2 relay.

      Standard resistance 

      TESTER CONNECTION SPECIFIED CONDITION

      Tester Connection Specified Condition
      3 - 5 10 kΩ or higher
      3 - 5 Below 1 Ω (when battery voltage is applied to terminals 1 and 2)
    Fig 5: Identifying IG2 Relay
    G05285715Courtesy of © TOYOTA, LICENSE AGREEMENT TMS1002

    NG: REPLACE RELAY 

    OK: PUSH BUTTON START SYSTEM 

  6. CHECK ECM (MREL VOLTAGE) 
    1. Turn the engine switch on (IG).
    2. Measure the voltage of the ECM connectors.

      Standard voltage 

      TESTER CONNECTION SPECIFIED CONDITION

      Tester Connection Specified Condition
      A6-13 (MREL) - E7-7 (E1) 9 to 14 V
    Fig 6: Checking ECM (MREL Voltage)
    G05285716Courtesy of © TOYOTA, LICENSE AGREEMENT TMS1002

    NG: REPLACE ECM 

    OK: Go to next step 

  7. INSPECT FUSE (EFI) 
    1. Remove the EFI fuse from the engine room No. 2 relay block.
    2. Measure the resistance of the EFI fuse.

      Standard resistance: 

      Below 1 Ω 

    Fig 7: Identifying EFI Fuse
    G05285717Courtesy of © TOYOTA, LICENSE AGREEMENT TMS1002

    NG: CHECK FOR SHORT IN ALL HARNESS AND COMPONENTS CONNECTED FUSE, AND REPLACE FUSE 

    OK: Go to next step 

  8. INSPECT INTEGRATION RELAY (Marking EFI MAIN) 
    1. Remove the integration relay from the engine room No. 2 junction block.
    2. Measure the resistance of the EFI MAIN relay.

      Standard resistance 

      TERMINAL CONNECTIONS SPECIFIED CONDITION CHART

      Terminal Connections Specified Condition
      2A-8 - 2C-1 10 kΩ or higher
      2A-8 - 2C-1 Below 1 Ω (when battery voltage is applied to terminals 2A-6 and 2A-7)
    Fig 8: Identifying Integration Relay
    G05285472Courtesy of © TOYOTA, LICENSE AGREEMENT TMS1002

    NG: REPLACE INTEGRATION RELAY 

    OK: Go to next step 

  9. CHECK WIRE HARNESS (INTEGRATION RELAY - ECM, INTEGRATION RELAY - BODY GROUND) 
    1. Check the wire harness between the integration relay and the ECM.
      1. Remove the integration relay from the engine room No. 2 junction block.
      2. Disconnect the A6 ECM connector.
      3. Measure the resistance of the wire harness side connectors.

        Standard resistance 

        TESTER CONNECTION SPECIFIED CONDITION

        Tester Connection Specified Condition
        2A-6 - A6-13 (MREL) Below 1 Ω
        2A-6 or A6-13 (MREL) - Body ground 10 kΩ or higher
    2. Check the wire harness between the integration relay and body ground.
      1. Remove the integration relay from the engine room No. 2 junction block.
      2. Measure the resistance of the wire harness side connectors.

        Standard resistance 

        TESTER CONNECTION SPECIFIED CONDITION

        Tester Connection Specified Condition
        2A-7 - Body ground Below 1 Ω
    Fig 9: Checking Wire Harness (Integration Relay - ECM, Integration Relay - Body Ground)
    G05285719Courtesy of © TOYOTA, LICENSE AGREEMENT TMS1002

    NG: REPAIR OR REPLACE HARNESS AND CONNECTOR 

    OK: REPAIR OR REPLACE HARNESS AND CONNECTOR (TERMINAL +B OF ECM - POSITIVE BATTERY (+) TERMINAL)