LEMON Manuals: Even more car manuals for everyone: 1960-2025
Home >> Lexus >> 2007 >> GS 430 >> Repair and Diagnosis >> Suspension >> Suspension Control Systems >> Suspension Control >> Adaptive Variable Suspension System >> Operation Check
April 5, 2026: LEMON Manuals is launched! Read the announcement.

Operation Check

  1. CHECK ABSORBER CONTROL ACTUATOR OPERATION 
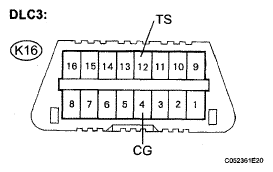
    1. Using the SST, connect the terminals TS and CG of the DLC3.

      SST 09843-18040 

    2. Start the engine.
      Fig 1: Identifying Terminals TS And CG Of DLC3
      G05296372Courtesy of © TOYOTA, LICENSE AGREEMENT TMS1002
    3. Check that the absorber control indicator light is blinking in Test Mode

      HINT:

      If the absorber control indicator light does not blink, inspect the absorber control indicator light circuit and TS and CG terminal circuit.

      REFERENCE CHART

      Trouble area See procedure
      Absorber control indicator light (Remains on) ABSORBER CONTROL INDICATOR LIGHT REMAINS ON 
      Absorber control indicator light (Does not come on) ABSORBER CONTROL INDICATOR LIGHT DOES NOT COME ON 
      TS and CG terminal circuit TS AND CG TERMINAL CIRCUIT 
      Fig 2: Blinking Pattern In Test Mode
      G05296373Courtesy of © TOYOTA, LICENSE AGREEMENT TMS1002
    4. Check absorber control actuator operation. Starting from the above mentioned position, as the brake pedal is depressed, the absorber control actuator position will increase by 2 steps (1 (SOFT) → 3 → 5 → 7 → 9 → 11 → 15 → 17 (HARD)). At this time, bounce the vehicle and check that the shock absorber is becoming harder.

      HINT:

      • To hold the absorber control actuator at a specific position, adjust it using the above mentioned procedure, then increase the vehicle speed to 3 mph (5 km/h).

        After that, the absorber control actuator position does not change until the engine switch is turned off.

      • If the absorber control actuator does not operate, inspect the absorber control actuator circuit and absorber control actuator installation condition.
      Fig 3: Checking Absorber Control Actuator Operation
      G05296374Courtesy of © TOYOTA, LICENSE AGREEMENT TMS1002
      REFERENCE CHART

      Trouble area See procedure
      Absorber control actuator circuit DTC C1725 FRONT DAMPING FORCE CONTROL ACTUATOR RH CIRCUIT; DTC C1726 FRONT DAMPING FORCE CONTROL ACTUATOR LH CIRCUIT; DTC C1727 REAR DAMPING FORCE CONTROL ACTUATOR RH 
      Absorber control actuator installation condition INSTALLATION
      SP-66
    5. Turn the engine switch off.
    6. Remove the SST from terminal TS and CG of the DLC3.
    7. Turn the engine switch on (IG).

      HINT:

      If the engine switch remains on (IG) after the SST is removed from DLC3, the vehicle will remain in the previously initialized Test Mode.