LEMON Manuals: Even more car manuals for everyone: 1960-2025
Home >> Lexus >> 2007 >> GS 430 >> Repair and Diagnosis >> Suspension >> Suspension Control Systems >> Suspension Control >> Front Acceleration Sensor >> Installation
April 5, 2026: LEMON Manuals is launched! Read the announcement.

Front Acceleration Sensor: Installation

NOTE:
  • Do not drop the acceleration sensor. If it is dropped, replace it with a new one.
  • The acceleration sensor removed from the vehicle must not be placed upside down.
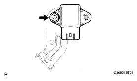
  1. INSTALL FRONT ACCELERATION SENSOR 
    1. Install the acceleration sensor to the bracket with the nut.

      Torque: 7.8 N*m (80 kgf*cm, 69 in.*lbf) 

      NOTE: Do not drop the sensor. If it is dropped, replace it with a new one.
      Fig 1: Locating Acceleration Sensor
      G05296518Courtesy of © TOYOTA, LICENSE AGREEMENT TMS1002
  2. INSTALL FRONT ACCELERATION SENSOR ASSEMBLY 
    1. Install the sensor with the nut.
      Fig 2: Locating Sensor With Nut
      G05296521Courtesy of © TOYOTA, LICENSE AGREEMENT TMS1002

      Torque: 8.5 N*m (87 kgf*cm, 75 in.*lbf) 

      NOTE: Do not drop the sensor. If it is dropped, replace it with a new one.
    2. Connect the sensor connector.
  3. INSTALL FRONT DOOR OPENING TRIM COVER LH (See  INSTALLATION  ) 
  4. INSTALL NO. 1 INSTRUMENT PANEL UNDER COVER SUB-ASSEMBLY (See  INSTALLATION  ) 
  5. INSTALL FRONT DOOR SCUFF PLATE LH (See  INSTALLATION  ) 
  6. CONNECT CABLE TO NEGATIVE BATTERY TERMINAL 
  7. INSPECT ADAPTIVE VARIABLE SUSPENSION SYSTEM 
    1. Inspect the adaptive variable suspension system (see DTC CHECK / CLEAR ).
  8. PERFORM INITIALIZATION 
    1. Perform initialization (see INITIALIZATION ).
      NOTE: Certain systems need to be initialized after disconnecting and reconnecting the cable from the negative (-) battery terminal.