LEMON Manuals: Even more car manuals for everyone: 1960-2025
Home >> Lexus >> 2007 >> GS 430 >> Repair and Diagnosis >> Transmission >> Automatic Trans >> Automatic Transaxle >> Automatic Transmission Unit >> Inspection
April 5, 2026: LEMON Manuals is launched! Read the announcement.

Automatic Transmission Unit: Inspection

  1. INSPECT 1ST AND REVERSE BRAKE RETURN SPRING SUB-ASSEMBLY 
    1. Using vernier calipers, measure the free length of the spring together with the spring seat.

      Standard free length: 

      23.74 mm (0.935 in.) 

      If the free length is shorter than the standard free length, replace the brake piston return spring sub-assembly.

    Fig 1: Measuring Free Length Of 1st And Reverse Brake Return Spring
    G05294939Courtesy of © TOYOTA, LICENSE AGREEMENT TMS1002
  2. INSPECT REAR PLANETARY GEAR ASSEMBLY 
    1. Using a feeler gauge, measure the rear planetary gear pinion thrust clearance.

      Standard clearance: 

      0.2 to 0.6 mm (0.008 to 0.024 in.) 

      If the clearance is greater than the standard clearance, replace the planetary gear assembly.

      Fig 2: Measuring Rear Planetary Gear Pinion Thrust Clearance
      G05295544Courtesy of © TOYOTA, LICENSE AGREEMENT TMS1002
    2. Using a dial indicator, measure the inside diameter of the rear planetary gear bushing.

      Standard inside diameter: 

      20.025 mm (0.7884 in.) 

      If the inside diameter is greater than the standard inside diameter, replace the rear planetary gear assembly.

    Fig 3: Measuring Inside Diameter Of Rear Planetary Gear Bushing
    G05295545Courtesy of © TOYOTA, LICENSE AGREEMENT TMS1002
  3. INSPECT PACK CLEARANCE OF 1ST AND REVERSE BRAKE PISTON 
    1. Make sure that the 1st and reverse brake piston moves smoothly when pulling and releasing the compressed air gun lever while applying compressed air into the transmission case.
      Fig 4: Inspecting Pack Clearance Of 1st And Reverse Brake Piston
      G05294942Courtesy of © TOYOTA, LICENSE AGREEMENT TMS1002
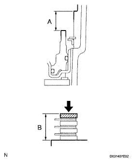
    2. Using vernier calipers, measure the level difference (length A) between the upper surface of the brake apply tube and the hitting surface of the brake flange No.4 at both ends across the 1st and reverse brake piston diameter, and calculate the average.
      NOTE: The 1st and reverse brake piston must be securely installed to the end face of the transmission case.

      HINT:

      Length A = 22.05 to 22.91 mm (0.8681 to 0.9020 in.)

      Fig 5: Identifying Level Difference Between Brake Apply Tube Upper Surface And Brake Flange Hitting Surface
      G05289922Courtesy of © TOYOTA, LICENSE AGREEMENT TMS1002
    3. Using vernier calipers, measure the thickness (length B) of the brake flanges, the 4 brake plates No.4 and the 4 brake discs No.4 altogether at the both ends across a diameter, and calculate the average.

      HINT:

      Length B = 23.11 to 23.89 mm (0.9098 to 0.9405 in.)

      Pack Clearance = Length A - Length B - 0.22 mm (0.0087 in.) + 1.8 mm (0.071 in.)

      Pack Clearance: 

      0.4 to 0.7 mm (0.016 to 0.028 in.) 

    4. If the pack clearance is outside the standard, select and install a brake flange that brings the pack clearance to be within the standard.

      HINT:

      There are 8 types of flanges that can be used to adjust the pack clearance. Select the one with the most appropriate thickness.

      Thickness H 

      FLANGE THICKNESS SPECIFICATION

      NO. Thickness H NO. Thickness H
      0 0 mm (0 in.) 8 0.8 mm (0.03150 in.)
      2 0.2 mm (0.00787 in.) 10 1.0 mm (0.03937 in.)
      4 0.4 mm (0.01575 in.) 12 1.2 mm (0.04724 in.)
      6 0.6 mm (0.02362 in.) 14 1.4 mm (0.05512 in.)
    Fig 6: Identifying Thickness Of Brake Flanges
    G05294944Courtesy of © TOYOTA, LICENSE AGREEMENT TMS1002
  4. INSPECT BRAKE DISC NO.4 
    1. Check whether the sliding surfaces of the discs, the plates, and the flange are worn or burnt. If necessary, replace them.
      NOTE:
      • If the linings of the discs are peeled off or discolored, or if any part of the printed numbers is damaged, replace all discs.
      • Before assembling new discs, soak them in ATF for at least 15 minutes.
    Fig 7: Identifying Brake Disc No 4
    G05295885Courtesy of © TOYOTA, LICENSE AGREEMENT TMS1002
  5. INSPECT INTERMEDIATE SHAFT 
    1. Using a dial indicator, check the intermediate shaft runout.

      Standard runout: 

      0.03 mm (0.0012 in.) 

      If the bend exceeds the specification, replace the intermediate shaft with a new one.

      Fig 8: Checking Intermediate Shaft Runout
      G05294946Courtesy of © TOYOTA, LICENSE AGREEMENT TMS1002
    2. Using a micrometer, check the outer diameter of the intermediate shaft at each point shown in the diagram.

      Standard diameter: 

      A: 

      25.962 to 25.975 mm (1.022 to 1.023 in.) 

      B: 

      25.962 to 25.975 mm (1.022 to 1.023 in.) 

      C: 

      32.062 to 32.075 mm (1.262 to 1.263 in.) 

      D: 

      32.062 to 32.075 mm (1.262 to 1.263 in.) 

      If the outer diameter is outside the standard, replace the intermediate shaft with a new one.

    Fig 9: Checking Outer Diameter Of Intermediate Shaft
    G04963574Courtesy of © TOYOTA, LICENSE AGREEMENT TMS1002
  6. INSPECT REAR PLANETARY RING GEAR FLANGE SUB-ASSEMBLY 
    1. Using a dial indicator, measure the inside diameter of the rear planetary ring gear bushing.

      Standard inside diameter: 

      32.19 mm (1.2673 in.) 

      If the inside diameter is greater than the standard inside diameter, replace the rear planetary ring gear.

    Fig 10: Measuring Inside Diameter Of Rear Planetary Ring Gear Bushing
    G05288443Courtesy of © TOYOTA, LICENSE AGREEMENT TMS1002
  7. INSPECT 1 WAY NO.3 CLUTCH ASSEMBLY 
    1. Hold the rear planetary ring gear flange sub assembly and turn the 1 way clutch assembly.
    2. Check the 1 way clutch assembly turns freely counterclockwise and locks clockwise.

      If there is a problem with the 1 way clutch, replace the 1 way clutch.

    Fig 11: Checking 1 Way No 3 Clutch Assembly
    G05294949Courtesy of © TOYOTA, LICENSE AGREEMENT TMS1002
  8. INSPECT CENTER PLANETARY GEAR ASSEMBLY 
    1. Using a feeler gauge, measure the center planetary gear pinion thrust clearance.

      Standard clearance: 

      0.12 to 0.68 mm (0.005 to 0.027 in.) 

      If the clearance is greater than the standard clearance, replace the center planetary gear assembly.

    Fig 12: Measuring Center Planetary Gear Pinion Thrust Clearance
    G05294950Courtesy of © TOYOTA, LICENSE AGREEMENT TMS1002
  9. INSPECT BRAKE DISC NO.2 
    1. Check whether the sliding surfaces of the discs, the plates, and the flange are worn or burnt. If necessary, replace them.
      NOTE:
      • If the linings of the discs are peeled off or discolored, or if any part of the printed numbers is damaged, replace all discs.
      • Before assembling new discs, soak them in ATF for at least 15 minutes.
    Fig 13: Identifying Brake Disc No 2
    G05295885Courtesy of © TOYOTA, LICENSE AGREEMENT TMS1002
  10. INSPECT BRAKE PISTON RETURN SPRING SUB-ASSEMBLY NO.2 
    1. Using vernier calipers, measure the free length of the spring together with the spring seat.

      Standard free length: 

      22.66 mm (0.8921 in.) 

      If the free length is shorter than the standard free length, replace the brake piston return spring sub-assembly No.2.

    Fig 14: Measuring Free Length Of Brake Piston Return Spring
    G05294952Courtesy of © TOYOTA, LICENSE AGREEMENT TMS1002
  11. INSPECT PISTON STROKE OF BRAKE PISTON NO.2 
    1. Inspect the piston stroke of the brake piston No.2.
      1. Make sure that the brake piston No.2 moves smoothly when pulling and releasing the compressed air gun lever while applying compressed air into the transmission case.
        Fig 15: Inspecting Piston Stroke Of Brake Piston No 2
        G05294953Courtesy of © TOYOTA, LICENSE AGREEMENT TMS1002
      2. Using SST and a dial indicator, measure the moving distance (distance A) of the clutch disc at the both ends across a diameter while blowing air from the oil hole as shown in the illustration, and calculate the average.

        SST 09350-30020 (09350-06120) 

        Piston Stroke: 

        0.6 to 0.9 mm (0.024 to 0.035 in.) 

      3. If the piston stroke is outside the standard, select and install a brake flange that brings the piston stroke within the standard.

        HINT:

        There are 7 types of flanges that can be used to adjust the pack clearance. Select one with the most appropriate thickness.

      Flange thickness 

      FLANGE THICKNESS SPECIFICATION

      No. Thickness
      0 2.0 mm (0.079 in.)
      1 2.1 mm (0.083 in.)
      2 2.2 mm (0.087 in.)
      3 2.3 mm (0.091 in.)
      4 2.4 mm (0.094 in.)
      5 2.5 mm (0.098 in.)
      6 2.6 mm (0.102 in.)
      7 2.7 mm (0.106 in.)
      Fig 16: Measuring Moving Distance Of Clutch Disc
      G05289933Courtesy of © TOYOTA, LICENSE AGREEMENT TMS1002
  12. INSPECT BRAKE PISTON RETURN SPRING SUB-ASSEMBLY 
    1. Using vernier calipers, measure the free length of the spring together with the spring seat.

      Standard free length: 

      17.05 mm (0.671 in.) 

      If the free length is shorter than the standard free length, replace the brake piston return spring sub-assembly.

    Fig 17: Measuring Free Length Of Brake Piston Return Spring
    G05294955Courtesy of © TOYOTA, LICENSE AGREEMENT TMS1002
  13. INSPECT FRONT PLANETARY GEAR ASSEMBLY 
    1. Using a feeler gauge, measure the front planetary pinion gear thrust clearance.

      Standard clearance: 

      0.20 to 0.60 mm (0.008 to 0.024 in.) 

      If the clearance is greater than the standard clearance, replace the front planetary gear assembly.

      Fig 18: Measuring Front Planetary Pinion Gear Thrust Clearance
      G05294956Courtesy of © TOYOTA, LICENSE AGREEMENT TMS1002
    2. Using a dial indicator, measure the inside diameter of the front planetary gear bushing.

      Standard inside diameter: 

      57.43 mm (2.261 in.) 

      If the inside diameter is greater than the maximum inside diameter, replace the front planetary gear assembly.

    Fig 19: Measuring Inside Diameter Of Front Planetary Gear Bushing
    G05294957Courtesy of © TOYOTA, LICENSE AGREEMENT TMS1002
  14. INSPECT 1 WAY CLUTCH ASSEMBLY 
    1. Install the 1 way clutch assembly to 1 way clutch inner race.
    2. Hold the 1 way clutch inner race and turn the 1 way clutch assembly.
    3. Check that the 1 way clutch assembly turns freely counterclockwise and locks clockwise.

      If there is a problem with the 1 way clutch, replace the 1 way clutch.

    4. Remove the 1 way clutch assembly from the 1 way clutch inner race.
    Fig 20: Inspecting 1 Way Clutch Assembly
    G05294958Courtesy of © TOYOTA, LICENSE AGREEMENT TMS1002
  15. INSPECT PISTON STROKE OF BRAKE PISTON NO.1 
    1. Inspect the piston stroke of brake piston No. 1.
      1. Make sure the brake piston No.1 moves smoothly when pulling and releasing the compressed air gun lever while applying compressed air into the transmission case.
        Fig 21: Inspecting Piston Stroke Of Brake Piston No 1
        G05294959Courtesy of © TOYOTA, LICENSE AGREEMENT TMS1002
      2. Using vernier calipers, measure the level difference (length A) between the upper surface of the brake piston No.1 and the hitting surface of the brake flange No.1 at both ends across the brake piston No.1 diameter.
      3. Using vernier calipers, measure the thickness (length B) of the brake flange, the 3 brake plates No.1 and the 3 brake discs No.1 altogether at the both ends across a diameter, and calculate the average.

        HINT:

        Length A = 15.29 to 15.77 mm (0.6020 to 0.6209 in.)

        Length B = 14.72 to 15.12 mm (0.5795 to 0.5953 in.)

        Piston stroke = Length A - Length B

        Piston stroke: 

        0.42 to 0.72 mm (0.017 to 0.028 in.) 

        If the piston stroke is outside the specification, parts may have been assembled incorrectly, so check and reassemble again.

        If the piston stroke is still outside the specification range, select another flange that brings the piston stroke within the specification.

        HINT:

        There are 4 different thickness for the flange that brings the piston stroke within the specification.

      Flange thickness 

      FLANGE THICKNESS SPECIFICATION

      No. Thickness
      0 2.0 mm (0.079 In.)
      1 2.2 mm (0.087 In.)
      2 2.4 mm (0.094 In.)
      3 2.6 mm (0.102 In.)
    Fig 22: Identifying Level Difference Between Brake Piston Upper Surface And Brake Flange Hitting Surface
    G05289939Courtesy of © TOYOTA, LICENSE AGREEMENT TMS1002
  16. INSPECT BRAKE DISC NO.1 
    1. Check whether the sliding surfaces of the discs, the plates, or the flange are worn or burnt. If necessary, replace them.
      NOTE:
      • If the linings of the discs are peeled off or discolored, or if any part of the groove is damaged, replace all discs.
      • Before assembling new discs, soak them in ATF for at least 15 minutes.
    Fig 23: Identifying Brake Disc No 1
    G05295885Courtesy of © TOYOTA, LICENSE AGREEMENT TMS1002
  17. INSPECT BRAKE PISTON RETURN SPRING SUB-ASSEMBLY NO.3 
    1. Using vernier calipers, measure the free length of the spring together with the spring seat.

      Standard free length: 

      15.72 mm (0.619 in.) 

      If the inside diameter is shorter than the standard free length, replace the brake piston return spring sub-assembly No.3.

    Fig 24: Measuring Free Length Of Brake Piston Return Spring
    G05294962Courtesy of © TOYOTA, LICENSE AGREEMENT TMS1002
  18. INSPECT 2ND BRAKE DISC SET 
    1. Check whether the sliding surfaces of the discs, the plates, or the flange are worn or burnt. If necessary, replace them.
      NOTE:
      • If the linings of the discs are peeled off or discolored, or if any part of the printed numbers is damaged, replace all discs.
      • Before assembling new discs, soak them in ATF for at least 15 minutes.
    Fig 25: Identifying Brake Disc
    G05294945Courtesy of © TOYOTA, LICENSE AGREEMENT TMS1002
  19. INSPECT 1 WAY NO.2 CLUTCH ASSEMBLY 
    1. Hold the reverse clutch hub and turn the 1 way No.2 clutch assembly.
    2. Check the 1 way No.2 clutch assembly turns freely clockwise and locks counterclockwise.

      If there is a problem with the 1 way clutch, replace the 1 way clutch.

    Fig 26: Checking 1 Way No 2 Clutch Assembly
    G05294964Courtesy of © TOYOTA, LICENSE AGREEMENT TMS1002
  20. INSPECT INDIVIDUAL PISTON OPERATION 
    1. Check the operating sound while applying compressed air into the oil holes indicated in the illustration.

      HINT:

      When inspecting the O/D direct clutch, check with the C3 accumulator piston hole closed.

      If there is no sound, disassemble and check the parts installation condition.

      1. Clutch No.2 (C2)
      2. Clutch No.4 (C4)
      3. Clutch No.3 (C3)
      4. Clutch No. 1 (C1)
      5. Brake No.3 (B3)
      6. Brake No. 1 (B1)
      7. Brake No.2 (B2)
      8. Brake No.4 (B4)
    Fig 27: Identifying Oil Holes
    G05289944Courtesy of © TOYOTA, LICENSE AGREEMENT TMS1002