LEMON Manuals: Even more car manuals for everyone: 1960-2025
Home >> Lexus >> 2007 >> GS 430 >> Repair and Diagnosis >> Transmission >> Automatic Trans >> Automatic Transaxle >> Shift Lock System >> On-Vehicle Inspection
April 5, 2026: LEMON Manuals is launched! Read the announcement.

On-Vehicle Inspection

  1. INSPECT SHIFT LOCK SYSTEM 
    1. Check the shift lock operation.
      1. Move the shift lever to the P position.
      2. Engine switch off.
      3. Check that the shift lever cannot be moved to any position other than P.
      4. Engine switch on (IG), depress the brake pedal and check that the shift lever can be moved to another position.

        If the operation cannot be done as specified, inspect the shift lock control unit.

    2. Check the shift lock release button operation.
      1. Using a screwdriver, remove the shift lock release cover.
      2. When operating the shift lever with the shift lock release button pressed, check that the lever can be moved to any position other than P.

        If the operation cannot be done as specified, check the shift lever assembly installation condition.

    3. Check the interlock operation.
      1. Engine switch on.
      2. Depress the brake pedal and adjust the shift lever to any position other than P.
    4. Inspect the shift lock control unit assembly.
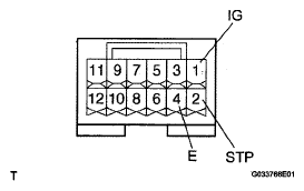
      1. Measure the voltage according to the value (s) in the table below.

        HINT:

        Do not disconnect the shift lock control unit assembly connector.

        Fig 1: Identifying Shift Lock Control Unit Connector Terminals
        G05294790Courtesy of © TOYOTA, LICENSE AGREEMENT TMS1002
        VOLTAGE SPECIFICATION

        Terminal Measuring Condition Voltage (V)
        2 (STP) - 4 (E) Depress brake pedal 10 to 14
        2 (STP) - 4 (E) Release brake pedal Below 1
        1 (IG) - 4 (E) Engine switch on (IG) 10 to 14
        1 (IG) - 4 (E) Engine switch off Below 1
      2. Measure the resistance according to the value in the table below.

        HINT:

        Do not disconnect the shift lock control unit assembly connector.

        If the operation cannot be done as specified, replace the shift lever assembly.

    Fig 2: Identifying Shift Lock Control Unit Connector Terminals
    G05295392Courtesy of © TOYOTA, LICENSE AGREEMENT TMS1002
    RESISTANCE SPECIFICATION

    Terminal Measuring Condition Specified Value
    4 (E) - Body ground Always Below 1 Ω